GM Service Manual Online
For 1990-2009 cars only

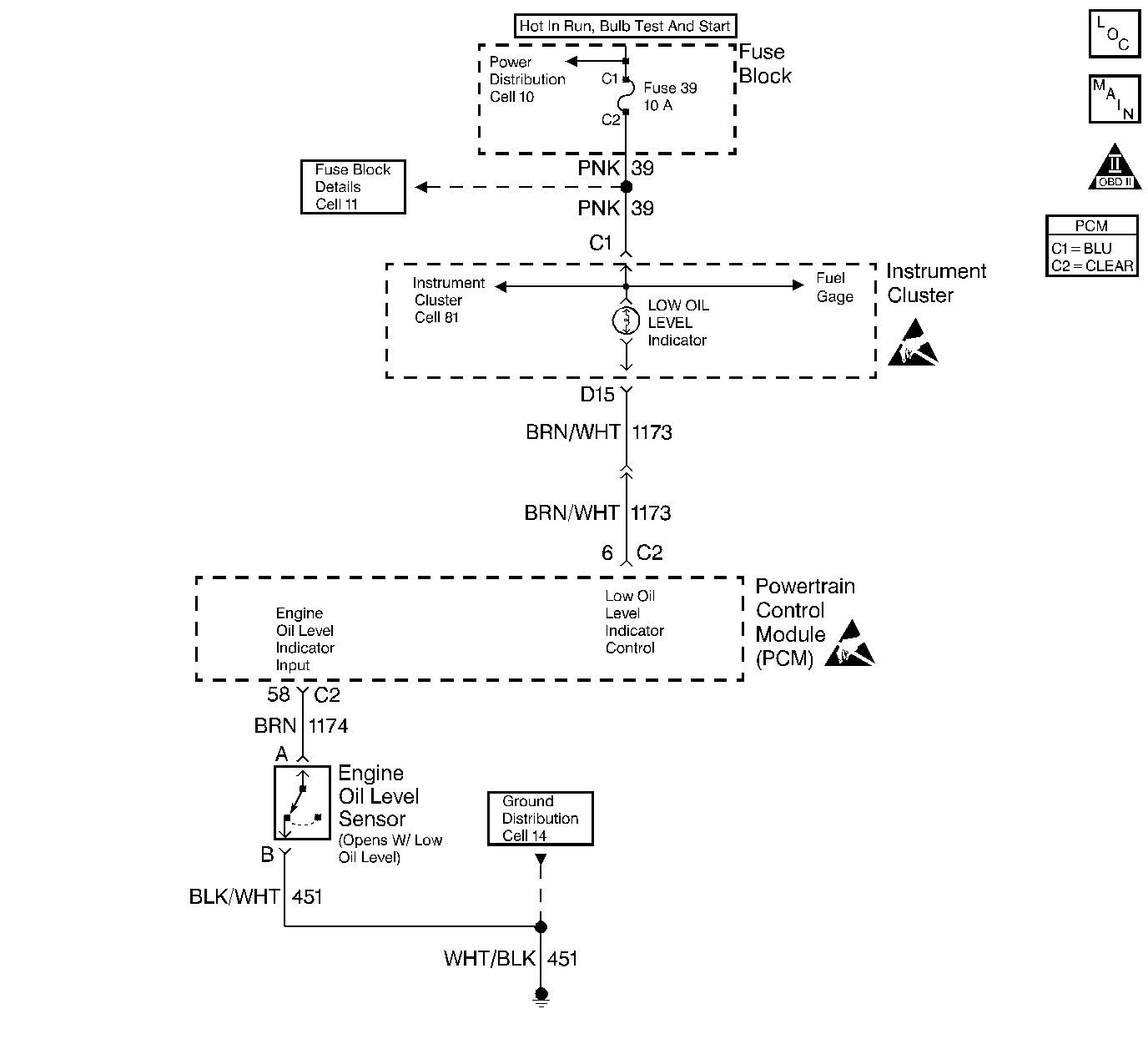
Object Number: 235365  Size: LF
Engine Controls Components
Indicator Lamps
OBD II Symbol Description Notice
Handling ESD Sensitive Parts Notice
Handling ESD Sensitive Parts Notice

Circuit Description

The Engine Oil Level Switch is a simple float switch that is grounded when the engine oil level is OK. The PCM checks the Engine Oil Level switch circuit at startup. Before checking the state of the Engine Oil Level switch, the PCM performs a test routine based on time and engine coolant temperature to ensure that the engine oil has drained back into the sump. To test for low oil level at start-up, both of the following conditions must be present:

    •  The engine coolant temperature must be greater than 15°C (59°F).
    •  The engine coolant temperature at key ON must be at least 12°C (22°F) cooler than the engine coolant temperature at the last key OFF.

Diagnostic Aids

For diagnosis of the instrument panel, perform the System Check in the Instrument Cluster section of Electrical Diagnosis.

Check for the following conditions:

    •  Poor connection at PCM or oil level switch. Inspect harness connectors for backed out terminals, improper mating, broken locks, improperly formed or damaged terminals, and poor terminal to wire connection. Refer to Intermittents and Poor Connections Diagnosis and Connector Repairs and Wiring Repairs .
    •  Damaged harness. Inspect the wiring harness for damage. If the harness appears to be OK, disconnect the PCM and turn the ignition ON. Observe a voltmeter connected to the affected PCM output circuit while moving connectors and wiring harnesses related to the PCM output circuit. A change in voltage will indicate the location of the fault. Refer to Intermittents and Poor Connections Diagnosis and Connector Repairs and Wiring Repairs .

Test Description

The numbers below refer to the step numbers on the Diagnostic Table.

  1. Normally, ignition feed voltage should be present on the output driver circuit with the PCM disconnected and the ignition turned on.

  2. Checks for a shorted component or a short to battery positive voltage on the output driver circuit. Either condition would result in a measured current of over 1.5 amps. Also checks for a component that is going open while being operated, resulting in a measured current of 0 amps.

  3. Checks for a faulty instrument cluster.

  4. This vehicle is equipped with a PCM which utilizes an Electrically Erasable Programmable Read Only Memory (EEPROM). When the PCM is being replaced, the new PCM must be programmed. Refer to Powertrain Control Module Replacement/Programming .

Step

Action

Values

Yes

No

1

Was the Powertrain On Board Diagnostic (OBD) System Check performed?

--

Go to Step 2

Go to Powertrain On Board Diagnostic (OBD) System Check

2

Was the Instrument Cluster Diagnostic System Check performed?

--

Go to Step 3

Go to Instrument Cluster System Check

3

  1. Turn off the ignition switch, disconnect the PCM.
  2. Turn on the ignition switch.
  3. Using DMM (J 39200), measure voltage between the affected PCM output circuit at the PCM harness connector and ground.

Is the voltage near the specified value?

B+

Go to Step 4

Go to Step 7

4

  1. Set up DMM to measure 10 amp range.
  2. Measure current between the affected PCM output circuit and ground.
  3. Monitor the current reading on the DMM for at least 2 minutes.

Does the current reading remain between the specified values?

0.05 amp 1.5 amps

Go to Step 12

Go to Step 5

5

  1. Disconnect the instrument panel cluster (leave the PCM disconnected).
  2. Using DMM, measure voltage between the affected PCM output circuit and ground.

Is voltage at the specified value?

0.0V

Go to Step 15

Go to Step 6

6

Locate and repair short to voltage in affected PCM output circuit.

Is the action complete?

--

Go to Step 17

--

7

Check the ignition feed fuse for the instrument panel cluster indicator lamps.

Is the fuse blown?

--

Go to Step 8

Go to Step 9

8

  1. Locate and repair short to ground in ignition feed circuit for the instrument panel cluster indicator lamps. Refer to Wiring Repairs in Wiring Systems.
  2. Replace the fuse.

Is the action complete?

--

Go to Step 17

--

9

  1. Disconnect the instrument panel cluster.
  2. Turn on the ignition switch, measure voltage between the ignition feed circuit for the instrument panel cluster indicator lamps and ground.

Is the voltage near the specified value?

B+

Go to Step 10

Go to Step 14

10

  1. Check the affected PCM output circuit for an open or a short to ground.
  2. If a problem is found, repair the affected PCM output circuit. Refer to Wiring Repairs in Wiring Systems.

Was a problem found?

--

Go to Step 17

Go to Step 11

11

  1. Check the affected PCM output circuit and the ignition feed circuit for a poor connection at the instrument panel cluster and at the PCM.
  2. If a problem is found, replace faulty terminals. Refer to Connector Repairs in Wiring Systems.

Was a problem found?

--

Go to Step 17

Go to Step 15

12

  1. Turn off the ignition switch, reconnect the PCM and disconnect the instrument panel cluster.
  2. Turn on the ignition switch, connect a test light between the affected PCM output circuit and the ignition feed circuit at the instrument panel cluster harness connector.
  3. Using the scan tool outputs test function, cycle the affected lamp on and off.

Does the test light flash on and off?

--

Go to Diagnostic Aids

Go to Step 13

13

  1. Check the affected PCM output circuit for a poor connection at the PCM.
  2. If a problem is found, replace faulty terminal. Refer to Connector Repairs in Wiring Systems.

Was a problem found?

--

Go to Step 17

Go to Step 16

14

Locate and repair open in ignition feed circuit to the instrument panel cluster indicator lamps. Refer to Wiring Repairs in Wiring Systems.

Is the action complete?

--

Go to Step 17

--

15

Replace the instrument panel cluster. Refer to Instrument Cluster Replacement in Instrument Panel, Gauges, and Console.

Is the action complete?

--

Go to Step 17

--

16

Important: : The new PCM must be programmed.

Replace the PCM. Refer to Powertrain Control Module Replacement/Programming .

Is the action complete?

--

Go to Step 17

--

17

Operate the affected lamp using the scan tool output tests function.

Does the affected lamp operate properly?

--

System OK

Go to Step 2