GM Service Manual Online
For 1990-2009 cars only

Removal Procedure


    Object Number: 179421  Size: SH
  1. Remove the driver's side instrument panel insulator. Refer to Instrument Panel Insulator Replacement in Instrument Panel, Gauges and Console.
  2. Remove the stoplamp switch. Refer to Stop Lamp Switch Replacement .
  3. Remove the cruise control release switch (if equipped). Refer to Cruise Control Release Switch Replacement in Cruise Control.
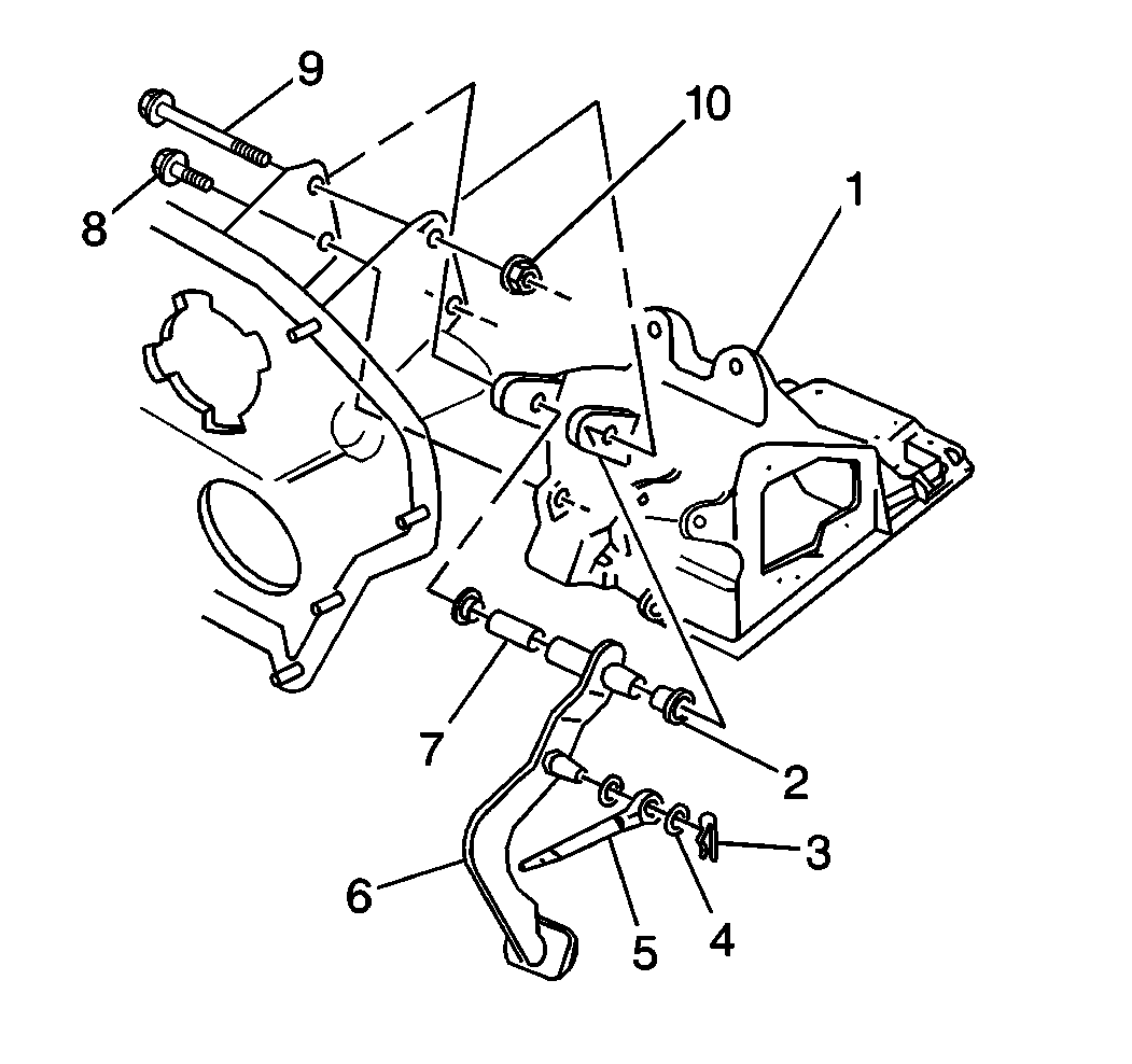
  4. Remove the wiring harness clips.
  5. Remove the master cylinder pushrod retaining clip (3) at the brake pedal.
  6. Remove the brake pedal mounting nut (10) and bolt (9).
  7. Remove the brake pedal assembly (6).
  8. Remove the brake pedal bushings (2, 7), if necessary.
  9. Clean all the parts with a suitable solvent.
  10. Inspect all the parts for wear. Repair or replace any damaged parts.

Installation Procedure


    Object Number: 179421  Size: SH
  1. Install the brake pedal bushings (2, 7), if removed.
  2. Install the brake pedal assembly (6).
  3. Notice: Use the correct fastener in the correct location. Replacement fasteners must be the correct part number for that application. Fasteners requiring replacement or fasteners requiring the use of thread locking compound or sealant are identified in the service procedure. Do not use paints, lubricants, or corrosion inhibitors on fasteners or fastener joint surfaces unless specified. These coatings affect fastener torque and joint clamping force and may damage the fastener. Use the correct tightening sequence and specifications when installing fasteners in order to avoid damage to parts and systems.

  4. Install the brake pedal mounting nut (10) and bolt (9).
  5. Tighten
    Tighten the brake pedal mounting nut and bolt to 40 N·m (30 lb ft).

  6. Install the master cylinder pushrod retaining clip (3) at the brake pedal.
  7. Install the wiring harness clips.
  8. Install the cruise control release switch (if equipped). Refer to Cruise Control Release Switch Replacement in Cruise Control.
  9. Install the stoplamp switch. Refer to Stop Lamp Switch Replacement .
  10. Install the driver's side instrument panel insulator. Refer to Instrument Panel Insulator Replacement in Instrument Panel, Gauges and Console.