GM Service Manual Online
For 1990-2009 cars only

Disassembly Procedure

  1. Remove the caliper. Refer to Rear Brake Caliper Replacement .

  2. Object Number: 180941  Size: SH

    Caution: Do not place fingers in front of the caliper piston(s) in an attempt to catch or protect it when applying compressed air. The piston(s) can fly out with force and could result in serious bodily injury.

  3. Remove the piston. Blow compressed air into the caliper inlet hole. The piston will come out through the piston boot. An alternate method of piston removal is to use a spanner-type tool in the slots in the end of the piston. This method will thread the piston out of the caliper.

  4. Object Number: 180944  Size: SH

    Notice: Use clean cloths to pad interior of caliper housing during piston removal. Use just enough air to ease the pistons out of the bores. If the pistons are blown out, even with the padding provided, it may be damaged.

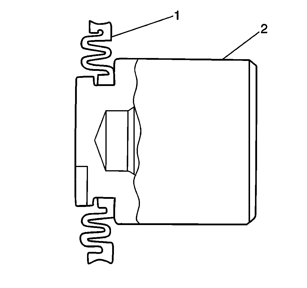
  5. Remove the boot ring (4). Use a small screwdriver in order to lift one end of the boot ring. Manipulate the ring out of the caliper groove.

  6. Object Number: 180951  Size: SH
  7. Remove the piston boot.

  8. Object Number: 180953  Size: MH
  9. Use a small wooden or plastic tool in order to remove the piston seal (8) from the groove (9) in the caliper body.
  10. Remove the bleeder valve cap (1) and the bleeder valve (2) from the caliper housing.

  11. Object Number: 180946  Size: SH
  12. If the return spring (3) requires replacement, complete the following steps in order to remove the spring:
  13. 7.1. Disengage the return spring from the parking brake lever (4) using a screwdriver.
    7.2. Unhook the spring from the stopper pin (2).

    Object Number: 180931  Size: MH
  14. Remove the following components from the caliper (9):
  15. • The pin boot (2)
    • The bolt boot (1)
  16. Remove the following components from the caliper support (5):
  17. • The bolt sleeve (10)
    • The sleeve boot (8)
    • The pin bolt (2)
    • The pin sleeve (4)

    Object Number: 180953  Size: MH
  18. Clean all the parts in clean, denatured alcohol.
  19. Dry all the parts with non-lubricated, low pressure compressed air.
  20. Blow out all the passages in the caliper housing (3) and the bleeder valve (2).
  21. Inspect the piston (6) for the following conditions. Replace the piston as necessary:
  22. • Scoring
    • Nicks
    • Wear
    • Corrosion
  23. Inspect the piston bore (9) for the following conditions. Use a crocus cloth in order to polish out light corrosion:
  24. • Scoring
    • Nicks
    • Corrosion
    • Wear
  25. Replace the caliper housing (3) if the corrosion that is in and around the seal groove cannot be removed with a crocus cloth. Do not hone the caliper bore.
  26. Inspect the boots for the following conditions. Replace any damaged boots:
  27. • Cuts
    • Tears
    • Deterioration
  28. Inspect the bolt sleeve for corrosion or damage. Replace any corroded sleeves. Do not attempt to polish away corrosion.

Assembly Procedure


    Object Number: 180931  Size: MH
  1. Lubricate the pin sleeve OD (4) with silicone grease.
  2. Notice: Use the correct fastener in the correct location. Replacement fasteners must be the correct part number for that application. Fasteners requiring replacement or fasteners requiring the use of thread locking compound or sealant are identified in the service procedure. Do not use paints, lubricants, or corrosion inhibitors on fasteners or fastener joint surfaces unless specified. These coatings affect fastener torque and joint clamping force and may damage the fastener. Use the correct tightening sequence and specifications when installing fasteners in order to avoid damage to parts and systems.

  3. Install the pin bolt (3) and the pin sleeve (4) into the caliper support (5).
  4. Tighten
    Tighten the pin bolt to 27 N·m (20 lb ft).

  5. Lubricate the sleeve boot (8) with silicone grease.
  6. Compress the lip of the sleeve boot.
  7. Push the boot all the way through the caliper (9) until the lip emerges and seats on the inboard face of the caliper ear.
  8. Lubricate the bolt sleeve with silicone grease.
  9. Push the bolt sleeve in through the lip end of the boot until the boot seats in the sleeve groove at the other end.
  10. Install the bolt boot (1) into the caliper.
  11. Push the small end of the pin boot (2) onto the pin sleeve (4) on the caliper support until the boot seats in the pin groove.

  12. Object Number: 180946  Size: SH
  13. If the lever return spring is being replaced, install the new lever return spring. Position the return spring (3) with the hook end around the stopper pin (2). Pry the other end of the return spring over the parking brake lever (4).

  14. Object Number: 180953  Size: MH
  15. Install the bleeder valve (2) into the caliper housing.
  16. Tighten
    Tighten the bleeder valve to 11 N·m (97 lb in).

  17. Install the bleeder valve cap (1) onto the bleeder valve.
  18. Lubricate a new piston seal (5) with clean brake fluid.
  19. Install the piston seal into the caliper bore grooves (9). Ensure that the piston seal is not twisted.
  20. Install the piston boot (7) onto the piston (6).

  21. Object Number: 180938  Size: SH
  22. Lubricate the piston OD with clean brake fluid.
  23. Install the piston (3) and the boot (4) into the bore of the caliper (2). Complete the following steps:
  24. 16.1. Start threading the piston into the caliper bore by hand.
    16.2. Screw the piston into the caliper bore using a spanner-type tool in the slots (1) at the end of the piston.

    Object Number: 180953  Size: MH
  25. Install the boot ring (8).
  26. 17.1. Ensure that the outside edge of the piston boot (7) is seated smoothly in the counterbore of the caliper body (9).
    17.2. Manipulate the boot ring (8) into the groove near the open end of the caliper bore. Do not pinch the piston boot between the boot ring and the caliper body.
    17.3. Lift the inner edge of the piston boot next to the piston. Press out any trapped air. Ensure that the boot lies flat.
  27. Install the caliper. Refer to Rear Brake Caliper Replacement .