GM Service Manual Online
For 1990-2009 cars only
Makes
🢒
Chevrolet
🢒
1998
🢒
Monte Carlo
🢒
Body and Accessories
🢒
Roof
🢒 Sunroof Schematics
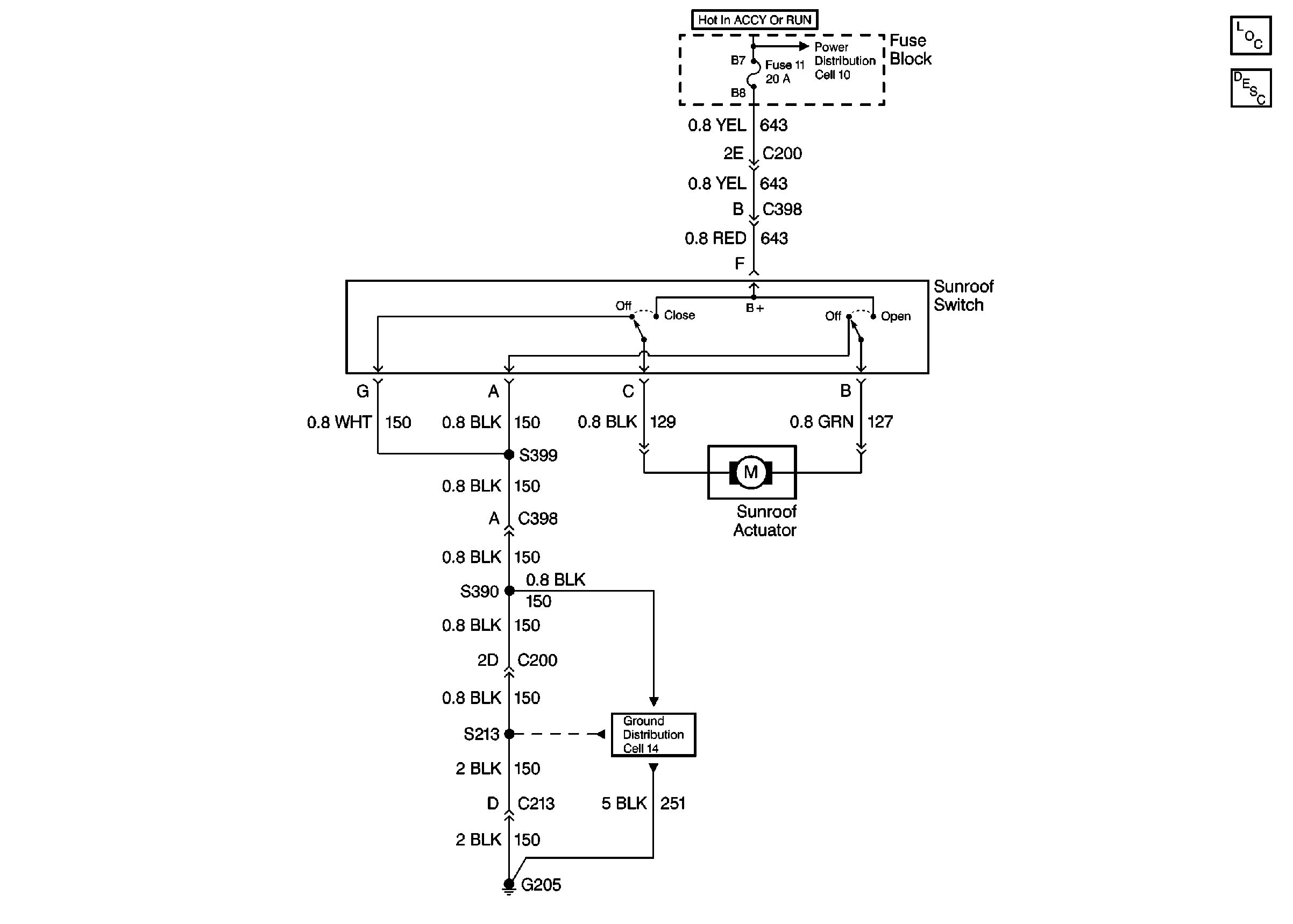
Cell 122: Power, Sunroof Switch/Actuator, Ground
Ground Distribution Schematics
Power Distribution Schematics
Power Roof Systems Components
Power Sunroof Circuit Description