GM Service Manual Online
For 1990-2009 cars only

SMU-SEC. 8A-81-A5 - REV. TABLE #1(ALL GAUGES & INDICATORS

REVISION: 06/24/98 DIVS INVL 1 7

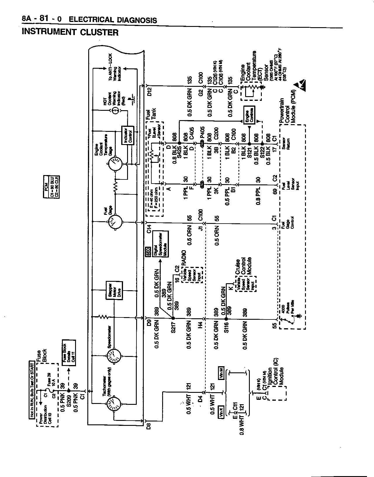
THIS BULLETIN IS BEING ISSUED TO REVISE THE INSTRUMENT CLUSTER SCHEMATICS AND TABLES IN SECTION 8A-81 OF THE SERVICE MANUAL. ______________________________________________________________________

SUBJECT: SERVICE MANUAL UPDATE - SECTION 8A-81 - REVISED INSTRUMENT CLUSTER SCHEMATICS AND TABLES

MODELS: 1998 CHEVROLET LUMINA, MONTE CARLO

THIS BULLETIN IS BEING ISSUED TO REVISE THE INSTRUMENT CLUSTER SCHEMATICS AND TABLES IN SECTION 8A-81 OF THE SERVICE MANUAL.

PLEASE USE THE ATTACHED PAGES TO REPLACE THE EXISTING PAGES IN THE 1998 SERVICE MANUAL.

FIGURES: 00 ATTACHMENTS: 08


Object Number: 336828  Size: FS


Object Number: 336830  Size: FS


Object Number: 336832  Size: FS


Object Number: 336834  Size: FS


Object Number: 336836  Size: FS


Object Number: 336838  Size: FS


Object Number: 336840  Size: FS


Object Number: 336842  Size: FS

GENERAL MOTORS BULLETINS ARE INTENDED FOR USE BY PROFESSIONAL TECHNICIANS, NOT A "DO-IT-YOURSELFER". THEY ARE WRITTEN TO INFORM THOSE TECHNICIANS OF CONDITIONS THAT MAY OCCUR ON SOME VEHICLES, OR TO PROVIDE INFORMATION THAT COULD ASSIST IN THE PROPER SERVICE OF A VEHICLE. PROPERLY TRAINED TECHNICIANS HAVE THE EQUIPMENT, TOOLS, SAFETY INSTRUCTIONS AND KNOW-HOW TO DO A JOB PROPERLY AND SAFELY. IF A CONDITION IS DESCRIBED, DO NOT ASSUME THAT THE BULLETIN APPLIES TO YOUR VEHICLE, OR THAT YOUR VEHICLE WILL HAVE THAT CONDITION. SEE A GENERAL MOTORS DEALER SERVICING YOUR BRAND OF GENERAL MOTORS VEHICLE FOR INFORMATION ON WHETHER YOUR VEHICLE MAY BENEFIT FROM THE INFORMATION.

COPYRIGHT 1998 GENERAL MOTORS CORPORATION. ALL RIGHTS RESERVED.

SUBJECT: SERVICE MANUAL UPDATE - SECTION 8A-81-15 - REVISED TABLE #1 (ALL GAUGES, AND INDICATORS INOP EXCEPT TURN SIGNALS, HIGH BEAM, SEATBELT INDICATORS AND ILLUMINATION LAMPS)

MODELS: 1998 CHEVROLET LUMINA, MONTE CARLO

THIS BULLETIN IS BEING ISSUED TO REVISE THE DIAGNOSTIC TABLE #1 (ALL GAUGES, AND INDICATORS INOP EXCEPT TURN SIGNALS, HIGH BEAM, SEATBELT INDICATORS AND ILLUMINATION LAMPS) ON PAGE 8A-81-15 OF THE SERVICE MANUAL.

STEP #4 SHOULD BE REVISED AND STEPS #6 AND #7 SHOULD BE ADDED AS FOLLOWS:

STEP #4 SHOULD ASK THE TECHNICIAN TO USE A TEST LIGHT AND PROBE BETWEEN THE INSTRUMENT CLUSTER HARNESS CONNECTOR TERMINAL C3 AND B+. THE YES BOX SHOULD GO TO STEP #6 AND THE NO BOX SHOULD GO TO STEP #7.

STEP #6 SHOULD HAVE THE TECHNICIAN REPLACE THE INSTRUMENT CLUSTER.

STEP #7 SHOULD HAVE THE TECHNICIAN REPAIR THE OPEN IN CIRCUIT 1550 BETWEEN THE INSTRUMENT CLUSTER HARNESS CONNECTOR TERMINAL C3 AND G201.

GENERAL MOTORS BULLETINS ARE INTENDED FOR USE BY PROFESSIONAL TECHNICIANS, NOT A "DO-IT-YOURSELFER". THEY ARE WRITTEN TO INFORM THOSE TECHNICIANS OF CONDITIONS THAT MAY OCCUR ON SOME VEHICLES, OR TO PROVIDE INFORMATION THAT COULD ASSIST IN THE PROPER SERVICE OF A VEHICLE. PROPERLY TRAINED TECHNICIANS HAVE THE EQUIPMENT, TOOLS, SAFETY INSTRUCTIONS AND KNOW-HOW TO DO A JOB PROPERLY AND SAFELY. IF A CONDITION IS DESCRIBED, DO NOT ASSUME THAT THE BULLETIN APPLIES TO YOUR VEHICLE, OR THAT YOUR VEHICLE WILL HAVE THAT CONDITION. SEE A GENERAL MOTORS DEALER SERVICING YOUR BRAND OF GENERAL MOTORS VEHICLE FOR INFORMATION ON WHETHER YOUR VEHICLE MAY BENEFIT FROM THE INFORMATION.

COPYRIGHT 1997 GENERAL MOTORS CORPORATION. ALL RIGHTS RESERVED.