GM Service Manual Online
For 1990-2009 cars only

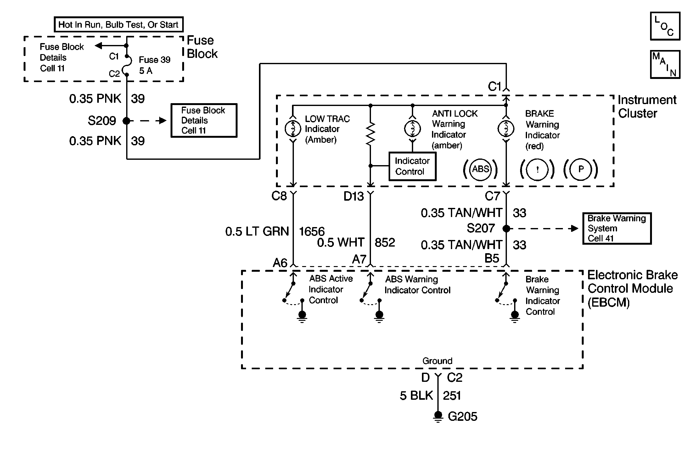
Object Number: 197849  Size: MF

Circuit Description

DTC C1213 tests the state of the ABS (LOW TRAC) active indicator. DTC C1213 identifies a situation in which the driver could not be warned of a low traction event by the ABS warning indicator, or the ABS warning indicator is always on. The EBCM provides a ground through CKT 1656 in order to turn the ABS warning indicator on. If the control line CKT 1656 is open or shorted to voltage the ABS indicator will always remain off. If the control line CKT 1656 is shorted to ground the ABS active indicator remains on when the ignition is in the RUN position.

Conditions for Setting the DTC

DTC C1213 sets only during one of the following conditions:

    • The three second bulb check
    • The indicator turns on.

A malfunction exists if the EBCM cannot control the ABS active (LOW TRAC) indicator for two seconds.

Action Taken When the DTC Sets

    • A malfunction DTC stores.
    • The ABS does not disable.

Conditions for Clearing the DTC

    • The condition responsible for setting the DTC no longer exists and the Scan Tool Clear DTC function is used.
    • 100 drive cycles pass with no DTC(s) detected.

Diagnostic Aids

The following conditions may cause an intermittent malfunction:

    • A poor connection
    • Rubbed-through wire insulation
    • A broken wire inside the insulation

Use the Scan Tool Lamp Test function in order to command the indicator on while looking for an intermittent malfunction in the ABS active (LOW TRAC) indicator circuitry.

Use the enhanced diagnostic function of the Scan Tool in order to measure the frequency of the malfunction. Refer to the Scan Tool manual for the procedure.

Thoroughly inspect any circuitry that may be causing the intermittent complaint for the following conditions:

    • Backed out terminals
    • Improper mating
    • Broken locks
    • Improperly formed or damaged terminals
    • Poor terminal-to-wiring connections
    • Physical damage to the wiring harness

Important: Zero the J 39200 test leads before making any resistance measurements. Refer to the J 39200 user's manual.

Step

Action

Value(s)

Yes

No

1

Was the Diagnostic System Check performed?

--

Go to Step 2

Go to Diagnostic System Check

2

  1. Turn the ignition switch to the OFF position.
  2. Install a Scan Tool .
  3. Turn the ignition switch to the RUN position.
  4. Do not start the engine.

  5. Select Special Functions on the Scan Tool .
  6. Select Lamp Test on the Scan Tool .
  7. Use the Scan Tool in order to attempt to turn the amber ABS warning indicator on and then off.

Can the ABS active indicator (LOW TRAC) be turned on and off?

--

Go to Step 21

Go to Step 3

3

  1. Turn the ignition switch to the OFF position.
  2. Remove the Scan Tool .
  3. Turn the ignition switch to the RUN position.
  4. Do not start the engine.

Does the ABS active indicator turn on and stay on?

--

Go to Step 4

Go to Step 7

4

  1. Turn the ignition switch to the OFF position.
  2. Disconnect the 24-way EBCM connector C1.
  3. Turn the ignition switch to the RUN position.
  4. Do not start the engine.

Does the ABS active indicator turn on?

--

Go to Step 16

Go to Step 5

5

  1. Turn the ignition switch to the OFF position.
  2. Inspect the 24-way EBCM connector C1 terminal A6 and then the remaining terminals for signs of the following conditions:
  3. • Damage
    • Poor terminal contact
    • Terminal corrosion

Are there signs of poor terminal contact, corrosion, or a damaged terminal?

--

Go to Step 17

Go to Step 6

6

  1. Reconnect the 24-way EBCM harness connector C1.
  2. Reconnect the Instrument Panel Cluster harness connector  (if the Instrument Panel Cluster harness connector is disconnected).
  3. Install a Scan Tool .
  4. Turn the ignition switch to the RUN position.
  5. Do not start the engine.

  6. Use the Scan Tool in order to read the DTCs.

Does DTC C1213 reset?

--

Go to Step 20

Go to Diagnostic System Check

7

  1. Turn the ignition switch to the OFF position.
  2. Turn the ignition switch to the RUN position.
  3. Do not start the engine.

  4. Observe the ABS and/or the BRAKE indicators.

Do the ABS and/or the BRAKE indicators turn on and then off?

--

Go to Step 8

Go to Step 11

8

  1. Turn the ignition switch to the OFF position.
  2. Disconnect the 24-way EBCM connector C1.
  3. Connect a fused jumper wire (such as a J 36169-A ) with a 3A fuse between the EBCM harness connector C1 terminal A6 and ground.
  4. Turn the ignition switch to the RUN position.
  5. Do not start the engine.

Does the ABS active indicator turn on?

--

Go to Step 5

Go to Step 9

9

  1. Turn the ignition switch to the OFF position.
  2. Remove the jumper wire.
  3. Disconnect the Instrument Panel Cluster harness connector.
  4. Use the J 39200 in order to measure the resistance between the 24-way EBCM harness connector C1 terminal A6 and the Instrument Panel Cluster harness connector terminal C8.

Is the resistance within the specified range?

0-2 ohms

Go to Step 10

Go to Step 18

10

  1. Turn the ignition switch to the RUN position.
  2. Do not start the engine.

  3. Use the J 39200 in order to measure the voltage between the 24-way EBCM harness connector C1 terminal A6 and ground.

Is the voltage within the specified range?

0-2 V

Go to Instrument Cluster System Check in Instrument Panel, Gauges, and Console

Go to Step 19

11

  1. Turn the ignition switch to the OFF position.
  2. Remove the fuse block Fuse 39 (5A).
  3. Inspect the fuse block Fuse 39 (5A).

Is the fuse block Fuse 39 (5A) open?

--

Go to Step 12

Go to Step 14

12

Use the J 39200 in order to measure the resistance between the fuse block terminal C2 and the ground.

Refer to Testing for Continuity in Wiring Systems.

Is the resistance within the specified range?

0-2 ohms

Go to Step 13

Go to Step 15

13

Repair the short to ground in CKT 39. Refer to Wiring Repairs in Wiring Systems.

Is the repair complete?

--

Go to Step 15

--

14

Repair the open in CKT 39. Refer to Wiring Repairs in Wiring Systems.

Is the repair complete?

--

Go to Diagnostic System Check

--

15

Replace the fuse block Fuse 39 (5A) with a known good Fuse (5A).

Is the repair complete?

--

Go to Diagnostic System Check

--

16

Repair the short to ground in CKT 1656. Refer to Wiring Repairs in Wiring Systems.

Is the repair complete?

--

Go to Diagnostic System Check

--

17

Repair the 24-way EBCM connector C1. Refer to Refer to Connector Repairs in Wiring Systems..

Is the repair complete?

--

Go to Step 6

--

18

Repair the open or high resistance in CKT 1656. Refer to Wiring Repairs in Wiring Systems.

Is the repair complete?

--

Go to Diagnostic System Check

--

19

Repair the short to voltage in CKT 1656. Refer to Wiring Repairs in Wiring Systems.

Is the repair complete?

--

Go to Diagnostic System Check

--

20

Replace the EBCM. Refer to Electronic Brake Control Module Replacement .

Is the repair complete?

--

Go to Diagnostic System Check

--

21

The malfunction is intermittent or is not present at this time.

Is the action complete?

--

Refer to Diagnostic Aids

--