GM Service Manual Online
For 1990-2009 cars only

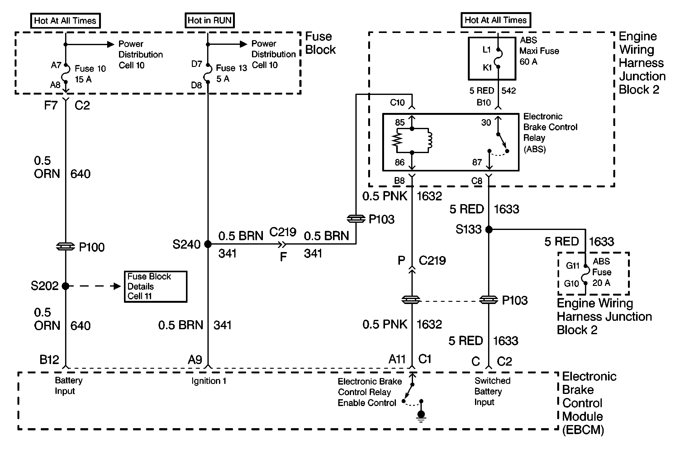
Object Number: 244771  Size: MF

Circuit Description

Ignition voltage is supplied through terminal C10 of the Electronic Brake Control Relay. The above condition enables the EBCM to energize the pulling coil by completing the ground circuit at connector C1 terminal A11 of the EBCM. The magnetic field created closes the Electronic Brake Control Relay contacts. The magnetic field also allows battery voltage and current through the Electronic Brake Control Relay terminal B10 to be supplied to the EBCM through connector C2 terminal C. Connector C2 terminal C supplies power to the motors and solenoids.

Conditions for Setting the DTC

DTC C1215 can set only before the EBCM commands the Electronic Brake Control Relay on.

DTC C1215 determines if the Electronic Brake Control Relay energizes when the Electronic Brake Control Relay should not energize. The above malfunction will not allow the Electronic Brake Control Relay to remove power to the ABS system.

If a second malfunction occurs, that requires the Electronic Brake Control Relay to turn off, the second malfunction cannot be removed if the Electronic Brake Control Relay cannot be controlled. The DTC sets if the malfunction is present for three consecutive drive cycles.

Action Taken When the DTC Sets

    • A malfunction DTC stores.
    • The ABS does not disable.

Conditions for Clearing the DTC

    • The condition responsible for setting the DTC no longer exists and the Scan Tool Clear DTCs function is used.
    • 100 drive cycles pass with no DTC(s) detected.

Diagnostic Aids

The following conditions may cause an intermittent malfunction:

    • A poor connection
    • Rubbed-through wire insulation
    • A broken wire inside the insulation

Use the enhanced diagnostic function of the Scan Tool in order to measure the frequency of the malfunction. Refer to the Scan Tool manual for the procedure.

Thoroughly inspect any circuitry that may be causing the intermittent complaint for the following conditions:

    • Backed out terminals
    • Improper mating
    • Broken locks
    • Improperly formed or damaged terminals
    • Poor terminal-to-wiring connections
    • Physical damage to the wiring harness

Clear the DTCs after completing the diagnosis. Test drive the vehicle for three drive cycles in order to verify that the DTC does not reset. Use the following procedure in order to complete one drive cycle:

  1. Start the vehicle.
  2. Drive the vehicle over 16 km/h (10 mph).
  3. Stop the vehicle.
  4. Turn the ignition to the OFF position.

Important: Zero the J 39200 test leads before making any resistance measurements. Refer to the J 39200 user's manual.

DTC C1215 Brake Control Contact CKT Active

Step

Action

Value(s)

Yes

No

1

Was the Diagnostic System Check performed?

--

Go to Step 2

Go to Diagnostic System Check

2

Are any other DTCs present?

--

Refer to the appropriate DTC table

Go to Step 3

3

  1. Turn the ignition switch to the OFF position.
  2. Install a Scan Tool .
  3. Turn the ignition switch to the RUN position.
  4. Do not start the engine.

  5. Use the Relay Test function of the Scan Tool to command the Electronic Brake Control Relay off.

Does the Scan Tool indicate that the Electronic Brake Control Relay is off and the battery voltage less than or equal to the specified voltage?

5 V

Go to Step 12

Go to Step 4

4

  1. Turn the ignition switch to the OFF position.
  2. Disconnect the 24-way EBCM connector C1.
  3. Disconnect the 8-way EBCM connector C2.
  4. Turn the ignition switch to the RUN position.
  5. Do not start the engine.

  6. Use the J 39200 in order to measure the voltage between the 8-way EBCM harness connector C2 terminal C and ground.

Is the voltage less than or equal to the specified voltage?

2 V

Go to Step 6

Go to Step 5

5

  1. Turn the ignition switch to the OFF position.
  2. Disconnect the Electronic Brake Control Relay.
  3. Turn the ignition switch to the RUN position.
  4. Do not start the engine.

  5. Use the J 39200 in order to measure the voltage between the 8-way EBCM harness connector C2 terminal C and ground.

Is the voltage less than or equal to the specified voltage?

2 V

Go to Step 10

Go to Step 9

6

  1. Turn the ignition switch to the OFF position.
  2. Inspect the following components:
  3. • The 8-way EBCM connector C2
    • 8-way EBCM harness connector C2
  4. Inspect for the following conditions:
  5. • Poor terminal contact
    • Corrosion
    • Damaged terminals.

Is there a condition that may cause a short to voltage?

--

Go to Step 8

Go to Step 7

7

  1. Reconnect the 24-way EBCM connector C1.
  2. Reconnect the 8-way EBCM connector C2.
  3. Turn the ignition switch to the RUN position.
  4. Do not start the engine.

  5. Use the Relay Test function of the Scan Tool to command the Electronic Brake Control Relay off.

Does the Scan Tool indicate that the Electronic Brake Control Relay is off and is the battery voltage less than or equal to the specified voltage?

5 V

Go to Step 12

Go to Step 11

8

Replace all of the terminals or the connectors that exhibit signs of poor terminal contact, corrosion, or damaged terminal(s).

Is the repair complete?

--

Go to Diagnostic System Check

--

9

Repair the short to voltage in CKT 1633. Refer to Wiring Repairs in Wiring Systems.

Is the repair complete?

--

Go to Diagnostic System Check

--

10

Replace the Electronic Brake Control Relay.

Is the repair complete?

--

Go to Diagnostic System Check

--

11

Replace the EBCM. Refer to Electronic Brake Control Module Replacement .

Is the repair complete?

--

Go to Diagnostic System Check

--

12

The malfunction is intermittent or not present at this time.

Is the action complete?

--

Go to Diagnostic System Check

--