GM Service Manual Online
For 1990-2009 cars only

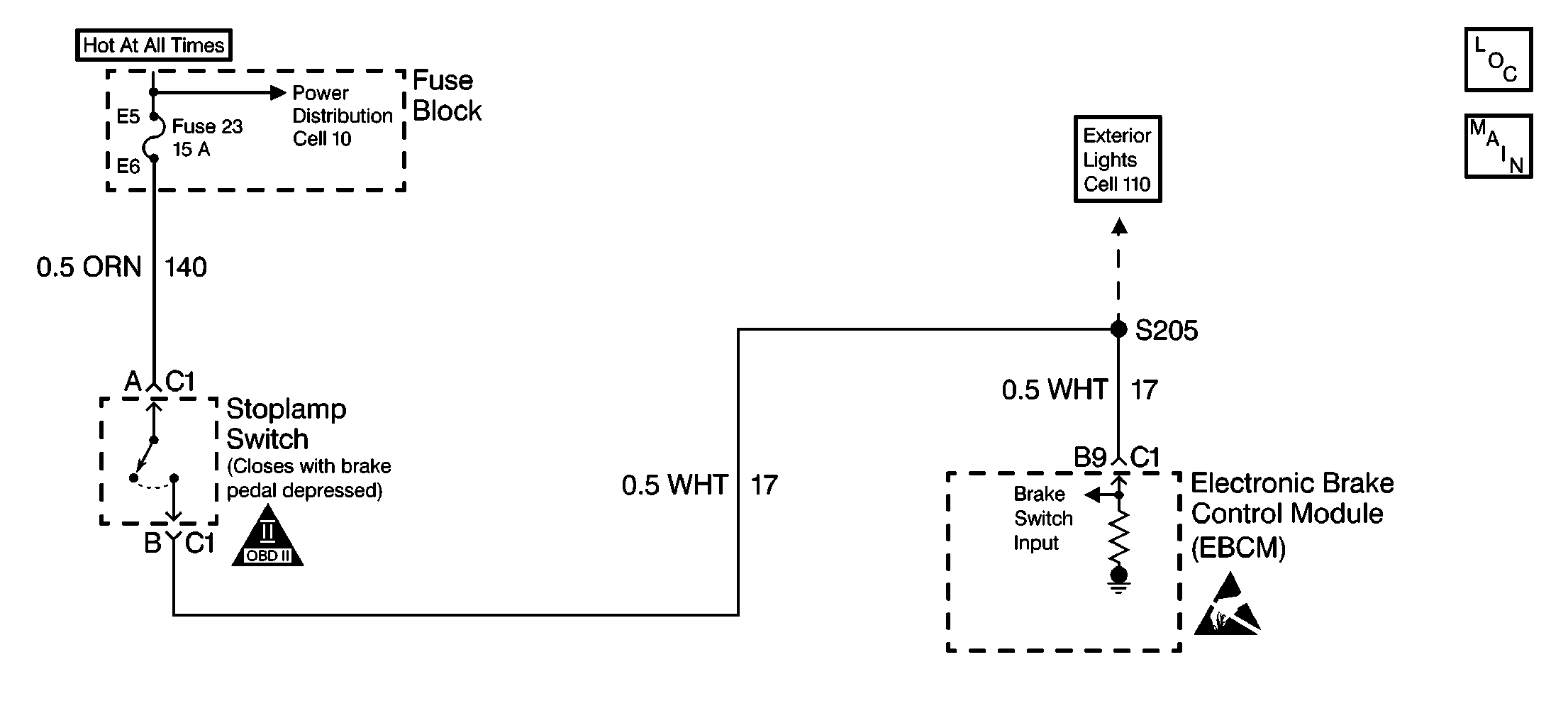
Object Number: 215299  Size: SF

Circuit Description

DTC C1292 is the second portion of DTC C1291 and DTC C1292. If DTC 1291 or DTC 1292 failed during the last ignition cycle, DTC C1293 becomes a current failure during the next ignition cycle. DTC C1293 failure keeps ABS disabled until identifying a brake switch on state. When identifying a change during an ignition cycle in which DTC C1293 is a current malfunction, DTC C1291 or DTC 1292 will clear itself at the end of the current ignition cycle. ABS will then enable itself at the start of the next ignition cycle. DTC C1293 alone indicates DCT C1291 or DTC C1292 failed previously, but is intermittent, or has been corrected.

Diagnostic Aids

The following conditions may cause an intermittent malfunction:

    • A poor connection
    • Rubbed-through wire insulation
    • A broken wire inside the insulation

Use the enhanced diagnostic function of the Scan Tool in order to measure the frequency of the malfunction. Refer to the Scan Tool manual for the procedure.

Thoroughly inspect any circuitry that may cause the intermittent complaint for the following conditions:

    • Backed out terminals
    • Improper mating
    • Broken locks
    • Improperly formed or damaged terminals
    • Poor terminal-to-wiring connections
    • Physical damage to the wiring harness

Use the Data List of the Scan Tool verify proper brake switch operation. The Data List should display the brake switch as the brake is applied within 25 mm (1.0 inch) of brake pedal travel.

DTC C1293 DTC C1291/C1292 Set Curnt/Prev Ign Cycle

Step

Action

Value(s)

Yes

No

1

Was the Diagnostic System Check performed?

--

Go to Step 2

Go to Diagnostic System Check

2

  1. Install a Scan Tool .
  2. Use the Scan Tool to read the DTCs.

Is DTC C1291 or DTC C1292 set as either a current and/or a history DTC?

--

Go to DTC C1291 Open Brake Lamp Switch Contacts During Deceleration or Go to DTC C1292 Open Brake Lamp Switch When ABS Was Required

Go to Step 3

3

  1. Select DTC history on the Scan Tool .
  2. Verify that the malfunction frequency was infrequent.
  3. Use the Scan Tool in order to clear the DTCs.

Did DTC C1293 clear?

--

Go to Diagnostic System Check

Go to Step 4

4

Replace the EBCM. Refer to Electronic Brake Control Module Replacement .

Is the action complete?

--

Go to Diagnostic System Check

--