GM Service Manual Online
For 1990-2009 cars only

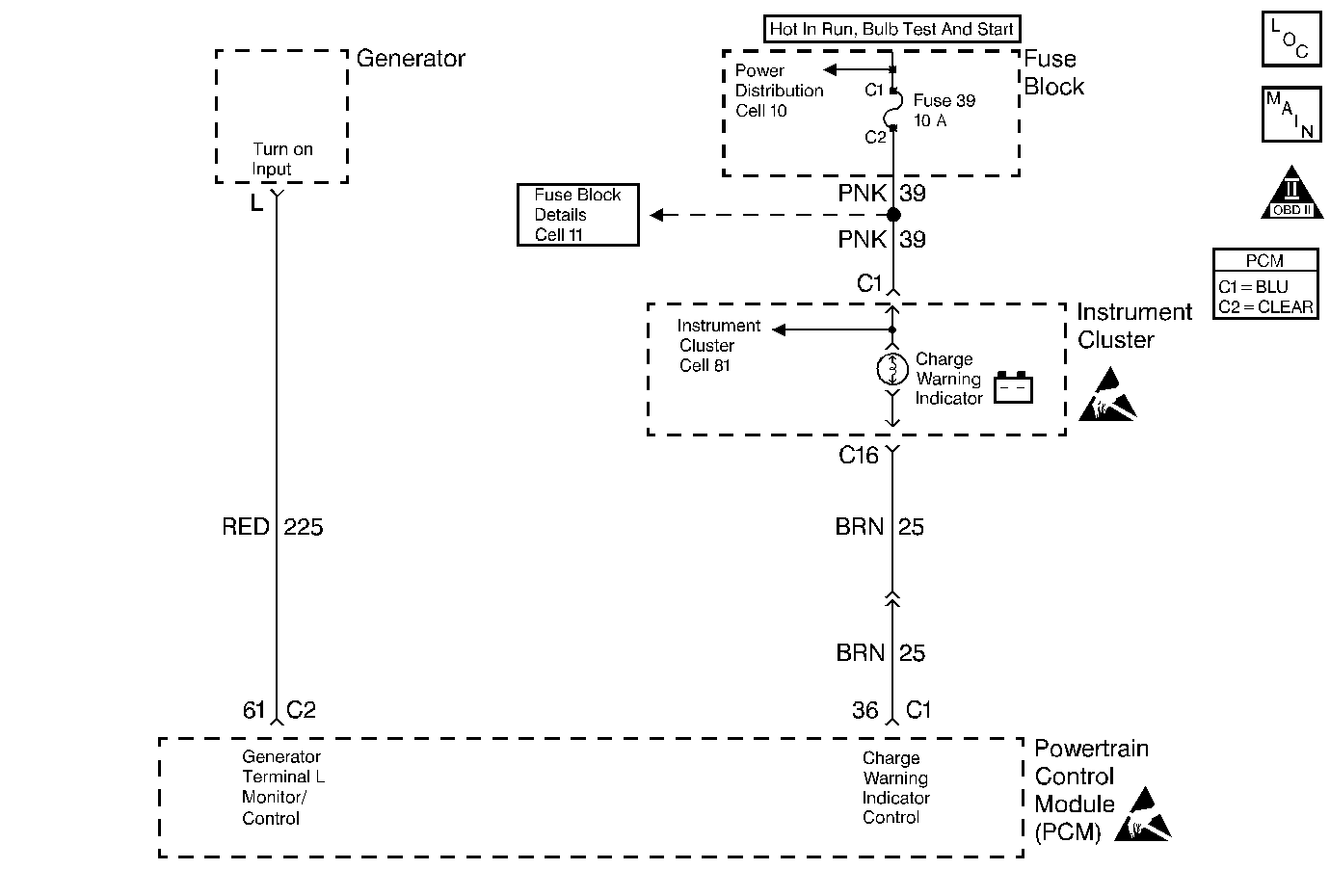
Object Number: 235368  Size: MF
Engine Controls Components
Indicator Lamps
OBD II Symbol Description Notice
Handling ESD Sensitive Parts Notice
Handling ESD Sensitive Parts Notice

Circuit Description

Output Driver Modules (ODMs) are used by the PCM to turn on many of the current-driven devices that are needed to control various engine and Transaxle functions. Each ODM is capable of controlling up to 7 separate outputs by applying ground to the device which the PCM is commanding on. The PCM turns on the bulb, LED, or driver info center indicator by supplying a path to ground through the PCM.

Conditions for Running the DTC

The ignition is on.

Conditions for Setting the DTC

    •  An improper voltage level has been detected on the alternator lamp driver circuit.
    •  Above conditions for at least 20 seconds.

Action Taken When the DTC Sets

    • The PCM will not illuminate the malfunction indicator lamp (MIL).
    • The PCM will store conditions which were present when the DTC set as Failure Records data only. This information will not be stored as Freeze Frame data.

Conditions for Clearing the MIL/DTC

    • A History DTC will clear after 40 consecutive warm-up cycles have occurred without a malfunction.
    • The DTC can be cleared by using the scan tool Clear Info function.

Diagnostic Aids

A PCM controlled lamp on at all times most likely indicates that a condition is present which requires the attention of the vehicle operator. Conditions which will illuminate each lamp are as follows:

    •  When the engine speed is greater than 1200 RPM and system voltage falls below 10 volts for longer than 10  seconds. The PCM commands the generator on when system voltage rises to above 12 volts.
    •  When the generator control circuit remains low for longer than 10 seconds.
    •  When the engine speed is below 2000 RPM and the generator PWM control circuit duty cycle remains low for longer than 20 seconds.
    •  When the engine speed is above 4000 RPM and the generator PWM control circuit duty cycle remains high for longer than 20 seconds.

For diagnosis of the instrument panel, perform the Instrument Cluster System Check in Instrument Panel, Gauges and Console.

Check for the following conditions:

    •  Poor connection at PCM. Inspect harness connectors for backed out terminals, improper mating, broken locks, improperly formed or damaged terminals, and poor terminal to wire connection. Refer to Intermittents and Poor Connections Diagnosis .
    •  Damaged harness. Inspect the wiring harness for damage. If the harness appears to be OK, disconnect the PCM and turn the ignition on. Observe a voltmeter connected to the affected PCM output circuit while moving connectors and wiring harnesses related to the PCM output circuit. A change in voltage will indicate the location of the fault. Refer to Wiring Repairs .

Test Description

The numbers below refer to the step numbers on the Diagnostic Table:

  1. Normally, ignition feed voltage should be present on the output driver circuit with the PCM disconnected and the ignition turned on.

  2. Checks for a shorted component or a short to battery positive voltage on the output driver circuit. Either condition would result in a measured current of over 1.5 amps. Also checks for a component that is going open while being operated, resulting in a measured current of 0 amps.

  3. Checks for a faulty instrument cluster.

  4. This vehicle is equipped with a PCM which utilizes an Electrically Erasable Programmable Read Only Memory (EEPROM). When the PCM is being replaced, the new PCM must be programmed. Refer to Powertrain Control Module Replacement/Programming .

Step

Action

Values

Yes

No

1

Was the Powertrain On Board Diagnostic (OBD) System Check performed?

--

Go to Step 2

Go to Powertrain On Board Diagnostic (OBD) System Check

2

Was the instrument cluster system check in Instrument Panel, Gauges and Console performed?

--

Go to Step 3

Go to Instrument Cluster System Check in Instrument Panel, Gauges and Console

3

  1. Turn the ignition off.
  2. Disconnect the PCM.
  3. Turn the ignition on.
  4. Using DMM (J 39200), measure voltage between the affected PCM output circuit at the PCM harness connector and ground.

Is the voltage near the specified value?

B+

Go to Step 4

Go to Step 7

4

  1. DMM to 10 amp scale, install DMM to measure current between the affected PCM output circuit and ground.
  2. Monitor the current reading on the DMM for at least 2 minutes.

Does the current reading remain between the specified values?

0.05 amp 1.5 mps

Go to Step 12

Go to Step 5

5

  1. Disconnect the instrument panel cluster (leave the PCM disconnected).
  2. Using DMM, measure voltage between the affected PCM output circuit and ground.

Is the voltage at the specified value?

0.0V

Go to Step 15

Go to Step 6

6

Locate and repair short to voltage in affected PCM output circuit.

Did you complete the repair?

--

Go to Step 3

--

7

Check the ignition feed fuse for the instrument panel cluster indicator lamps.

Is the fuse blown?

--

Go to Step 8

Go to Step 9

8

  1. Locate and repair short to ground in ignition feed circuit for the instrument panel cluster indicator lamps. Refer to Wiring Repairs in Wiring Systems.
  2. Replace the fuse.

Did you complete the repair?

--

Go to Step 3

--

9

  1. Disconnect the instrument panel cluster.
  2. Turn the ignition on.
  3. Measure voltage between the ignition feed circuit for the instrument panel cluster indicator lamps and ground.

Is the voltage near the specified value?

B+

Go to Step 10

Go to Step 14

10

  1. Check the affected PCM output circuit for an open or a short to ground.
  2. If a problem is found, repair the affected PCM output circuit. Refer to Wiring Repairs in Wiring Systems.

Was a problem found?

--

Go to Step 3

Go to Step 11

11

  1. Check the affected PCM output circuit and the ignition feed circuit for a faulty connection at the instrument panel cluster and at the PCM.
  2. If a problem is found, replace faulty terminals. Refer to Connector Repairs in Wiring Systems.

Was a problem found?

--

Go to Step 3

Go to Step 15

12

  1. Turn the ignition off.
  2. Reconnect the PCM and disconnect the instrument panel cluster.
  3. Turn the ignition on.
  4. Connect a test light between the affected PCM output circuit and the ignition feed circuit at the instrument panel cluster harness connector.
  5. Using the scan tool outputs test function, cycle the affected lamp on and off.

Does the test light flash on and off?

--

Go to Diagnostic Aids

Go to Step 13

13

  1. Check the affected PCM output circuit for a faulty connection at the PCM.
  2. If a problem is found, replace faulty terminal. Refer to Connector Repairs in Wiring Systems.

Was a problem found?

--

Go to Step 3

Go to Step 16

14

Locate and repair the open in ignition feed circuit to the instrument panel cluster indicator lamps. Refer to Wiring Repairs in Wiring Systems.

Did you complete the repair?

--

Go to Step 3

--

15

Replace the instrument panel cluster. Refer to Instrument Cluster Replacement in Instrument Panel, Gauges, and Console.

Did you complete the repair?

--

Go to Step 3

--

16

Important: :  Replacement PCM must be programmed.

Replace the PCM. Refer to Powertrain Control Module Replacement/Programming .

Did you complete the repair?

--

Go to Step 3

--

17

  1. Review and record scan tool Fail Records data.
  2. Clear DTCs.
  3. Operate vehicle within Fail Records conditions as noted.
  4. Using a scan tool, monitor SPECIFIC DTC info for DTC P1663 until the DTC P1663 test runs.

Does scan tool indicate DTC P1663 failed this ignition?

--

Go to Step 3

Repair complete