GM Service Manual Online
For 1990-2009 cars only

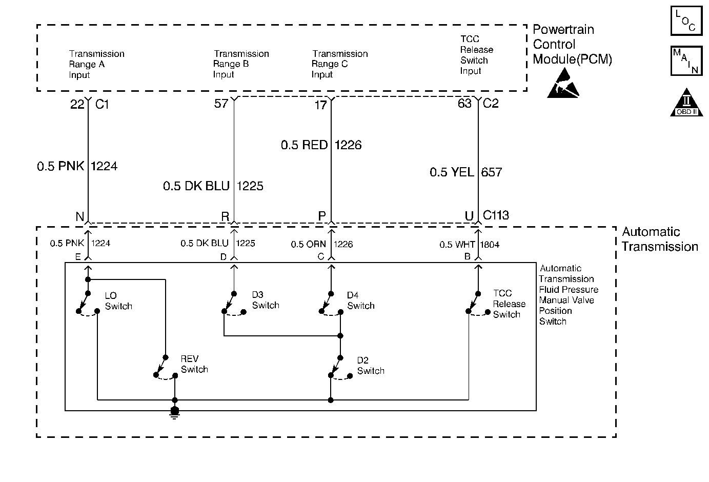
Object Number: 254353  Size: MF
Automatic Transmission Components
Automatic Transmission Controls Schematics
OBD II Symbol Description Notice
Handling ESD Sensitive Parts Notice

Circuit Description

The Torque Converter Clutch (TCC) release switch is part of the Automatic Transmission Fluid Pressure Manual Valve Position Switch (TFP Val. Position Sw.). The TFP Val. Position Sw. is mounted to the transmission valve body. The TCC release switch is normally-closed.

The switch signals the Powertrain Control Module that the TCC is released. This is accomplished by Torque Converter Clutch release fluid pressure acting on the switch contact, and opening circuit 657/1804. When the voltage is high on the circuit, the PCM recognizes that the TCC is no longer engaged.

If the PCM determines that the TCC release switch is open (indicating that the TCC is not applied) and the TCC slip speed indicates that the TCC is applied, then DTC P1887 sets. DTC P1887 is a type B DTC.

Conditions for Setting the DTC

    • No A/T ISS DTCs P0716 or P0717.
    • No TCC Sol. Valve DTCs P0741 or P0742.
    • No TFP Val. Position Sw. DTC P1810.
    • The engine speed is greater than 500 RPM for 5 seconds, and not in fuel shut off.
    • The transmission range switch is in D4.
    • The TCC is commanded ON.
    • The TCC slip speed is -20 to +40 RPM.
    • Engine torque is 45-407 N·m (33-300 lb. ft.).
    • The TCC release pressure is present (the switch is open).
    • All of the above conditions are met for 6 seconds.

Action Taken When the DTC Sets

    • The PCM illuminates the Malfunction Indicator Lamp (MIL).
    • The PCM disables shift adapts.
    • The PCM inhibits TCC operation.
    • The PCM inhibits 4th gear if the transmission is in Hot Mode.

Conditions for Clearing the MIL/DTC

    • The PCM turns OFF the MIL after three consecutive trips without a failure reported.
    • A scan tool can clear the DTC from the PCM history. The PCM clears the DTC from the PCM history if the vehicle completes 40 warm-up cycles without a failure reported.
    • The PCM cancels the DTC default actions when the fault no longer exists and the ignition is OFF long enough in order to power down the PCM.

Diagnostic Aids

    • Inspect the wiring at the PCM, the transmission 20-way connector and all other circuit connecting points for the following conditions:
       - A bent terminal
       - A backed out terminal
       - A damaged terminal
       - Poor terminal tension
       - A chafed wire
       - A broken wire inside the insulation
       - Moisture intrusion
       - Corrosion
    • When diagnosing for an intermittent short or open, massage the wiring harness while watching the test equipment for a change.

Test Description

The numbers below refer to the step numbers on the diagnostic table.

  1. This step tests the PCMs ability to recognize an open circuit.

  2. Because of the harsh conditions inside the transmission, repairing the A/T Wiring Harness is not acceptable. You must replace the A/T wiring harness.

DTC P1887 Torque Converter Clutch Release Switch Circuit Malfunction

Step

Action

Value(s)

Yes

No

1

Was the Powertrain On-Board Diagnostic (OBD) System Check performed?

--

Go to Step 2

Go to Powertrain On Board Diagnostic (OBD) System Check in Engine Controls

2

  1. Install the Scan Tool .
  2. With the engine OFF, turn the ignition switch to the RUN position.
  3. Important: Before clearing the DTCs, use the Scan Tool in order to record the Freeze Frame and Failure Records for reference. The Clear Info function will erase the data.

  4. Record the DTC Freeze Frame and Failure Records, then clear the DTC(s).
  5. Select Scan Tool TCC Release Pressure.

Is TCC Release Pressure present?

--

Go to Step 3

Go to Diagnostic Aids

3

  1. Turn the ignition OFF.
  2. Disconnect the transmission 20-way connector (additional DTCs will set).
  3. Connect the J 39775 Jumper Harness on the engine 20-way connector.
  4. Using the J 35616-A Connector Test Adapter Kit, connect a J 36169-A Fused Jumper Wire from terminal U to a good ground.
  5. With the engine OFF, turn the ignition switch to the RUN position.

Is TCC Release Pressure present?

--

Go to Step 4

Go to Step 5

4

Inspect engine wiring harness circuit 657 (YEL) for an open.

Refer to General Electrical Diagnosis in Wiring Systems.

Did you find and correct the condition?

--

Go to Step 11

Go to Step 8

5

  1. Turn the ignition OFF.
  2. Disconnect the transmission J 39775 Jumper Harness from the engine 20-way connector.
  3. Connect the J 39775 Jumper Harness to the transmission 20-way connector.
  4. Refer to the Connector End View .

  5. Connect a J 39200 Digital Multimeter (DMM), set to measure ohms, from terminal U of the jumper harness to a good ground.

Is the resistance less than the specified value?

50 ohms

Go to Diagnostic Aids

Go to Step 6

6

Inspect automatic transmission wiring harness circuit 1804 (WHT) for an open.

Refer to General Electrical Diagnosis in Wiring Systems.

Did you find the condition?

--

Go to Step 10

Go to Step 7

7

Replace the TFP Val. Position Sw.

Refer to Solenoids and Wiring Harness Replacement .

Is the replacement complete?

--

Go to Step 11

--

8

Inspect PCM connector C1 (Blue) for bent, damaged or backed out connector pins.

Was the condition found and corrected?

--

Go to Step 11

Go to Step 9

9

Replace the PCM.

Refer to Powertrain Control Module Replacement/Programming in Engine Controls.

Is the replacement complete?

--

Go to Step 11

--

10

Replace the automatic transmission wiring harness.

Refer to Solenoids and Wiring Harness Replacement .

Is the replacement complete?

--

Go to Step 11

--

11

In order to verify your repair, perform the following procedure:

  1. Select DTC.
  2. Select Clear Info.
  3. Operate the vehicle under the following conditions:
  4. • Drive the vehicle in D4 at a minimum of 74 km/h (45 mph) with a TP angle of less than 30%.
    • With the TCC commanded ON and engaged, the TCC release switch status must be Closed (no release oil present at the switch) for 3 seconds.
  5. Select Specific DTC. Enter DTC P1887.

Has the test run and passed?

--

System OK

Go to Step 1