GM Service Manual Online
For 1990-2009 cars only

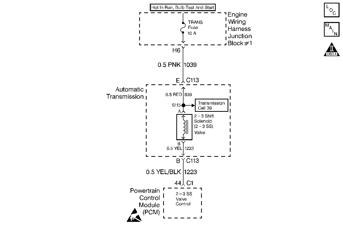
Object Number: 188814  Size: MF
Automatic Transmission Components
Automatic Transmission Controls Schematics
OBD II Symbol Description Notice
Handling ESD Sensitive Parts Notice

Circuit Description

The 2-3 shift solenoid valve (2-3 SS Valve) controls the fluid acting on the 2-3 shift valves. The solenoid is a normally-open exhaust valve. In combination with the 1-2 Shift Solenoid Valve (1-2 SS Valve), the 2-3 SS Valve allows four different shifting combinations. The solenoid is attached to the control valve body within the transmission. Circuit 1039/839 supplies ignition voltage directly to the 2-3 SS Valve. The PCM controls the solenoid by providing the ground path through circuit 1223.

If the PCM detects a continuous open or short to ground in the 2-3 SS Valve circuit or in the 2-3 SS Valve, then DTC P0758 sets. DTC P0758 is a Type A DTC.

Conditions for Setting the DTC

    • The ignition is ON.
    • The system voltage is 9-16 volts.
    • The engine speed is greater than 500 RPM for 5 seconds, and not in fuel shut off.
    • The PCM commands the solenoid ON and the voltage remains high (B+).
    • The PCM commands the solenoid OFF and the voltage remains low (0 volts).
    • All conditions are met for 5 seconds.

Action Taken When the DTC Sets

    • The PCM illuminates the Malfunction Indicator Lamp (MIL).
    • The PCM commands 3rd gear.
    • The PCM commands maximum line pressure.
    • The PCM disables shift adapts.
    • The PCM inhibits Torque Converter Clutch.

Conditions for Clearing the MIL/DTC

    • The PCM turns OFF the MIL after three consecutive trips without a failure reported.
    • A scan tool can clear the DTC from the PCM history. The PCM clears the DTC from the PCM history if the vehicle completes 40 warm-up cycles without a failure reported.
    • The PCM cancels the DTC default actions when the fault no longer exists and the ignition is OFF long enough in order to power down the PCM.

Diagnostic Aids

    • Inspect the wiring for poor electrical connections at the PCM, the transmission 20-way connector, the 2-3 shift solenoid valve 2-way connector and all other circuit connecting points for the following conditions:
       - A bent terminal
       - A backed out terminal
       - A damaged terminal
       - Poor terminal tension
       - A chafed wire
       - A broken wire inside the insulation
       - Moisture intrusion
       - Corrosion
    • When diagnosing for an intermittent short or open, massage the wiring harness while watching the test equipment for a change.
    • Ensure that the scan tool commanded gear has correct solenoid states and ratio. Refer to the Shift Solenoid Valve State and Gear Ratio table.

Test Description

The numbers below refer to the step numbers on the diagnostic table.

  1. This step isolates the fault between the engine harness and the transmission harness.

  2. This step verifies that circuit 1223 is not open or shorted to power.

  3. This step verifies that the 2-3 shift solenoid valve is not shorted across its windings nor increased its resistance.

  4. Because of the harsh conditions inside the transmission, repairing the automatic transmission wiring harness assembly is not acceptable. You must replace the automatic transmission wiring harness assembly.

DTC P0758 2-3 Shift Solenoid Circuit -- Electrical

Step

Action

Value(s)

Yes

No

1

Were you sent here from the Powertrain On-Board Diagnostic (OBD) System Check?

--

Go to Step 2

Go to Powertrain On Board Diagnostic (OBD) System Check in Engine Controls

2

  1. Install the Scan Tool .
  2. With the engine OFF, turn the ignition switch to the RUN position.
  3. Important: Before clearing the DTC(s), use the Scan Tool in order to record the Freeze Frame and Failure Records for reference. Using the Clear Info function will erase the stored Freeze Frame and Failure Records from the PCM.

  4. Record the DTC Freeze Frame and Failure Records, then clear the DTC(s).

Are DTCs P0753 and P1860 set?

--

Go to Step 3

Go to Step 6

3

  1. Remove the TRANS fuse.
  2. Inspect the fuse for an open.

Refer to General Electrical Diagnosis in Wiring Systems.

Did you find and correct a condition?

--

Go to Step 4

Go to Step 5

4

Repair the short to ground in circuits 1039/839 of the engine wiring harness.

Refer to General Electrical Diagnosis in Wiring Systems.

Did you find and correct a condition?

--

Go to Step 20

--

5

Repair open in circuits 1039/839 of the engine wiring harness.

Refer to General Electrical Diagnosis in Wiring Systems.

Did you find and correct a condition?

--

Go to Step 20

--

6

  1. Turn the ignition switch OFF.
  2. Disconnect the transmission 20-way connector.
  3. Connect the J 39775 Jumper Harness on the engine harness connector.
  4. Connect a test lamp from terminal E to terminal B of the jumper harness.
  5. Important: Additional DTCs will set.

  6. With the engine OFF, turn the ignition switch to the RUN position.

Is the test lamp ON?

--

Go to Step 7

Go to Step 8

7

Inspect circuit 1223 (YEL/BLK) of the engine wiring harness for a short to ground.

Refer to General Electrical Diagnosis in Wiring Systems.

Did you find and correct a condition?

--

Go to Step 20

Go to Step 18

8

  1. Select A/T Outputs, 2-3 Solenoid.
  2. Cycle the 2-3 shift solenoid valve ON and OFF three times.

Does the test lamp cycle ON and OFF as you commanded?

--

Go to Step 12

Go to Step 9

9

Inspect circuit 1223 (YEL/BLK) of the engine wiring harness for an open.

Refer to General Electrical Diagnosis in Wiring Systems.

Did you find and correct a condition?

--

Go to Step 20

Go to Step 10

10

Is the test lamp always OFF?

--

Go to Step 11

--

11

Inspect circuit 1223 (YEL/BLK) of the engine wiring harness for a short to power.

Refer to General Electrical Diagnosis in Wiring Systems.

Did you find and correct a condition?

--

Go to Step 20

Go to Step 18

12

  1. Turn the ignition OFF.
  2. Disconnect the J 39775 Jumper Harness from the engine harness.
  3. Connect the J 39775 Jumper Harness to the transmission 20-way connector.
  4. Refer to the Connector End View .

  5. Connect a J 39200 Digital Multimeter (DMM), set to measure ohms, from terminal E to terminal B of the jumper harness.

Is the measured resistance within the specified range?

19-24 ohms at 20°C (68°F)

24-31 ohms at 88°C (190°F)

Go to Step 15

Go to Step 13

13

Is the resistance greater than the specified value?

100 ohms

Go to Step 14

Go to Step 15

14

  1. Inspect automatic transmission wiring harness assembly circuit 839 (RED) for an open or a poor connection.
  2. Inspect automatic transmission wiring harness assembly circuit 1223 (YEL) for an open or a poor connection.

Refer to General Electrical Diagnosis in Wiring Systems.

Did you find a condition?

--

Go to Step 19

Go to Step 17

15

Connect the DMM from terminal B of the jumper harness to ground.

Is the measured resistance less than the specified value?

100 ohms

Go to Step 16

Go to Step 17

16

Inspect automatic transmission wiring harness assembly circuit 1223 (YEL) for a short to ground.

Did you find a condition?

--

Go to Step 19

--

17

Replace the 2-3 Shift Solenoid Valve.

Refer to 2-3 Shift Solenoid Valve Replacement .

Is the replacement complete?

--

Go to Step 20

--

18

Replace the PCM.

Refer to Powertrain Control Module Replacement/Programming in Engine Controls.

Is the replacement complete?

--

Go to Step 20

--

19

Replace the Automatic Transmission Wiring Harness Assembly.

Refer to Solenoids and Wiring Harness Replacement .

Is the replacement complete?

--

Go to Step 20

--

20

In order to verify your repair, perform the following procedure:

  1. Select DTC.
  2. Select Clear Info.
  3. Operate the vehicle under the following conditions:
  4. • The ignition switch is ON.
    • The system voltage is 9-16 volts.
    • The engine speed is more than 500 RPM for 5 seconds and not in fuel shut off.
    • Drive the vehicle for a 2-3 shift cycle.
    • No open or short to ground exists for more than 5 seconds in each solenoid state.
  5. Select Specific DTC. Enter DTC P0758.

Has the test run and passed?

--

System OK

Go to Step 1