GM Service Manual Online
For 1990-2009 cars only

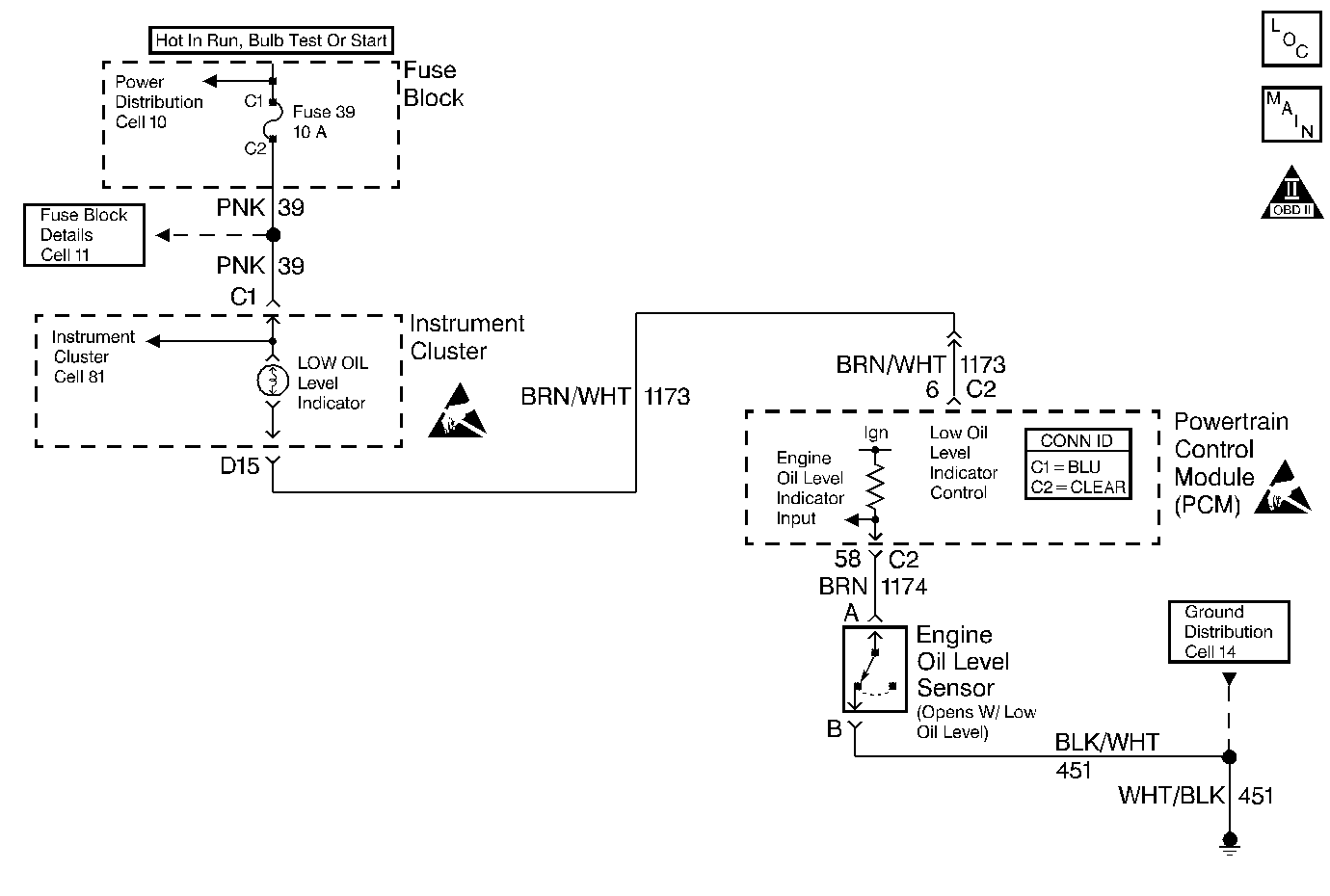
Object Number: 388787  Size: MF
Engine Controls Schematics
OBD II Symbol Description Notice
Handling ESD Sensitive Parts Notice
Handling ESD Sensitive Parts Notice

Circuit Description

Output Driver Modules (ODMs) are used by the PCM to turn on many of the current-driven devices that are needed to control various engine and Transaxle functions. Each ODM is capable of controlling up to 7 separate outputs by applying ground to the device which the PCM is commanding on.

DTC P1653 set indicates an improper voltage level has been detected on the output circuit which controls the Low Engine Oil Level Lamp.

Copnditions for Running the DTC

Ignition is on.

Conditions for Setting the DTC

    •  An improper voltage level has been detected on the output circuit which controls the low engine oil level lamp.
    •  Above conditions for at least 30 seconds.

Action Taken When the DTC Sets

    • The PCM will not illuminate the malfunction indicator lamp (MIL).
    • The PCM will store conditions which were present when the DTC set as Failure Records data only. This information will not be stored as Freeze Frame data.

Conditions for Clearing the MIL/DTC

    • A History DTC will clear after 40 consecutive warm-up cycles have occurred without a malfunction.
    • The DTC can be cleared by using the scan tool Clear Info function.

Diagnostic Aids

Check for the following condition(s):

    •  Poor connection at the PCM. Inspect harness connectors for backed out terminals, improper mating, broken locks, improperly formed or damaged terminals, and poor terminal to wire connection(s). Refer to Intermittents and Poor Connections Diagnosis .
    •  Damaged harness. Inspect the wiring harness for damage. If the harness appears to be OK, disconnect the PCM, turn the ignition on and observe a voltmeter connected to the Engine Low Oil Lamp driver circuit at the PCM harness connector while moving connectors and wiring harnesses related to the Engine Low Oil Level circuit. A change in voltage will indicate the location of the fault. Refer to Wiring Repairs .

Reviewing the Fail Records vehicle mileage since the diagnostic test last failed may help determine how often the condition that caused the DTC to be set occurs. This may assist in diagnosing the condition.

Test Description

Number(s) below refer to the step number(s) on the Diagnostic Table:

  1. Normally, ignition feed voltage should be present on the control circuit with the PCM disconnected and the ignition turned on.

  2. Checks for a shorted component or a short to battery positive voltage on the control circuit. Either condition would result in a measured current of over 500 milliamps. Also checks for a component that is causing an open circuit while being operated, resulting in a measured current of 0 milliamps.

  3. Checks for a short to voltage on the control circuit.

  4. This vehicle is equipped with a PCM which utilizes an Electrically Erasable Programmable Read Only Memory (EEPROM). When the PCM is being replaced, the new PCM must be programmed. Refer to Powertrain Control Module Replacement/Programming .

Step

Action

Value(s)

Yes

No

1

Was the Powertrain OBD System Check performed?

--

Go to Step 2

Go to the Powertrain On Board Diagnostic (OBD) System Check

2

  1. Turn off the ignition switch.
  2. Disconnect the PCM.
  3. Turn on the ignition switch.
  4. Using a J 39200 DMM, measure voltage between the low engine oil level lamp control circuit at the PCM harness connector and ground.

Is voltage near the specified value?

B+

Go to Step 3

Go to Step 6

3

  1. Connect the J 39200 DMM, to measure current between the low engine oil level lamp control circuit at the PCM harness connector and ground.
  2. Monitor the current reading on the J 39200 DMM, for at least 2 minutes.

Does the current reading remain between the specified values?

0.05-0.5 Amps

(50-500 mA)

Go to Step 11

Go to Step 4

4

  1. Turn off the ignition switch.
  2. Disconnect the instrument panel (leave the PCM disconnected).
  3. Turn on the ignition switch.
  4. Using a J 39200 DMM, measure voltage between the low engine oil level lamp control circuit and ground.

Is the voltage at the specified value?

0.0V

Go to Step 10

Go to Step 5

5

Locate and repair short to voltage in the low engine oil level lamp control circuit. Refer to Wiring Repairs .

Is the action complete?

--

Go to Step 15

--

6

Check the ignition feed fuse for the instrument panel indicators.

Is the fuse blown?

--

Go to Step 7

Go to Step 8

7

  1. Locate and repair short to ground in ignition feed circuit for the instrument panel indicators. Refer to Wiring Repairs .
  2. Replace fuse.

Is the action complete?

--

Go to Step 15

--

8

  1. Disconnect the instrument cluster.
  2. Turn on the ignition switch.
  3. Using J 39200 DMM, measure voltage between the ignition feed circuit for the instrument cluster indicators and ground.

Is the voltage near the specified value?

B+

Go to Step 9

Go to Step 13

9

  1. Check the low engine oil level lamp control circuit for an open or a short to ground.
  2. If a problem is found, repair the low engine oil level lamp control circuit. Refer to Wiring Repairs .

Was a problem found?

--

Go to Step 15

Go to Step 10

10

  1. Check the low engine oil level lamp control circuit and the instrument panel indicators ignition feed circuit for a poor connection at the instrument panel and at the PCM.
  2. If a problem is found, replace faulty terminal(s). Refer to Testing for Continuity Intermittents and Poor Connections Diagnosis Repairing Connector Terminals and Connector Repairs .

Was a problem found?

--

Go to Step 15

Go to Instrument Cluster System Check

11

  1. Turn off the ignition switch.
  2. Reconnect the PCM.
  3. Disconnect the instrument cluster.
  4. Turn on the ignition switch.
  5. Connect a J 35616-200 test light between the low engine oil level lamp control circuit and the ignition feed circuit at the instrument panel harness connector.
  6. Using the scan tool outputs test function, cycle the low engine oil level lamp on and off.

Does the J 35616-200 test light flash on and off?

--

Go to Diagnostic Aids

Go to Step 12

12

  1. Check the low engine oil level lamp control circuit for a poor connection at the PCM.
  2. If a problem is found, replace faulty terminal. Refer to Testing for Continuity Intermittents and Poor Connections Diagnosis Repairing Connector Terminals and Connector Repairs .

Was a problem found?

--

Go to Step 15

Go to Step 14

13

Locate and repair open in the ignition feed circuit to the I/P indicators. Refer to Wiring Repairs .

Is the action complete?

--

Go to Step 15

--

14

Important: :  The replacement PCM must be programmed. Refer to Powertrain Control Module Replacement/Programming .

Replace the PCM.

Is the action complete?

--

Go to Step 15

--

15

  1. Review and record scan tool Fail Records data.
  2. Clear DTCs.
  3. Operate the vehicle within Fail Records conditions.
  4. Using a scan tool, monitor Specific DTC info for DTC P1653 until the DTC P1653 test runs.

Does the scan tool indicate DTC P1653 failed this ignition?

--

Go to Step 2

System OK