GM Service Manual Online
For 1990-2009 cars only

Tools Required

J 38118 Rear Toe Adjusting Tool

    Important: Perform the left and the right toe adjustment procedures in the same manner.

    Important: 

       • Check and set the toe with a full fuel tank.
       • Jounce the vehicle three times before you check the alignment. This will eliminate false readings.
       • Set the left side toe and the right side toe separately to achieve the specified total toe and thrust angle.

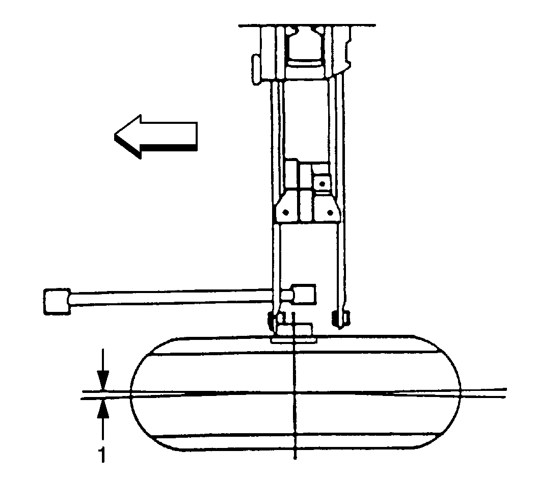
  1. Lubricate the threads.
  2. Install the J 38118 in the rear rod access hole closest to the center of the rear suspension support and the other end of the J 38118 to the rear suspension support.
  3. Hand-tighten the turnbuckle portion of the J 38118 in the direction of the adjustment.
  4. Loosen the rear rod nut at the crossmember a minimum of four turns.

  5. Object Number: 188220  Size: SH

    Notice: Use the correct fastener in the correct location. Replacement fasteners must be the correct part number for that application. Fasteners requiring replacement or fasteners requiring the use of thread locking compound or sealant are identified in the service procedure. Do not use paints, lubricants, or corrosion inhibitors on fasteners or fastener joint surfaces unless specified. These coatings affect fastener torque and joint clamping force and may damage the fastener. Use the correct tightening sequence and specifications when installing fasteners in order to avoid damage to parts and systems.

  6. Rotate the turnbuckle portion of the J 38118 to reach the correct toe specification. Refer to Wheel Alignment Specifications .
  7. Tighten
    Tighten the rear rod to crossmember nut to 150 N·m (111 lb ft).

  8. Remove the J 38118 .