GM Service Manual Online
For 1990-2009 cars only

Removal Procedure

Tools Required

J 1859-A Countergear Steering Wheel Puller

  1. Position the ignition to the OFF position.
  2. Disable the SIR system. Refer to Disabling the SIR System in S.I.R.
  3. Remove the inflator module. Refer to Inflatable Restraint Steering Wheel Module Replacement in S.I.R.
  4. Scribe an alignment mark on the steering wheel hub. Align the mark with the slash mark on the steering shaft.

  5. Object Number: 280965  Size: SH
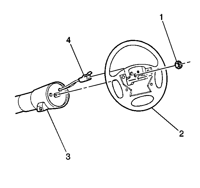
  6. Loosen the steering wheel shaft nut (1).
  7. Position the steering wheel shaft nut flush with the end of the steering shaft.

  8. Object Number: 280969  Size: SH
  9. Assemble the J 1859-A on the steering wheel hub. Pull the steering wheel loose from the steering shaft.
  10. Remove the J 1859-A .
  11. Remove the steering wheel shaft nut.
  12. Remove the steering wheel from the steering shaft.
  13. Unroute the SIR connector from the steering wheel.

Installation Procedure


    Object Number: 280965  Size: SH
  1. Route the SIR connector through the steering wheel (2).
  2. Align the scribe mark on the steering wheel (2) with the slash mark on the steering shaft.
  3. Install the steering wheel (2).
  4. Notice: Use the correct fastener in the correct location. Replacement fasteners must be the correct part number for that application. Fasteners requiring replacement or fasteners requiring the use of thread locking compound or sealant are identified in the service procedure. Do not use paints, lubricants, or corrosion inhibitors on fasteners or fastener joint surfaces unless specified. These coatings affect fastener torque and joint clamping force and may damage the fastener. Use the correct tightening sequence and specifications when installing fasteners in order to avoid damage to parts and systems.

  5. Install the steering wheel shaft nut (1).
  6. Tighten
    Tighten the steering wheel shaft nut to 45 N·m (33 lb ft).

  7. Install the inflator module. Refer to Inflatable Restraint Steering Wheel Module Replacement in S.I.R.
  8. Enable the SIR system. Refer to Disabling the SIR System
  9. in S.I.R.

  10. Inspect the operation of the following components:
  11. • The horn
    • The steering wheel (2)
    • The steering wheel controls