GM Service Manual Online
For 1990-2009 cars only
Makes
🢒
Chevrolet
🢒
1999
🢒
Monte Carlo
🢒
Body and Accessories
🢒
Entertainment
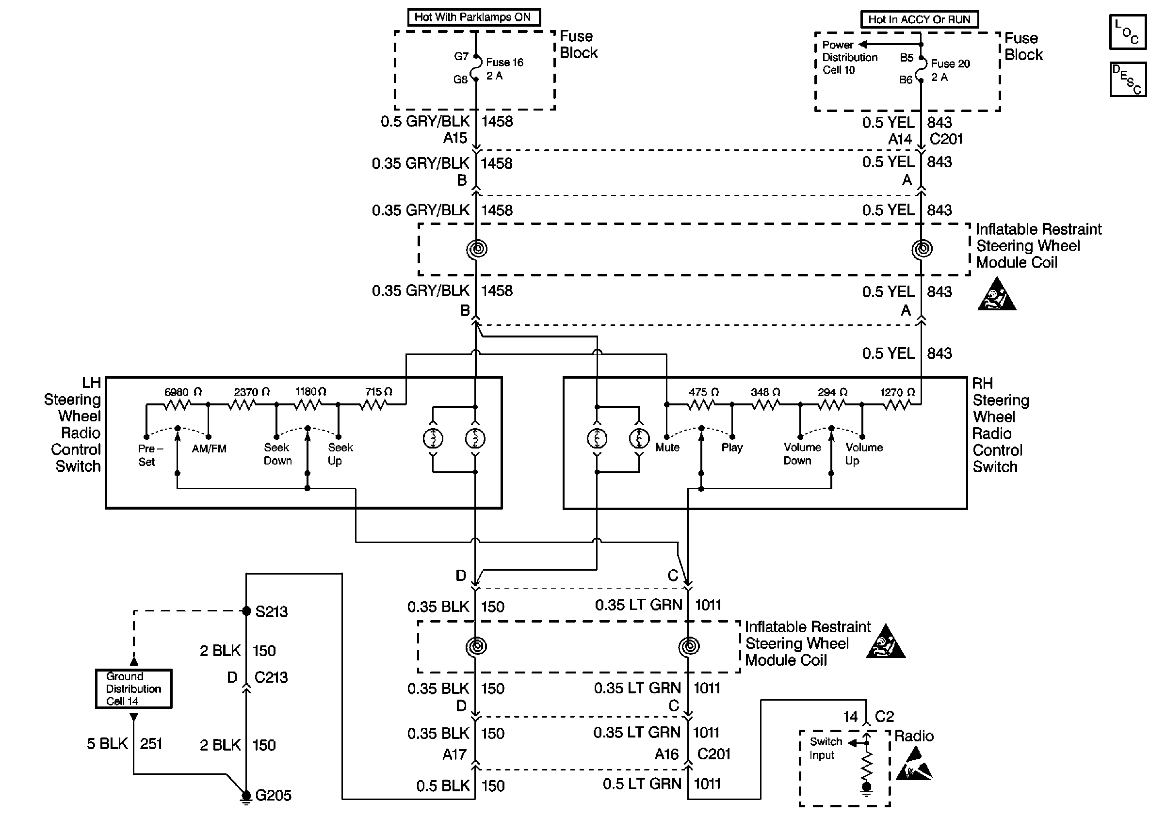
🢒 Steering Wheel Controls Schematics
Cell 152
Entertainment Components
Steering Wheel Controls System Circuit Description
SIR Handling Caution
SIR Handling Caution
Handling Electrostatic Discharge Sensitive Parts Notice
Cell 14: G205 (1 of 2)
Cell 11: Power Accessory No. 2 (Sunroof) (11), Power Accessory No.2 (20), Wiper (29), and Radio (38) Fuses