GM Service Manual Online
For 1990-2009 cars only
Figure 1:

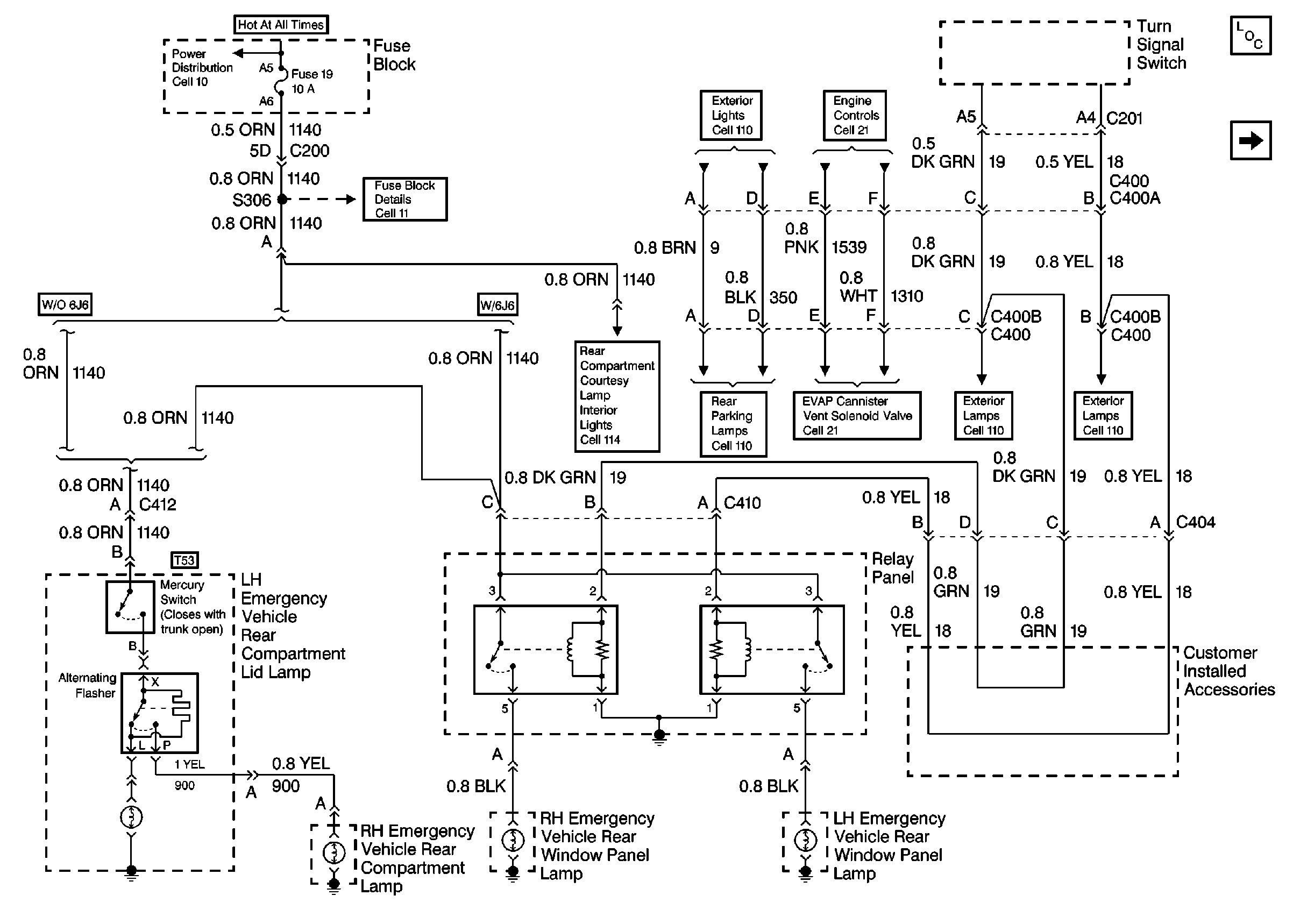
Cell 18: Rear Compartment Lid Lamp (RPO T53) and Rear Window Panel Lamp (RPO 6J6)


Object Number: 302429  Size: FS
Master Electrical Component List
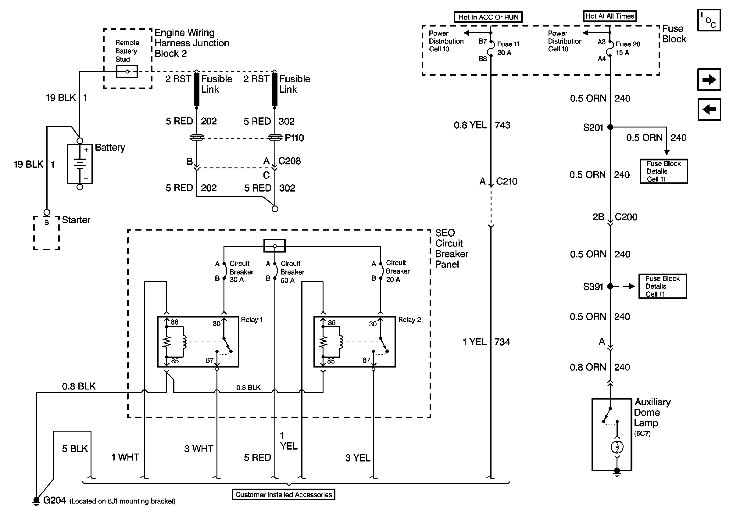
Cell 18: Passenger Dome Lamp (RPO 6C7) and IGN and Main Power Supply(RPO 6J1)
Exterior Lights Schematics
Exterior Lights Schematics
Exterior Lights Schematics
Fuse Block Schematics
Power Distribution Schematics
Figure 2:

Cell 18: Passenger Dome Lamp (RPO 6C7) and IGN and Main Power Supply (RPO 6J1)


Object Number: 302434  Size: FS
Master Electrical Component List
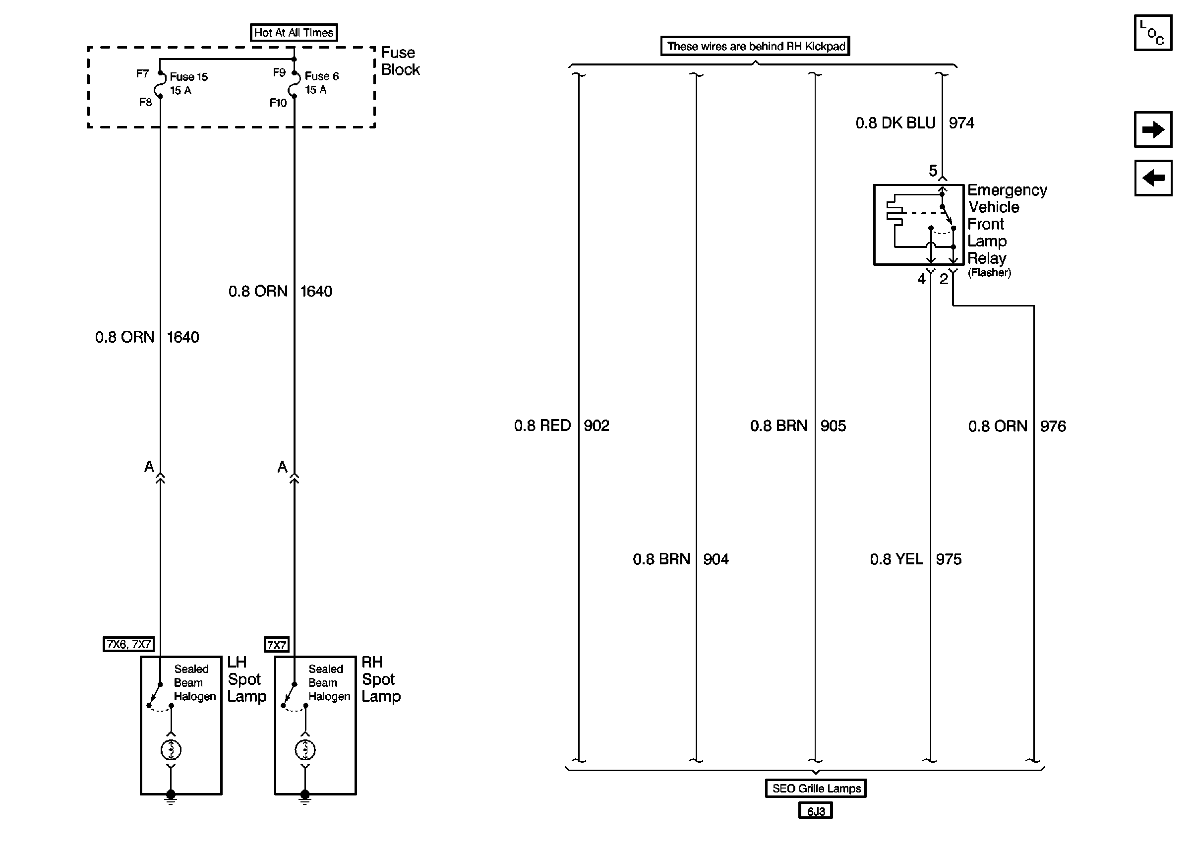
Cell 18: Spot Lamps (RPO's 7X6 and 7X7) and Grille Lamps (RPO 6J3)Wiring Provisions
Cell 18: Rear Compartment Lid Lamp (RPO T53) and Rear Window Panel Lamp (RPO 6J6)
Fuse Block Schematics
Fuse Block Schematics
Power Distribution Schematics
Power Distribution Schematics
Figure 3:

Cell 18: Spot Lamps (RPO's 7X6 and 7X7) and Grille Lamps (RPO 6J3) Wiring Provisions


Object Number: 302441  Size: FS
Master Electrical Component List
Cell 18: Roof Wiring Provisions (RPO 6F5)
Cell 18: Passenger Dome Lamp (RPO 6C7) and IGN and Main Power Supply(RPO 6J1)
Figure 4:

Cell 18: Roof Wiring Provisions (RPO 6F5)


Object Number: 302444  Size: FS
Master Electrical Component List
Cell 18: Radio Speaker Wiring Provisions (RPO 6J3)
Cell 18: Spot Lamps (RPO's 7X6 and 7X7) and Grille Lamps (RPO 6J3)Wiring Provisions
Figure 5:

Cell 18: Radio Speaker Wiring Provisions (RPO 6J3)


Object Number: 302448  Size: FS
Master Electrical Component List
Cell 18: Roof Wiring Provisions (RPO 6F5)