GM Service Manual Online
For 1990-2009 cars only

Removal Procedure

  1. Remove the front bumper fascia. Refer to Front Bumper Fascia Replacement .
  2. Remove the front energy absorber. Refer to Front Bumper Fascia Energy Absorber Replacement .

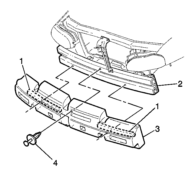
  3. Object Number: 293797  Size: SH
  4. Remove the bolts from the front impact bar (2).
  5. Remove the front impact bar (2) from the vehicle.

Installation Procedure


    Object Number: 325302  Size: SH
  1. Install the front bumper impact bar retaining bolts to the frame rails using the following sequence:
  2. 1.1. Upper outboard location (net locating hole)
    1.2. Lower outboard location
    1.3. Inboard location

    Notice: Use the correct fastener in the correct location. Replacement fasteners must be the correct part number for that application. Fasteners requiring replacement or fasteners requiring the use of thread locking compound or sealant are identified in the service procedure. Do not use paints, lubricants, or corrosion inhibitors on fasteners or fastener joint surfaces unless specified. These coatings affect fastener torque and joint clamping force and may damage the fastener. Use the correct tightening sequence and specifications when installing fasteners in order to avoid damage to parts and systems.

  3. Install the bolts to the front impact bar (3).
  4. Tighten
    Tighten the front impact bar bolts to 25 N·m (18 lb ft).

  5. Install the front energy absorber (3). Refer to Front Bumper Fascia Energy Absorber Replacement .
  6. Install the front bumper fascia. Refer to Front Bumper Fascia Replacement .