GM Service Manual Online
For 1990-2009 cars only

Removal Procedure


    Object Number: 292074  Size: SH
  1. Remove the front seat cushion (2). Refer to Front Seat Cushion Replacement .

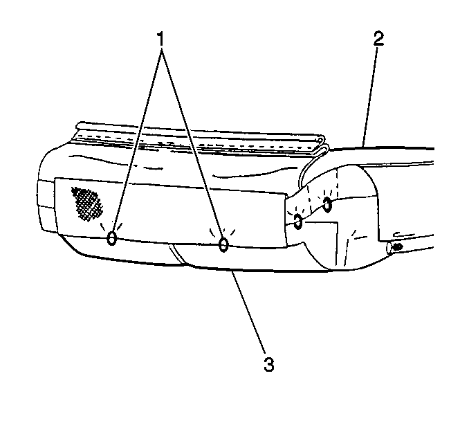
  2. Object Number: 292077  Size: SH
  3. Remove the trim hog rings (1).
  4. Remove the cushion trim cover from the foam pad.

Installation Procedure

  1. Install the cushion trim cover to the foam pad.

  2. Object Number: 292077  Size: SH
  3. Install the hog rings (1).

  4. Object Number: 292074  Size: SH
  5. Install the front seat cushion (2). Refer to Front Seat Cushion Replacement .