Notice: Use the correct fastener in the correct location. Replacement fasteners must be the correct part number for that application. Fasteners requiring replacement or fasteners requiring the use of thread locking compound or sealant are identified in the service procedure. Do not use paints, lubricants, or corrosion inhibitors on fasteners or fastener joint surfaces unless specified. These coatings affect fastener torque and joint clamping force and may damage the fastener. Use the correct tightening sequence and specifications when installing fasteners in order to avoid damage to parts and systems.
Tighten
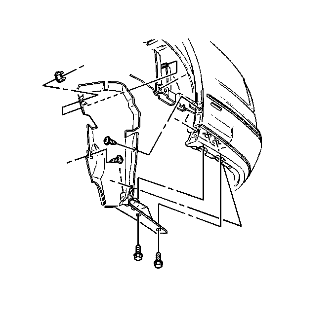
Tighten the rear bumper fascia splash shield nuts to 2 N·m (18 lb in).
Important: The rear bumper fascia splash shield bolts will strip out at a low torque. Do not over torque.
Tighten
Tighten the rear bumper fascia splash shield bolts to 2 N·m (18 lb in).