GM Service Manual Online
For 1990-2009 cars only

There are two ways of determining vehicle measurements.

Tram Gage Method

A tram gage is used as a quick reference in order to determine vehicle damage. Use a tram gage set which includes a vertical pointer capable of reaching 914 mm (36 in).


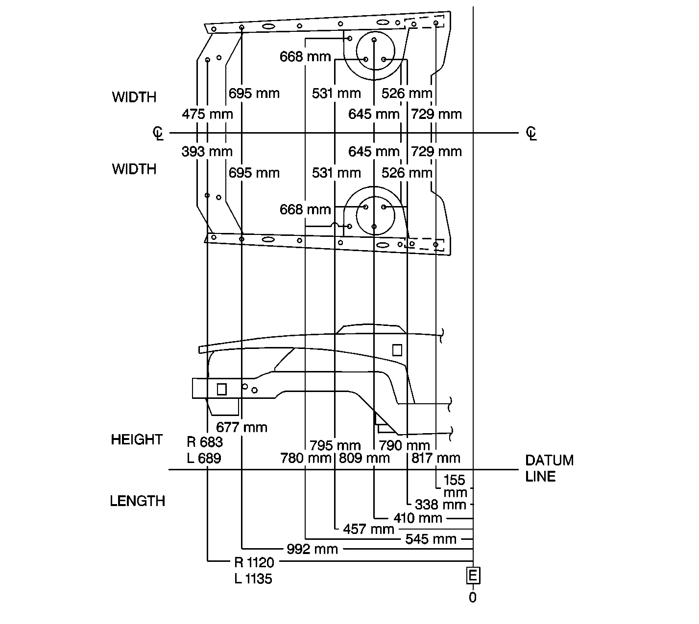
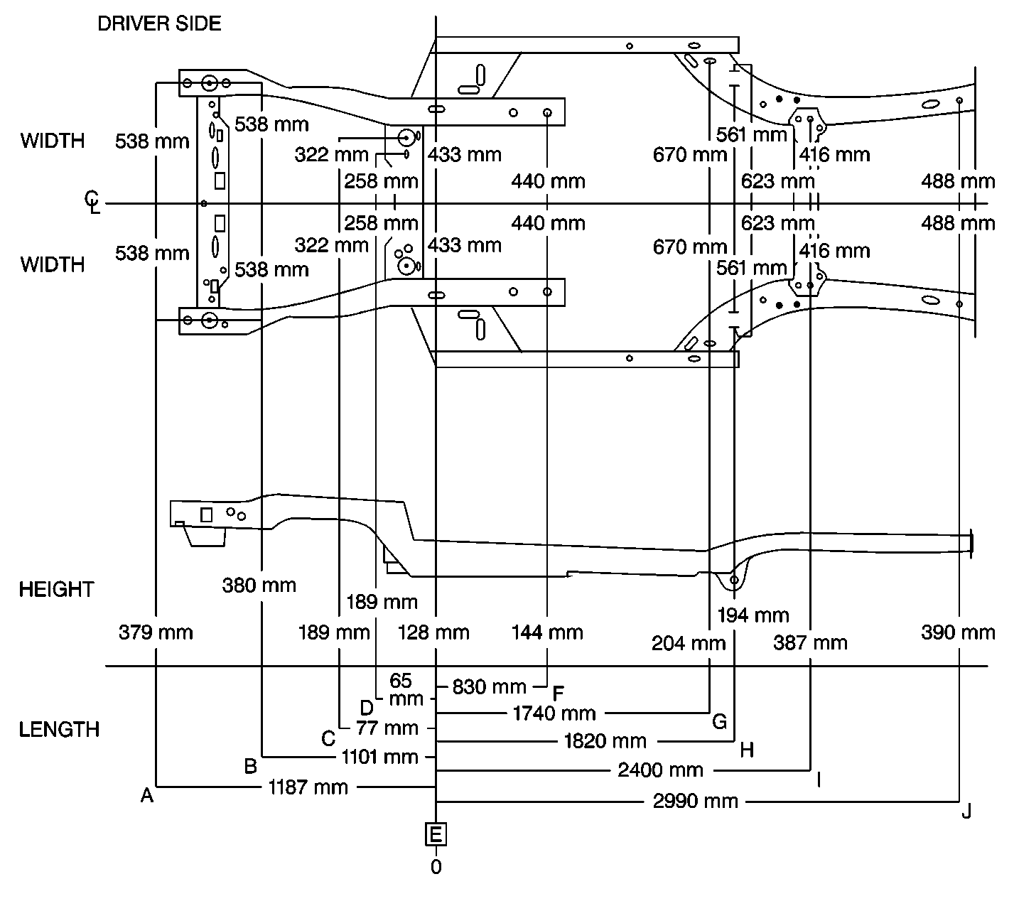
Object Number: 299764  Size: LF

Measurements of the engine compartment components are made from point to point with the vertical pointers equally set.


Object Number: 299767  Size: LF

Other measurements are made on the horizontal plane, or datum line, parallel to the underbody with the vertical pointers set as specified for each point.


Object Number: 299763  Size: LF

Dimensions that are measured to gage holes are measured to the center of the holes and flush to adjacent surface metal unless otherwise specified. Cross check diagonal dimensions in order to verify the dimensional accuracy of the vehicle underbody.

Three-Dimensional Method

In order to measure structural repair, use repair equipment capable of measuring multiple points of length, height, and width at the same time. Measure 2/3 of the vehicle body in order to obtain accurate comparisons to the vehicle structure.

Universal measuring systems combine the equipment and techniques used in order to make underbody and upperbody 3-Dimensional measurements. The universal system provides accurate measurements of length, width, and height measurements at the same time.

Measurement Identification Table

LETTER

QUANTITY

FEATURE SIZE*

USAGE

A

2

14 mm (0.55118110 in) hole

GAGE HOLE

B

2 FRT

22 mm (0.86614173 in) frame crossmember nut hole

FRAME ATTACH

C

2 RR

28 mm (1.10236 in) frame crossmember nut hole

FRAME ATTACH

D

2

16 mm (0.6299 in) hole left/16 mm x 32 mm (0.6299 x 1.2598 in) slot right

GAGE HOLE (LF) SLOT (RT)

E

2

16 mm x 22 mm (0.6299 in x 0.8661 in) slot

GAGE SLOT

F

2

16 mm (0.6299 in) hole

GAGE HOLE

G

2

18 mm x 24 mm (0.7086 x 0.9448 in) slot

GAGE SLOT

H

2

12 mm (0.4724 in) hole

REAR SUSPENSION ATTACH

I

2

23 mm (0.9055 in) hole

REAR SUSPENSION ATTACH

J

2

19 mm (0.74803 in) hole

GAGE HOLE

K

2

7 mm (0.2755 in) hole

BRACE ATTACH

L

2

5.3 mm (0.2086 in) hole

FENDER ATTACH

M

2

13 mm (0.5118 in) Class 1 hole

BRACE ATTACH

N

2 FRT

12 mm (0.4724 in) hole

FRONT STRUT ATTACH

O

2 CENTER

12 mm x 14 mm (0.4724 in x 0.5511 in) slot

FRONT STRUT ATTACH

P

2 RR

12 mm x 14 mm (0.4724 in x 0.5511 in) slot

FRONT STRUT ATTACH

Q

2 RR

12 mm (0.4724 in) hole

HOOD HINGE ATTACH

R

2 FRT

12 mm hole left x 9.3 mm hole right (0.4724 in hole left x 0.3661 in hole right)

REAR SHOCK ATTACH

S

2 RR

12 mm hole left x 9.3 mm hole right (0.4724 in hole left x 0.3661 in hole right)

REAR SHOCK ATTACH

T

2 FRT

12 mm (0.4724 in) hole front

REAR SHOCK ATTACH

U

2 CENTER

14 mm (0.55118110 in) hole center

REAR STRUT ATTACH

V

2 RR

12 mm x 14 mm (0.4724 in x 0.5511 in) slot rear

REAR STRUT ATTACH

*All measurements are to the center of the holes and slots.