GM Service Manual Online
For 1990-2009 cars only

Key Identification and Usage

Two keys are used on this vehicle. A square-headed key is used in the ignition lock cylinder. A different key is used in all other lock cylinders. Key identification is obtained from the four character key code that is stamped on the knock-out portion of the key head and an identification letter that is stamped on the key shank. Remove the knock-out portion of the key head after the key code has been recorded by the vehicle owner. Use the key code along with a code list, that is available to owners of key cutting equipment from equipment suppliers, to determine the key and lock cylinder code. If the key code is not available perform the following steps:


    Object Number: 191504  Size: SH
  1. Place the key directly on top of the key code diagram so that the key is outlined by the diagram.
  2. Start at position number one and record the lowest level (tumbler number) that is visible.
  3. Repeat Step 2 for each of the remaining five positions.

Coding (Cutting) Keys

Important: The PASS Key II® resistor code MUST be determined before duplicating or creating an ignition key. Refer to Programming Additional Keys in Theft Deterrent.

Important: Ensure that the blank key fits into the lock cylinder before coding (cutting) the key.

After the mechanical key code has been determined from the code list or the key code diagram, perform the following steps:

  1. Cut the proper blank key to the correct level according to the key code.
  2. Remove any rough edges from the key using a wire brush or wire wheel.
  3. Inspect the key operation in the lock cylinder.

Lock Cylinder Tumbler Operation

All of the lock cylinder tumblers within a lock cylinder are shaped alike with the exception of the notched position on one side. As the key is inserted into the lock cylinder, the tumblers are lowered to the correct height so that notches on each tumbler are at the same level. When the notches on all six tumblers line up, two small springs push the side bar into the notches, allowing the cylinder to turn in the cylinder bore. Five different tumblers are used to make the lock combinations. Each tumbler is coded and stamped with a number between 1 and 5.

Door Look Cylinder Coding

The door lock cylinders in this vehicle use six tumblers.

  1. Determine the key code (tumbler numbers and respective locations) as described in Key Identification and Usage.

  2. Object Number: 200834  Size: SH
  3. Start at position number one and insert the tumblers (4) in their proper locations according to the key code.
  4. Pull the side bar (3) out with your fingers so that the tumblers drop completely into the lock cylinder core.
  5. Lubricate each of the lock cylinder tumblers with GM P/N 12345996 or equivalent.
  6. Insert one tumbler spring (2) above each tumbler.
  7. Insert the spring retainer (1) so that the end prongs slide into the slots at each end of the lock cylinder core.

  8. Object Number: 6490  Size: SH
  9. Press down the retainer (2) firmly until the retainer is below the surface of the lock cylinder core (3).
  10. Insert the key into the lock cylinder core (3). The side bar (4) will drop down below the surface of the lock cylinder core if the tumblers have been installed properly. If the side bar does not drop down, verify that the key code is correct and repeat the lock cylinder coding procedure.
  11. Insert the lock cylinder core into the lock cylinder housing. The lock cylinder core should rotate within the lock cylinder housing when the key is in the lock cylinder core. If the lock cylinder core does NOT rotate, verify that the key code is correct, and repeat the lock cylinder coding procedure.
  12. Remove the lock cylinder core from the lock cylinder housing.
  13. Notice: Install a piece of thick leather or wood at each vise jaw to prevent damage to the lock cylinder core.

  14. Remove the key from the lock cylinder core and firmly secure the lock cylinder core in a vise so that the vice jaws contact the front and rear of the lock cylinder and the spring retainer is facing up.
  15. Using a small hammer and a flat-bladed tool, deform the lock cylinder material over each end of the spring retainer.
  16. Insert the lock cylinder core into the lock cylinder housing.
  17. Install the lock cylinder actuator arm to the back of the lock cylinder and install the lock cylinder actuator arm retainer.

Door Lock Cylinder Capping Procedure

  1. Hold the lock cylinder so that the lock cylinder opening is facing up.
  2. Install the lock cylinder door springs and the lock cylinder door to the lock cylinder.
  3. Press and hold the lock cylinder cap down on the lock cylinder. The lock cylinder cap must be completely seated to the lock cylinder.
  4. Important: Make sure that the lock cylinder cap is held tight against the lock cylinder while turning the lock cylinder over so that the lock cylinder door springs do not fall out.

  5. Hold the lock cylinder cap against the lock cylinder, turn the lock cylinder over and place it face down on a surface that will allow for capping and will not damage the lock cylinder cap.
  6. Using a blunt-ended tool, fold any two opposing lock cylinder cap tabs over the edge of the lock cylinder housing.
  7. Inspect for proper positioning of the lock cylinder door and the lock cylinder cap by inserting the key through the lock cylinder door and into the lock cylinder.
  8. 6.1. If the key completely enters the lock cylinder and the lock cylinder rotates, remove the key from the lock cylinder and fold the remaining lock cylinder cap tabs over the edge of the lock cylinder.
    6.2. If the key does NOT completely enter the lock cylinder, remove the key from the lock cylinder. Remove the lock cylinder cap and repeat the capping procedure.

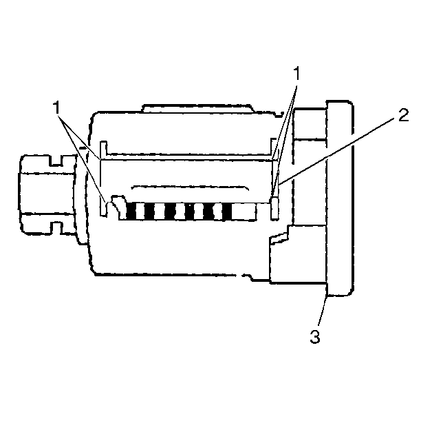
Instrument Panel Lower Compartment Lock Cylinder Coding

The instrument panel lower compartment lock cylinder uses snap-in tumblers. The lock cylinder has four or five tumbler positions. The number 1 or 2 positions in the lock cylinder are occupied by a brass retainer/tumbler. The 2 through 5 positions, or 3 through 5 positions, are standard tumbler positions, depending on cylinder type.

  1. Determine the tumbler numbers and arrangement as described in Key Identification and Usage
  2. Install the tumbler springs into their respective locations in the lock cylinder core.
  3. Insert each tumbler over each spring according to the key code.
  4. Press in the tumbler firmly until it snaps into the lock cylinder.
  5. Insert the key into the lock cylinder.
  6. Insert the key into the lock cylinder core. The side bar will drop down below the surface of the lock cylinder core if the tumblers have been installed properly. If the side bar does not drop down, verify that the key code is correct, and repeat the lock cylinder coding procedure.
  7. Insert the lock cylinder core into the lock cylinder housing. The lock cylinder core should rotate within the lock cylinder housing when the key is in the lock cylinder core. If the lock cylinder core does NOT rotate, verify that the key code is correct, and repeat the lock cylinder coding procedure.