GM Service Manual Online
For 1990-2009 cars only

Tools Required

J 36850 Assembly Lubricant (or equivalent)


    Object Number: 49396  Size: SH
  1. Inspect the control valve body spacer plate (370) for the following conditions:
  2. • Plugged holes
    • Damaged gasket sealing surfaces
    • Plugged or damaged screen/seal assemblies (382)

    Object Number: 12988  Size: SH
  3. Inspect each ball check valve seat (one at a time) on the spacer plate (370) for excessive peening.
  4. • Place a ball check valve (372) on each seat
    • Use a flashlight to look for visible light between the ball check valve and the seat.
    • If light is visible between the ball check valve and the seat, replace the spacer plate assembly (370).

    Object Number: 48229  Size: SH
  5. Install four ball check valves (372) into the case cover (400), in the positions shown. Use J 36850 or equivalent in order to hold the ball check valves in the case cover (400).

  6. Object Number: 49399  Size: SH
  7. Install the two larger ball check valves (373) and the four smaller ball check valves (372) into the control valve body (300). Use J 36850 or equivalent in order to retain the ball check valves in the control valve body (300).

  8. Object Number: 49398  Size: SH
  9. Install the screen/seal assemblies (382) into the spacer plate assembly (370).
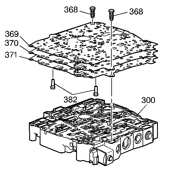
  10. Install the control valve body to spacer plate gasket (371), the spacer plate assembly (370) and the case cover to spacer plate gasket (369) onto the control valve body (300).
  11. Install the bolts (368) to hold the spacer plate and gaskets onto the control valve body (300).

  12. Object Number: 49400  Size: SH
  13. Install the control valve body alignment sleeve (410) into the case cover (400).
  14. Important: 

       • Use the control valve body alignment sleeve (410) and turbine shaft sleeve in the case cover (400) as guides.
       • Be sure that the ball check valves do not drop out of the control valve body (300) during assembly.

  15. Install the control valve body (300) onto the case cover (400).

  16. Object Number: 48220  Size: SH
  17. Install the transmission fluid pressure (TFP) manual valve position switch assembly (395) onto the control valve body (300).

  18. Object Number: 48214  Size: SH

    Important: Finger start the bolts to prevent cross-threading.

  19. Install the control valve body bolts (374-381, 384) as indicated.
  20. Important: 

       • Tighten the bolts in a spiral pattern starting with the bolts at the center of the control valve body.
       • If the bolts are tightened at random, valve bores may become distorted and inhibit proper valve operation.

    Notice: Use the correct fastener in the correct location. Replacement fasteners must be the correct part number for that application. Fasteners requiring replacement or fasteners requiring the use of thread locking compound or sealant are identified in the service procedure. Do not use paints, lubricants, or corrosion inhibitors on fasteners or fastener joint surfaces unless specified. These coatings affect fastener torque and joint clamping force and may damage the fastener. Use the correct tightening sequence and specifications when installing fasteners in order to avoid damage to parts and systems.

  21. Tighten the control valve body bolts (374-381, 384) as indicated by the following list.
  22. Tighten

        • 374 -- 12 N·m (106 lb in)
        • 375 -- 12 N·m (106 lb in)
        • 376 -- 12 N·m (106 lb in)
        • 377 -- 12 N·m (106 lb in)
        • 378 -- 12 N·m (106 lb in)
        • 379 -- 16 N·m (11 lb ft)
        • 380 -- 25 N·m (18 lb ft)
        • 381 -- 8 N·m (70 lb in)
        • 384 -- 12 N·m (106 lb in)