GM Service Manual Online
For 1990-2009 cars only

Tools Required

    • J 26958 Output Shaft Loading and Aligning Tool
    • J 26958-10B Adapter Plug
    • J 33381-A Final Drive Remover and Installer
    • J 33386-A Input Shaft End Play Tool
    • J 38385 Output Shaft Loading Tool Adapter
    • J 43425 Output Shaft Loading Tool Adapter

    Object Number: 10544  Size: SH
  1. Adjust the collar on tool J 33381-A to the 4T65-E CLUTCH & DRUM setting.

  2. Object Number: 10551  Size: SH
  3. Install J 33381-A into the input clutch housing assembly (632).
  4. Tighten the threaded rod of J 33381-A until the rod is finger tight.
  5. Use J 33381-A in order to lift the input clutch housing assembly (632). The sprag clutch assemblies will also be attached.
  6. Install the input clutch housing assembly (632) into the case. Be sure that the input clutch housing assembly is down all the way.

  7. Object Number: 417963  Size: SH

    Important: The tool J 38385  (3) is used on a standard duty transmission, and J 43425  (3) is used on a heavy duty transmission.

  8. Install J 38385  (3) for a standard duty transmission or J 43425  (3) for a heavy duty transmission.
  9. Important: The tool J 26958-10B  (2) is model specific and can be used on a standard duty and a heavy duty transmission. This tool has a small end (4) and a larger end (5). Standard duty would use the smaller end (4) facing down, and a heavy duty would use the larger end (5) facing down.

  10. Install J 26958-10B  (2) depending on model. Stadard duty uses this tool with the smaller end (4) facing down. Heavy duty uses this tool with the larger end (5) facing down.
  11. Important: Install bolts and tighten securely to prevent tool deflection during end play measurement.

  12. Install J 26958  (1) onto the case extension (6).

  13. Object Number: 417964  Size: SH
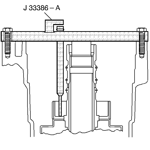
  14. Using two bolts, install J 33386-A onto the case.
  15. Tighten the bolts in order to securely hold J 33386-A .
  16. Tighten J 26958 finger tight in order to eliminate differential carrier end play.

  17. Object Number: 417965  Size: SH
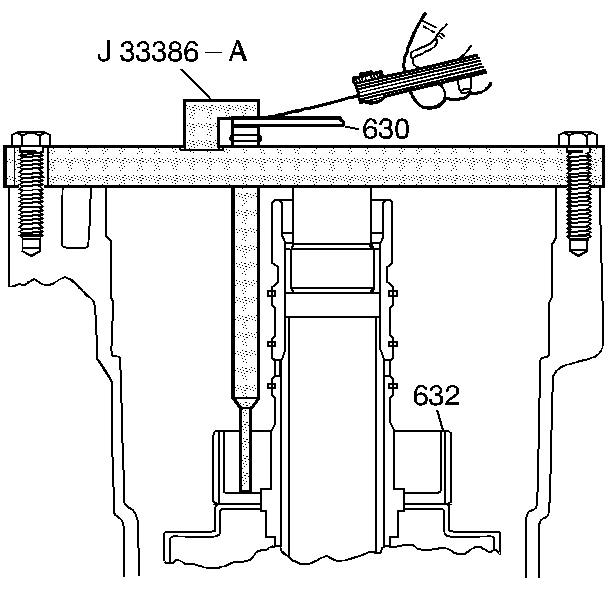
  18. Insert the thrust washer (630) from the input clutch housing into J 33386-A as indicated. If the thrush washer will not fit into J 33386-A , select the next size smaller thrust washer and recheck.
  19. Use a feeler gauge in order to measure the clearance between J 33386-A and the thrust washer (630).
  20. • If the clearance is less than 0.1521 mm (0.006 in), use the current size thrust washer.
    • If the clearance is 0.1521 mm (0.006 in) or more, select the next size larger thrust washer and recheck.
    • Refer to the Bearing/Input Clutch Hub Selective Thrust Washer (630) Selection Guide in End Play Specifications .

    Object Number: 10551  Size: SH
  21. Remove J 33386-A .
  22. Adjust the collar on tool J 33381-A to the 4T65-E CLUTCH & DRUM setting. Make sure that the threaded rod is fully loosened.
  23. Install J 33381-A into the input clutch housing assembly (632).
  24. Tighten the threaded rod of J 33381-A until the rod is finger tight.
  25. Use J 33381-A in order to lift the input clutch housing assembly (632). The sprag clutch assemblies will also be attached.
  26. Remove the input clutch housing assembly (632) from the case.

  27. Object Number: 417963  Size: SH
  28. Position the transmission so that the oil pan is facing down.
  29. Remove J 26958  (1), J 26958-10B  (2), and J 38385  (3) or J 43425  (3).