GM Service Manual Online
For 1990-2009 cars only
Makes
🢒
Chevrolet
🢒
1999
🢒
Monte Carlo
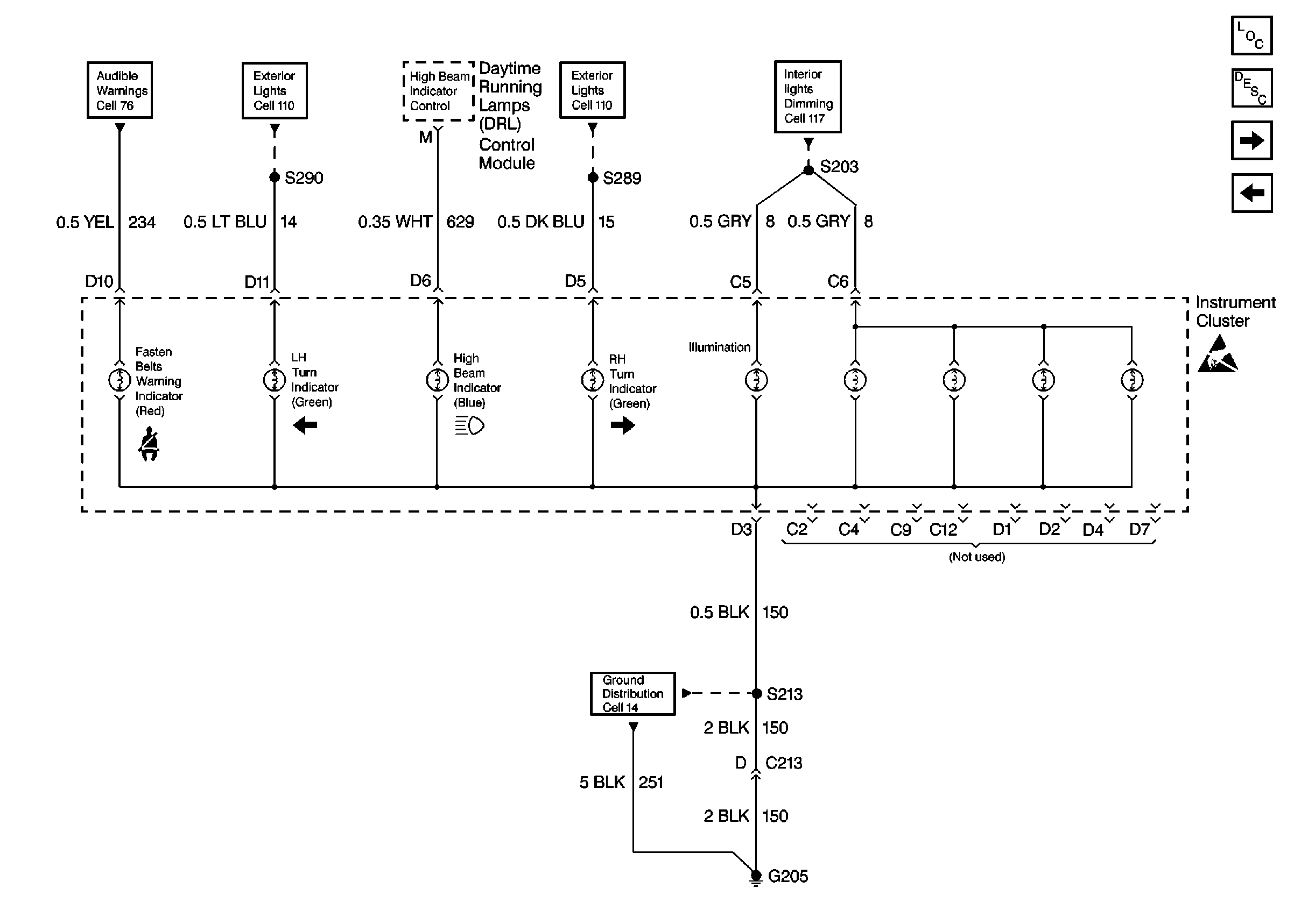
🢒 Cell 81: Instrument Cluster w/Analog Speedometer (Continued)
Cell 81: Instrument Cluster w/Analog Speedometer (Continued)
Cell 81: Instrument Cluster w/Analog Speedometer (Continued)
Instrument Cluster Components
Instrument Cluster Circuit Description
Cell 81: Instrument Cluster w/Analog Speedometer 3 of 4
Cell 81: Instrument Cluster w/ Digital Speedometer (Continued)
Handling ESD Sensitive Parts Notice
Ground Distribution Schematics
Interior Lights Dimming Schematics
Exterior Lights Schematics
Exterior Lights Schematics
Audible Warnings Schematics