GM Service Manual Online
For 1990-2009 cars only
Makes
🢒
Chevrolet
🢒
1999
🢒
Monte Carlo
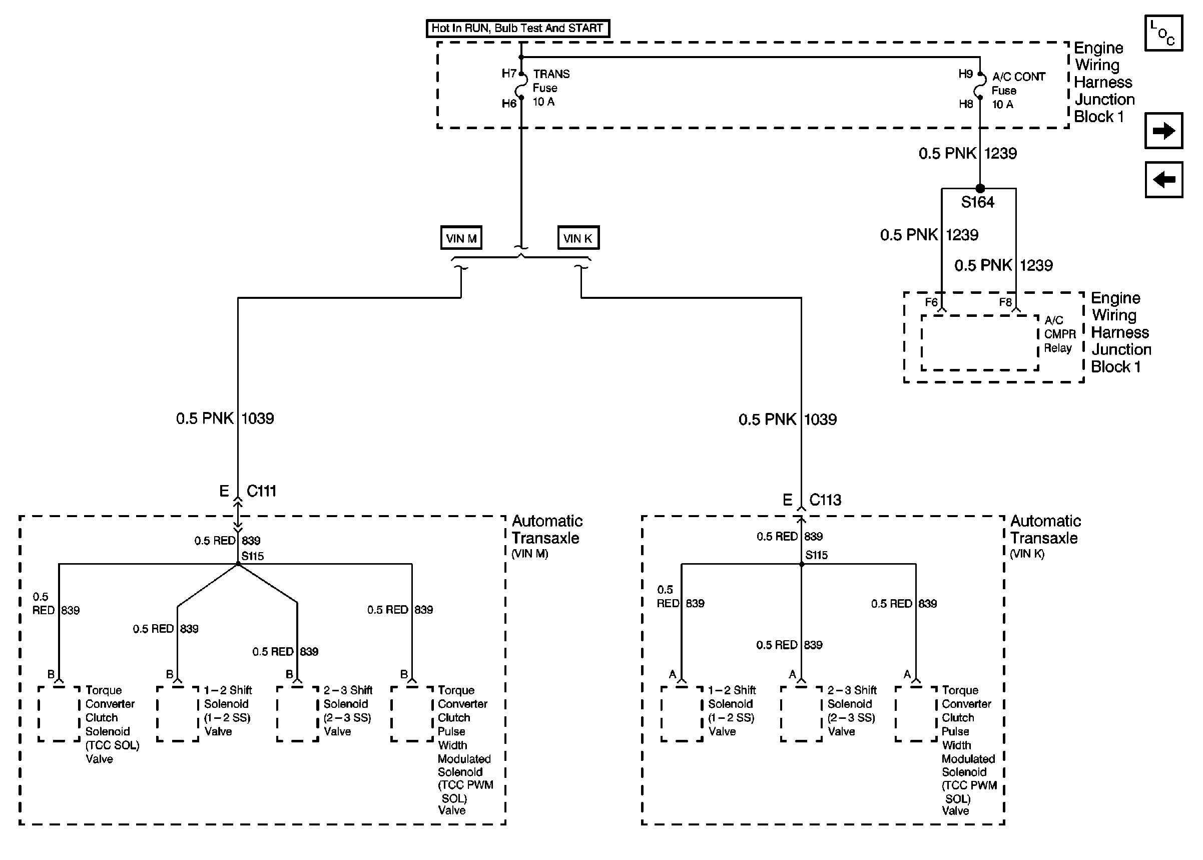
🢒 Cell 11: A/C CONT, and TRANS Fuses
Cell 11: A/C CONT, and TRANS Fuses
Cell 11: A/C CONT, and TRANS Fuses
Power and Grounding Components
Cell 11: PCM BAT, and R/CMPT REL Fuses
Cell 11: ELEK IGN, F/INJN, and PCM IGN Fuses