GM Service Manual Online
For 1990-2009 cars only
Makes
🢒
Chevrolet
🢒
1999
🢒
Monte Carlo
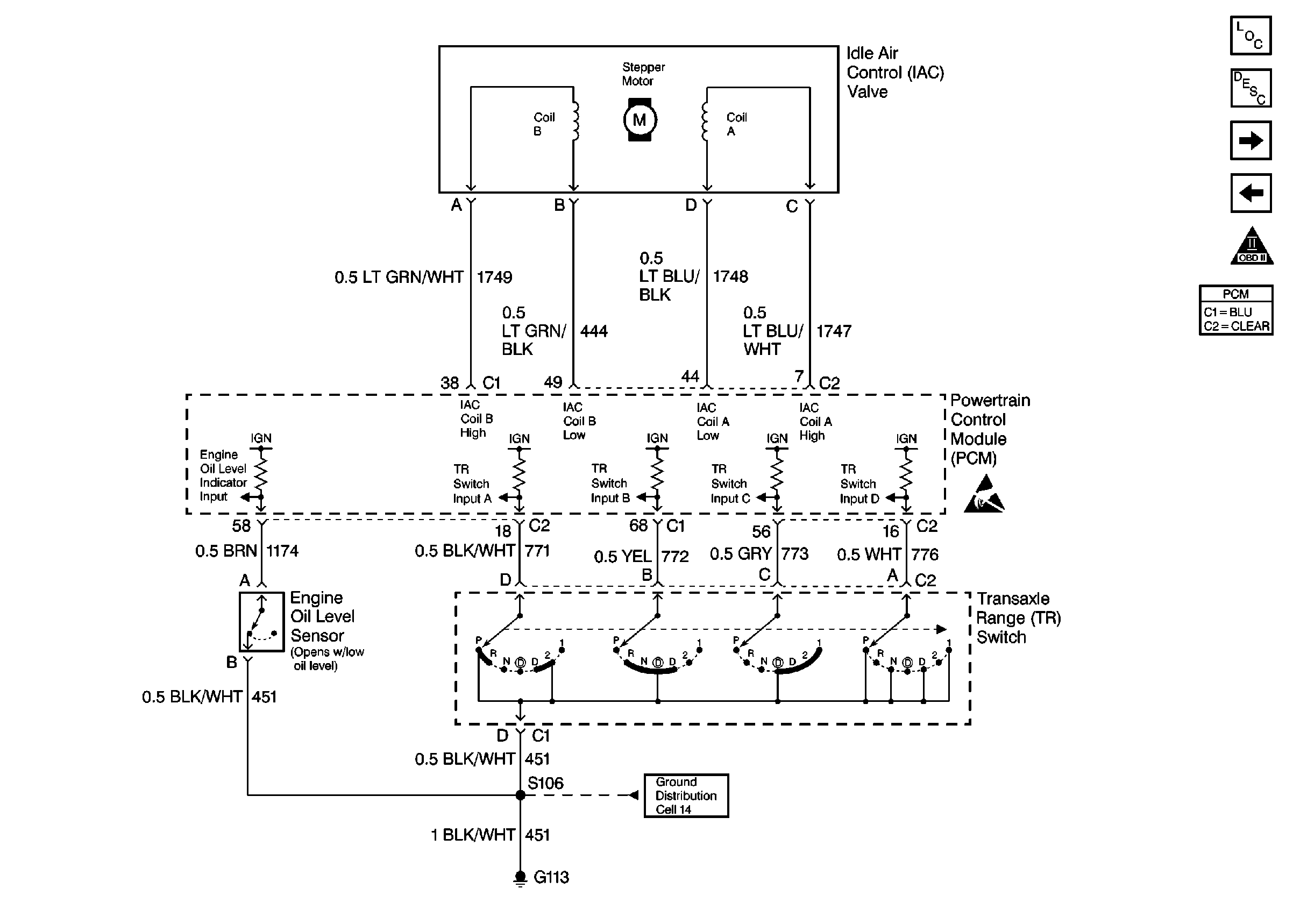
🢒 Cell 21: Engine Data Sensors-IAC, Engine Oil Level
Cell 21: Engine Data Sensors-IAC, Engine Oil Level
Cell 21: Engine Data Sensors-IAC, Engine Oil Level
Engine Controls Components
Powertrain Control Module Description
Handling ESD Sensitive Parts Notice
Cell 14: G111 and G113
OBD II Symbol Description Notice
Cell 21: Engine Data Sensors-MAF, EVAP Vent, EVAP Purge, EGR
Cell 21: Engine Data Sensors-Indicator Lamps