GM Service Manual Online
For 1990-2009 cars only
Figure 1:

G101


Object Number: 661971  Size: FS
Master Electrical Component List
G100, G111, G113, G117, and G151 (1 of 2)
Figure 2:

G100, G111, G113 (1 of 2), G117, G151,and G171


Object Number: 661974  Size: FS
Master Electrical Component List
G113 (2 of 2)
G101
G113 (2 of 2)
Figure 3:

G113 (2 of 2)


Object Number: 661977  Size: FS
Master Electrical Component List
G201 (1 of 2)
G100, G111, G113, G117, and G151 (1 of 2)
G100, G111, G113, G117, and G151 (1 of 2)
Figure 4:

G201 (1 of 2)


Object Number: 661980  Size: FS
Master Electrical Component List
G201 (2 of 2)
G113 (2 of 2)
G201 (2 of 2)
Power and Grounding Schematic Icons
Figure 5:

G201 (2 of 2)


Object Number: 661982  Size: FS
Master Electrical Component List
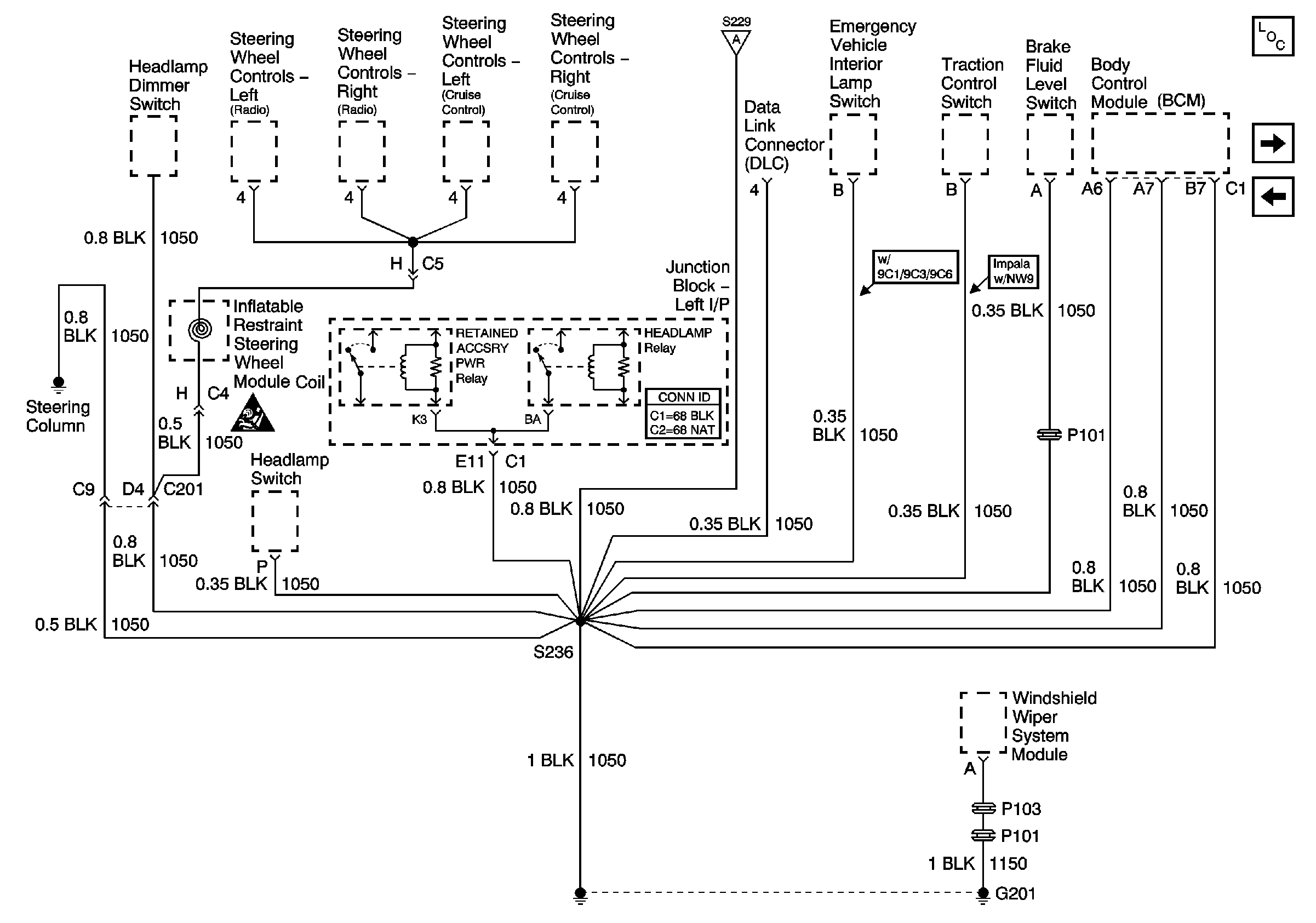
G202
G201 (1 of 2)
G201 (1 of 2)
Figure 6:

G202


Object Number: 661983  Size: FS
Master Electrical Component List
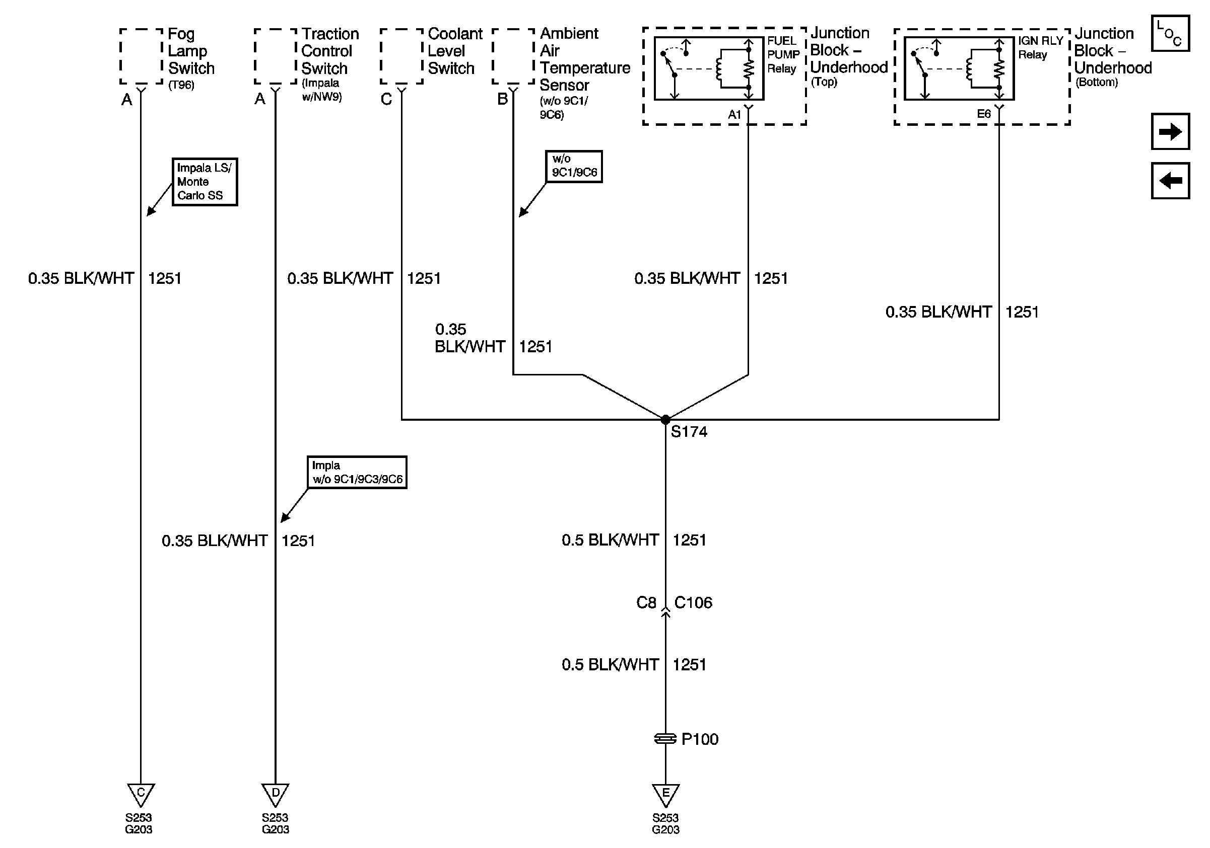
G203 (1 of 3)
G201 (2 of 2)
Figure 7:

G203 (1 of 3)


Object Number: 661987  Size: FS
Master Electrical Component List
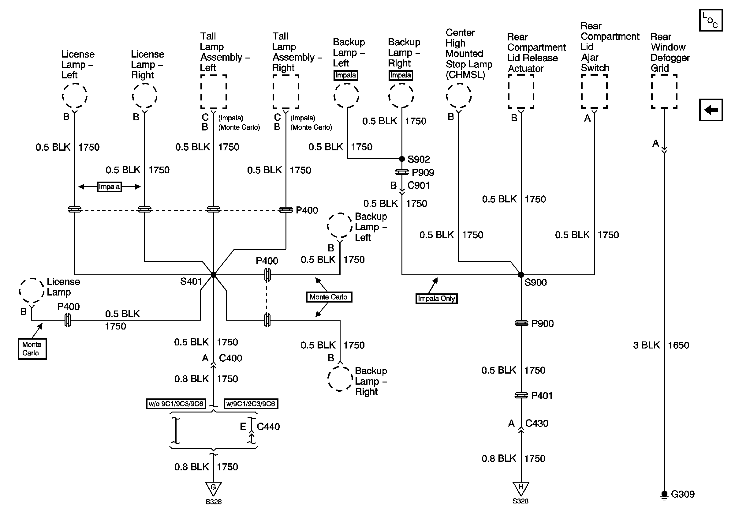
G203 (2 of 3)
G202
G203 (2 of 3)
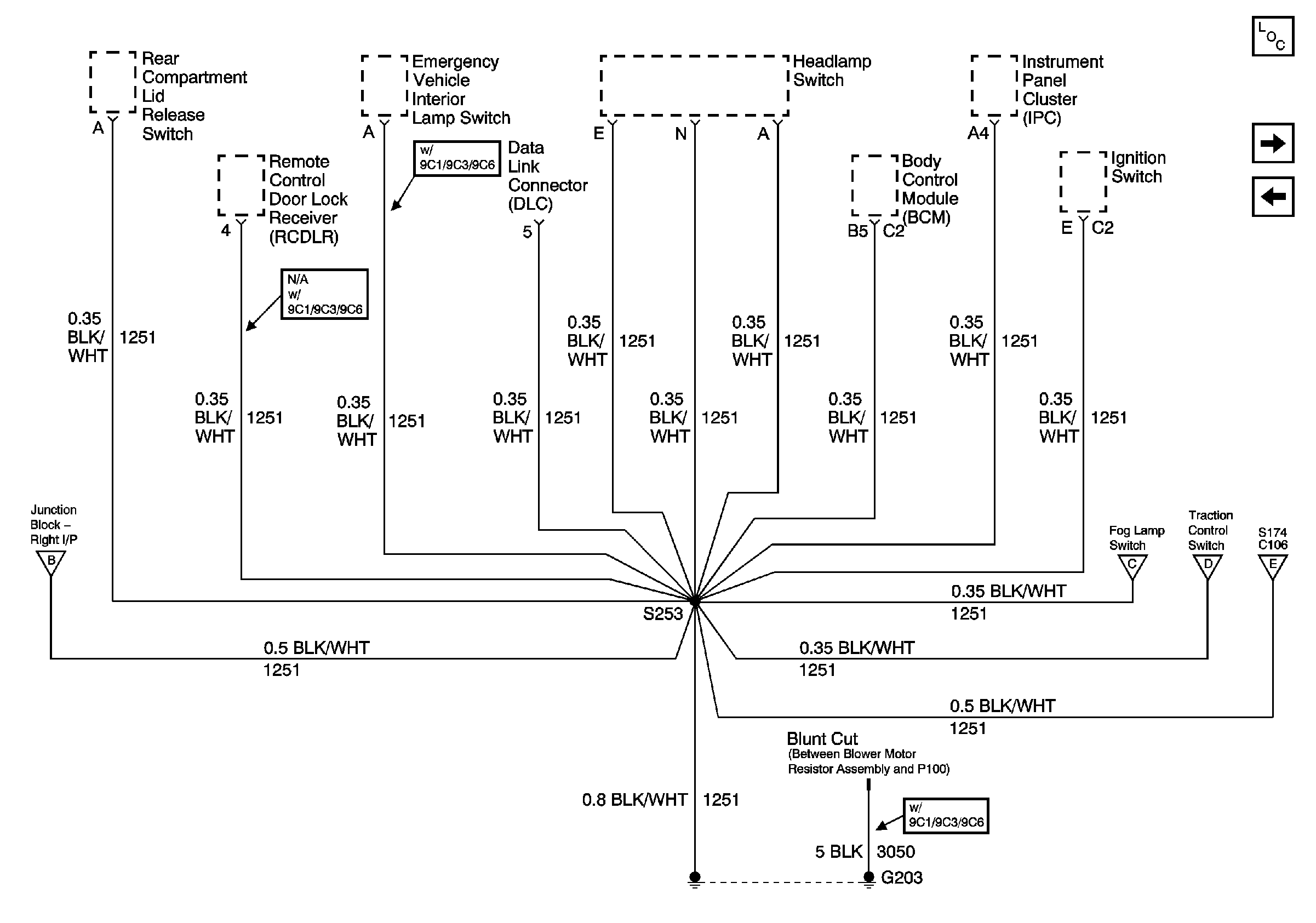
G203 (3 of 3)
Figure 8:

G203 (2 of 3)


Object Number: 661986  Size: FS
Master Electrical Component List
G203 (3 of 3)
G203 (1 of 3)
G203 (1 of 3)
Figure 9:

G203 (3 of 3)


Object Number: 661989  Size: FS
Master Electrical Component List
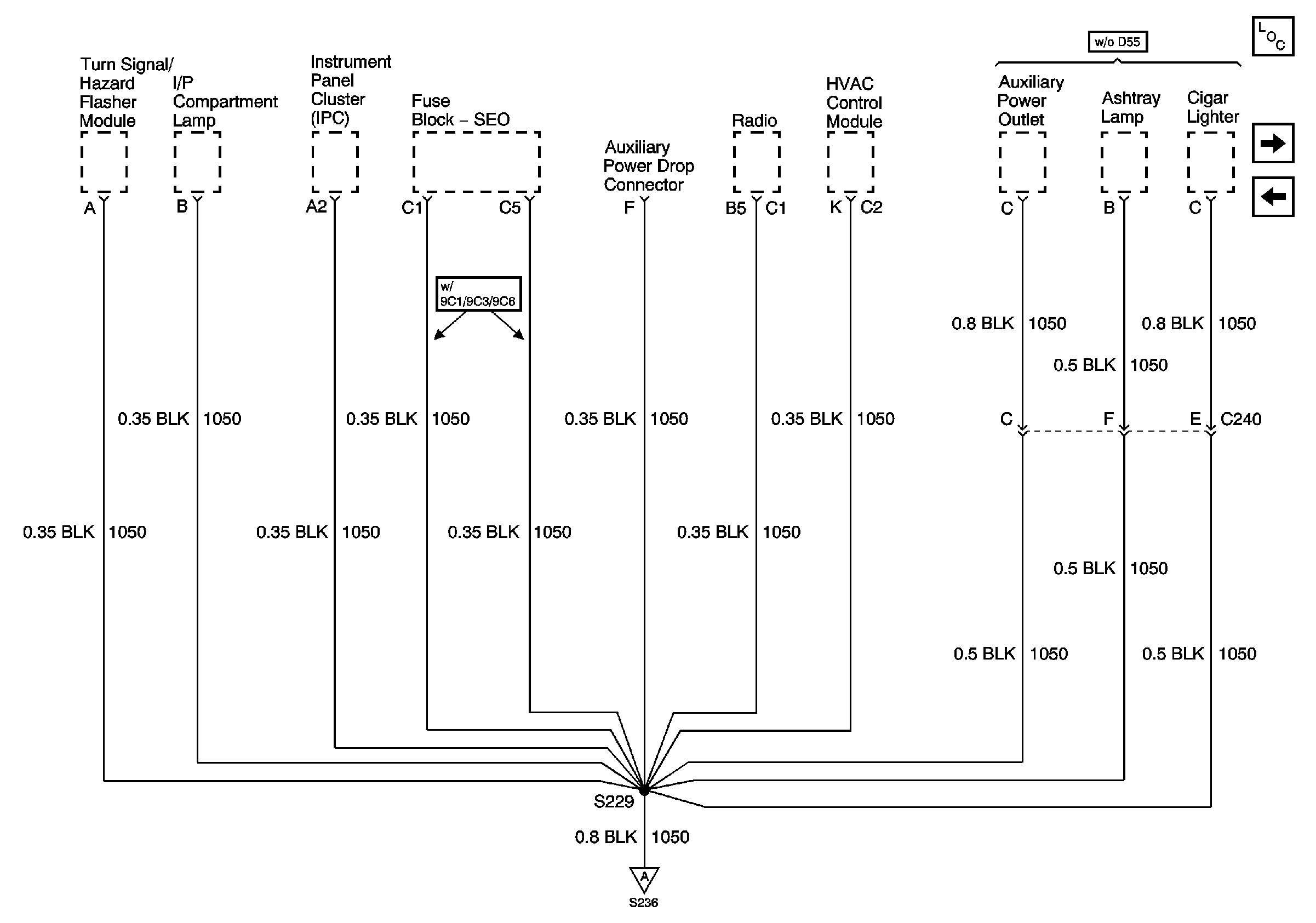
G301 (1 of 2)
G203 (2 of 3)
G203 (1 of 3)
G203 (1 of 3)
Figure 10:

G301 (1 of 2)


Object Number: 661991  Size: FS
Master Electrical Component List
G301 (2 of 2)
G203 (3 of 3)
Power and Grounding Schematic Icons
G301 (2 of 2)
Figure 11:

G301 (2 of 2)


Object Number: 661992  Size: FS
Master Electrical Component List
G302 (1 of 2)
G301 (1 of 2)
G301 (1 of 2)
Figure 12:

G302 (1 of 2)


Object Number: 661993  Size: FS
Master Electrical Component List
G302 (2 of 2) and G309
G301 (2 of 2)
G302 (2 of 2) and G309
Figure 13:

G302 (2 of 2) and G309


Object Number: 661995  Size: FS
Master Electrical Component List
G302 (1 of 2)
G302 (1 of 2)
G302 (1 of 2)