GM Service Manual Online
For 1990-2009 cars only

Removal Procedure

  1. Raise and support the vehicle. Refer to Lifting and Jacking the Vehicle in General Information.
  2. Place a drain pan under the vehicle.
  3. Remove the tire and wheel assembly. Refer to Tire and Wheel Removal and Installation in Tires and Wheels.

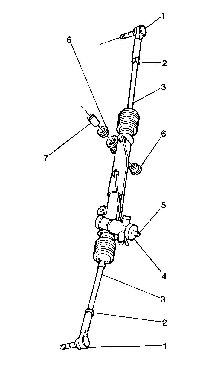
  4. Object Number: 454261  Size: SH

    Caution: Failure to disconnect the intermediate shaft from the rack and pinion stub shaft can result in damage to the steering gear and/or intermediate shaft. This damage can cause loss of steering control which could result in personal injury.

  5. Remove the intermediate steering shaft lower pinch bolt at the power steering gear stub shaft.
  6. Notice: Set steering shaft so the block tooth on the upper steering shaft is at the 12 o'clock position, the wheels on the vehicle are straight ahead and set the ignition switch to the LOCK position. Failure to follow these procedures could result in damage to the coil.

  7. Remove the intermediate steering shaft from the power steering stub shaft (5). Refer to Intermediate Steering Shaft Replacement in Steering Wheel and Column-Tilt.
  8. Remove both the tie rod ends. Refer to Rack and Pinion Outer Tie Rod End Replacement .

  9. Object Number: 282087  Size: MH
  10. Support the rear of the frame (3) using jackstands.
  11. Remove the frame bolts from the rear of the frame. Refer to Frame Replacement in Frame and Underbody.
  12. Notice: Do not lower the rear of the frame too far as damage to the engine components nearest to the cowl may result.

  13. Lower the rear of the frame (3).
  14. Remove the power steering pressure line from the power steering gear. Refer to Power Steering Pressure Pipe/Hose Replacement .
  15. Remove the power steering return line from the power steering gear. Refer to Power Steering Return Hose Replacement .
  16. Remove the power steering gear mounting bolts and nuts (1, 4).
  17. Remove the power steering gear through the left wheel opening.

Installation Procedure


    Object Number: 454261  Size: SH
  1. Install the power steering gear through the left wheel opening.
  2. Notice: Use the correct fastener in the correct location. Replacement fasteners must be the correct part number for that application. Fasteners requiring replacement or fasteners requiring the use of thread locking compound or sealant are identified in the service procedure. Do not use paints, lubricants, or corrosion inhibitors on fasteners or fastener joint surfaces unless specified. These coatings affect fastener torque and joint clamping force and may damage the fastener. Use the correct tightening sequence and specifications when installing fasteners in order to avoid damage to parts and systems.

  3. Install the power steering gear mounting bolts and nuts (1, 4).
  4. Tighten
    Tighten the power steering gear mounting bolts to 80 N·m (59 lb ft).


    Object Number: 282087  Size: MH
  5. Inspect the threads on the power steering pressure line and the power steering return hose fittings.
  6. Inspect the O-ring seals on the power steering lines.
  7. Replace the seals if damaged, lubricate the seals before installation.
  8. Install the clamp that holds the power steering lines to the power steering gear .
  9. Install the power steering pressure line to the power steering gear. Refer to Power Steering Pressure Pipe/Hose Replacement .
  10. Install the power steering return line to the power steering gear. Refer to Power Steering Return Hose Replacement .
  11. Raise the frame (3).
  12. Install NEW rear frame bolts. Refer to Frame Replacement in Frame and Underbody.
  13. Remove the jackstands.
  14. Install the tie rod ends. Refer to Rack and Pinion Outer Tie Rod End Replacement .

  15. Object Number: 282083  Size: LH

    Notice: Set steering shaft so the block tooth on the upper steering shaft is at the 12 o'clock position, the wheels on the vehicle are straight ahead and set the ignition switch to the LOCK position. Failure to follow these procedures could result in damage to the coil.

    Important: During the installation of the intermediate steering shaft, ensure the steering shaft is seated before you install the pinch bolt. The two mating shafts may disengage if the pinch bolt is inserted into the coupling before the steering shaft installation.

  16. Install the intermediate steering shaft to the power steering gear stub shaft (5). Refer to Intermediate Steering Shaft Replacement in Steering Wheel and Column-Tilt.

  17. Object Number: 454261  Size: SH
  18. Install the intermediate steering shaft lower pinch bolt.
  19. Tighten
    Tighten the intermediate steering shaft lower pinch bolt to 47 N·m (35 lb ft).

  20. Install the tire and wheel assembly. Refer to Tire and Wheel Removal and Installation in Tires and Wheels.
  21. Remove the drain pan from under the vehicle.
  22. Lower the vehicle.
  23. Fill the power steering system. Refer to Checking and Adding Power Steering Fluid .
  24. Bleed the power steering system. Refer to Power Steering System Bleeding .
  25. Inspect the power steering system for leaks. Refer to Power Steering Fluid Leaks .
  26. Preform a front end alignment. Refer to Wheel Alignment Measurement in Wheel Alignment.