GM Service Manual Online
For 1990-2009 cars only
Makes
🢒
Chevrolet
🢒
2001
🢒
Monte Carlo
🢒
Body and Accessories
🢒
Cruise Control
🢒 Cruise Control Schematics
Figure
1:
Monte Carlo
Master Electrical Component List
Cruise Control Description and Operation
Impala
AUX PWR, BRK SW, C/LTR, FRT PARK LP, HAZ SW, HVAC BLO, PWR DROP, and RT I/P#2 Fuses
Compressor Control
Compressor Control
Cruise Control Schematic Icons
G113 (2 of 2)
Ground, Odometer/PRNDL, Power, and VSS
PCM and Stoplamps Switch
Stoplamps (Monte Carlo)
Figure
2:
Impala
Master Electrical Component List
Cruise Control Description and Operation
Indicator Control
Monte Carlo
Cruise Control Schematic Icons
AUX PWR, BRK SW, C/LTR, FRT PARK LP, HAZ SW, HVAC BLO, PWR DROP, and RT I/P#2 Fuses
Compressor Control
Compressor Control
G113 (2 of 2)
Ground, Odometer/PRNDL, Power, and VSS
PCM and Stoplamps Switch
Stop Lamps (Impala w/o 9C1/9C3/9C6)
Stop Lamps (Impala w/o 9C1/9C3/9C6)
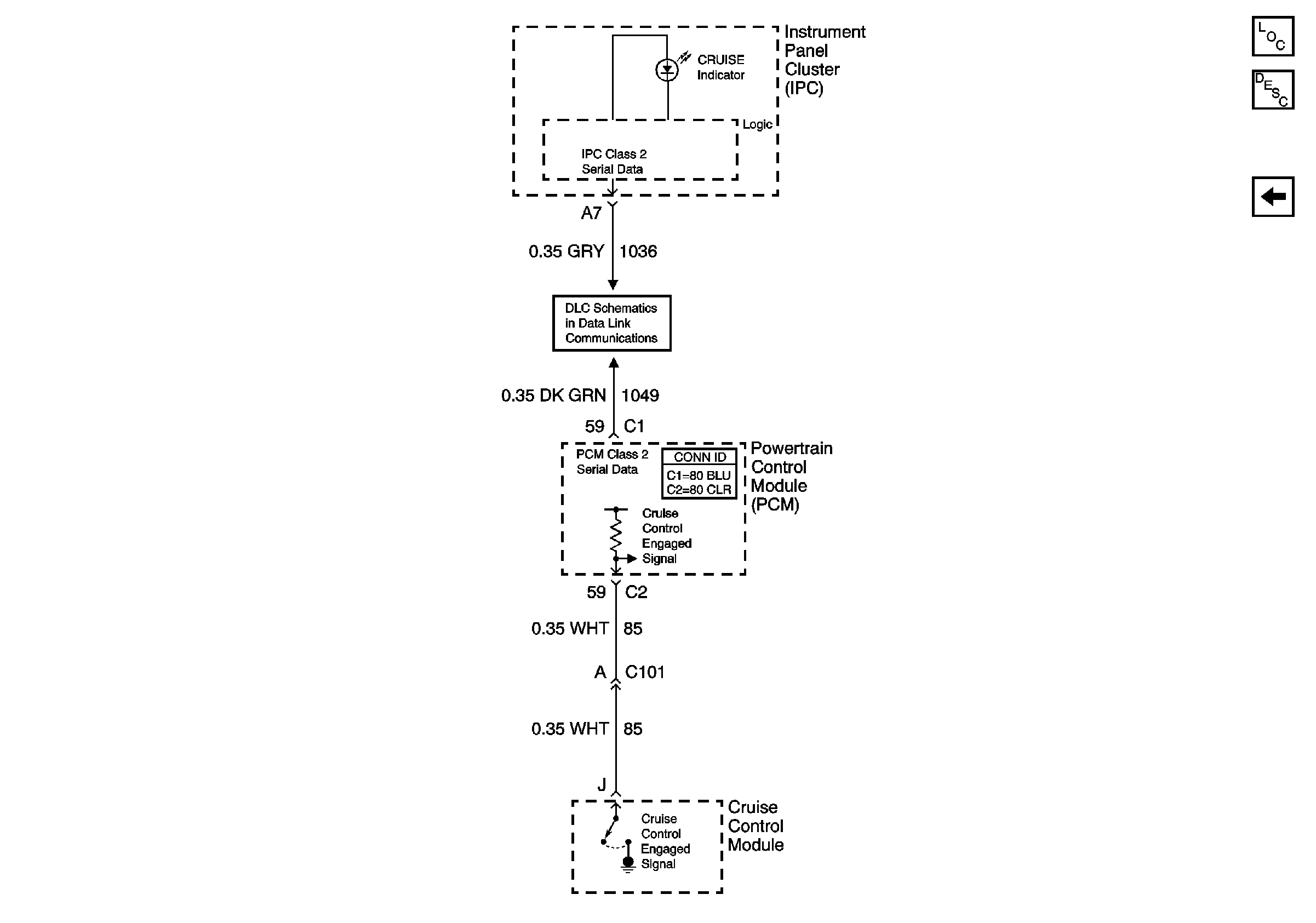
Figure
3:
Indicator Control
Master Electrical Component List
Cruise Control Description and Operation
Impala
DLC Schematics