GM Service Manual Online
For 1990-2009 cars only
Makes
🢒
Chevrolet
🢒
2001
🢒
Monte Carlo
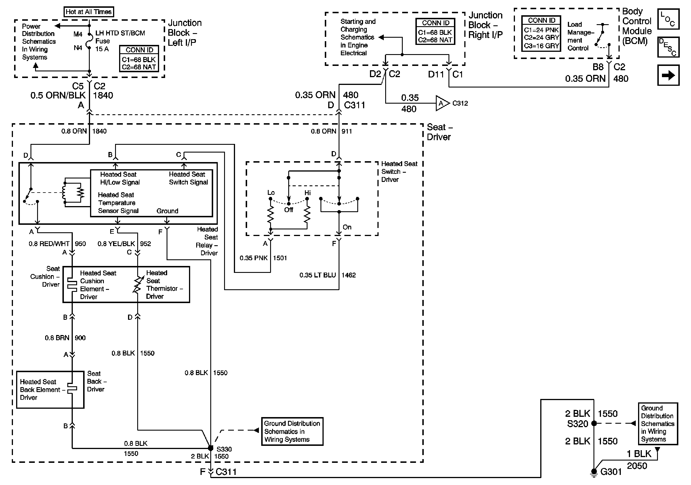
🢒 Driver Seat (Impala)
Driver Seat (Impala)
Driver Seat (Impala)
Master Electrical Component List
Heated Seats Description and Operation
Front Passenger Seat (Impala)
CLSTR/BCM, DR LK, LEFT IP, LT HTD ST/BCM, and PWR MIR Fuses, RETAINED ACCSRY PWR Circuit Breaker, HEADLAMP, and RETAINED ACCSRY PWR Relays
Battery Rundown Protection and Load Management
Front Passenger Seat (Impala)
G301 (1 of 2)
G301 (1 of 2)