GM Service Manual Online
For 1990-2009 cars only
Makes
🢒
Chevrolet
🢒
2002
🢒
Monte Carlo
🢒
Body and Accessories
🢒
Seats
🢒 Power Seats Schematics
Figure
1:
Driver Seat
Master Electrical Component List
Power Seats System Description and Operation
Passenger Seat
B/U LP, DIC/RKE, PWR DROP, and RH HTD ST Fuses, PWR SEATS Circuit Breaker
G301 (1 of 2)
G301 (1 of 2)
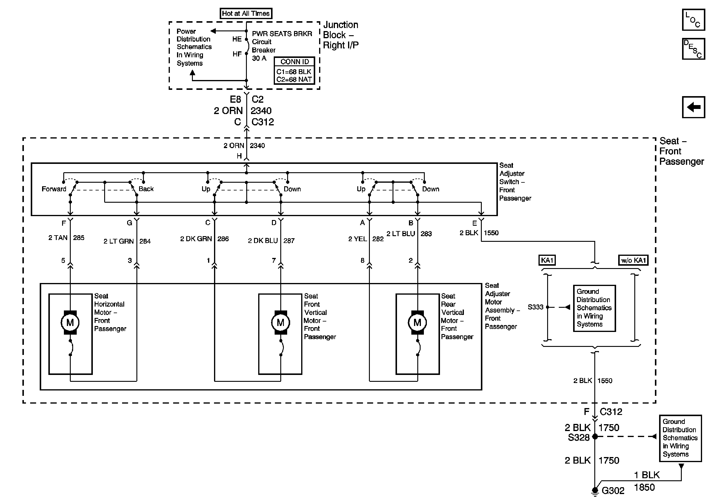
Figure
2:
Passenger Seat
Master Electrical Component List
Power Seats System Description and Operation
Driver Seat
B/U LP, DIC/RKE, PWR DROP, and RH HTD ST Fuses, PWR SEATS Circuit Breaker
G302 (1 of 2)
G302 (1 of 2)