GM Service Manual Online
For 1990-2009 cars only

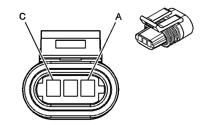
Camshaft Position (CMP) Sensor


Object Number: 523620  Size: CH

Connector Par Information

    • 12162279
    • 3-Way F Metri-Pack 150.2 P2S Series Sealed (MD GRY)

Pin

Wire Color

Circuit No.

Function

A

BRN/WHT

633

CMP Sensor Signal

B

BLK/WHT

836

Low Reference

C

WHT/BLK

644

12-Volt Reference

Crankshaft Position (CKP) Sensor


Object Number: 280765  Size: CH

Connector Part Information

    • 12162724
    • 4-Way F Metri-Pack 150.1 Series P2S (GRY)

Pin

Wire Color

Circuit No.

Function

A

LT BLU/WHT

1800

CKP Sensor 2 Signal

B

YEL

573

CKP Sensor 1 Signal

C

BLK/WHT

836

Low Reference

D

WHT/BLK

644

12-Volt Reference

Engine Coolant Temperature (ECT) Sensor


Object Number: 646176  Size: CH

Connector Part Information

    • 12162194
    • 2-Way F Metri-Pack 150.2 Series Pull to Seat Sealed (BLK)

Pin

Wire Color

Circuit No.

Function

A

BLK

470

Low Reference

B

YEL

410

ECT Sensor Signal

Evaporative Emissions (EVAP) Canister Purge Solenoid


Object Number: 684795  Size: CH

Connector Part Information

    • 12052643
    • 2-Way F Metri-Pack 150 Series Sealed (RED)

Pin

Wire Color

Circuit No.

Function

A

PNK

739

Ignition 1 Voltage

B

DK GRN/

WHT

428

EVAP Canister Purge Solenoid Control

Evaporative Emissions (EVAP) Canister Vent Solenoid


Object Number: 684829  Size: CH

Connector Part Information

    • 12124037
    • 2-Way F Metri-Pack 150 Series (BLK)

Pin

Wire Color

Circuit No.

Function

A

PNK

239

Ignition 1 Voltage

B

WHT

1310

EVAP Canister Vent Solenoid Control

Exhaust Gas Recirculation (EGR) Valve


Object Number: 684863  Size: CH

Connector Part Information

    • 12186057
    • 5-Way F Metri-Pack 150.2 P2S Series Sealed (BLK)

Pin

Wire Color

Circuit No.

Function

A

GRY/BLK

435

EGR Solenoid Low Control

B

BLK

2753

Low Reference

C

BRN

1456

EGR Valve Position Signal

D

GRY

2702

5-Volt Reference

E

RED

1676

EGR Solenoid High Control

Fuel Injector 1 (L36)


Object Number: 366123  Size: CH

Connector Part Information

    • 15411634
    • 2-Way F Micro-Pack 64 Series Sealed (GRY)

Pin

Wire Color

Circuit No.

Function

A

PNK

639

Ignition 1 Voltage

B

BLK

1744

Fuel Injector 1 Control

Fuel Injector 1 (L67)


Object Number: 684833  Size: CH

Connector Part Information

    • 12129140
    • 2-Way F Metri-Pack 280.1 Series Pull to Seat Sealed (BLK)

Pin

Wire Color

Circuit No.

Function

A

PNK

639

Ignition 1 Voltage

B

BLK

1744

Fuel Injector 1 Control

Fuel Injector 2 (L36)


Object Number: 366123  Size: CH

Connector Part Information

    • 15411634
    • 2-Way F Micro-Pack 64 Series Sealed (GRY)

Pin

Wire Color

Circuit No.

Function

A

PNK

639

Ignition 1 Voltage

B

LT GRN/BLK

1745

Fuel Injector 2 Control

Fuel Injector 2 (L67)


Object Number: 684833  Size: CH

Connector Part Information

    • 12129140
    • 2-Way F Metri-Pack 280.1 Series Pull to Seat Sealed (BLK)

Pin

Wire Color

Circuit No.

Function

A

PNK

639

Ignition 1 Voltage

B

LT GRN/BLK

1745

Fuel Injector 2 Control

Fuel Injector 3 (L36)


Object Number: 366123  Size: CH

Connector Part Information

    • 15411634
    • 2-Way F Micro-Pack 64 Series Sealed (GRY)

Pin

Wire Color

Circuit No.

Function

A

PNK

639

Ignition 1 Voltage

B

PNK/BLK

1746

Fuel Injector 3 Control

Fuel Injector 3 (L67)


Object Number: 684833  Size: CH

Connector Part Information

    • 12129140
    • 2-Way F Metri-Pack 280.1 Series Pull to Seat Sealed (BLK)

Pin

Wire Color

Circuit No.

Function

A

PNK

639

Ignition 1 Voltage

B

PNK/BLK

1746

Fuel Injector 3 Control

Fuel Injector 4 (L36)


Object Number: 366123  Size: CH

Connector Par Information

    • 15411634
    • 2-Way F Micro-Pack 64 Series Sealed (GRY)

Pin

Wire Color

Circuit No.

Function

A

PNK

639

Ignition 1 Voltage

B

LT BLU/BLK

844

Fuel Injector 4 Control

Fuel Injector 4 (L67)


Object Number: 684833  Size: CH

Connector Part Information

    • 12129140
    • 2-Way F Metri-Pack 280.1 Series Pull to Seat Sealed (BLK)

Pin

Wire Color

Circuit No.

Function

A

PNK

639

Ignition 1 Voltage

B

LT BLU/BLK

844

Fuel Injector 4 Control

Fuel Injector 5 (L36)


Object Number: 366123  Size: CH

Connector Part Information

    • 15411634
    • 2-Way F Micro-Pack 64 Series Sealed (GRY)

Pin

Wire Color

Circuit No.

Function

A

PNK

639

Ignition 1 Voltage

B

BLK/WHT

845

Fuel Injector 5 Control

Fuel Injector 5 (L67)


Object Number: 684833  Size: CH

Connector Part Information

    • 12129140
    • 2-Way F Metri-Pack 280.1 Series Pull to Seat Sealed (BLK)

Pin

Wire Color

Circuit No.

Function

A

PNK

639

Ignition 1 Voltage

B

BLK/WHT

845

Fuel Injector 5 Control

Fuel Injector 6 (L36)


Object Number: 366123  Size: CH

Connector Part Information

    • 15411634
    • 2-Way F Micro-Pack 64 Series Sealed (GRY)

Pin

Wire Color

Circuit No.

Function

A

PNK

639

Ignition 1 Voltage

B

YEL/BLK

846

Fuel Injector 6 Control

Fuel Injector 6 (L67)


Object Number: 684833  Size: CH

Connector Part Information

    • 12129140
    • 2-Way F Metri-Pack 280.1 Series Pull to Seat Sealed (BLK)

Pin

Wire Color

Circuit No.

Function

A

PNK

639

Ignition 1 Voltage

B

YEL/BLK

846

Fuel Injector 6 Control

Fuel Pump and Sender Assembly


Object Number: 684908  Size: CH

Connector Part Information

    • 15326631
    • 4-Way F GT 280 Series Sealed (BLK)

Pin

Wire Color

Circuit No.

Function

A

BLK

150

Ground

B

PPL

30

Fuel Gage Sensor Signal

C

BLK/WHT

651

Low Reference

D

GRY

120

Fuel Pump Supply Voltage

Fuel Tank Pressure (FTP) Sensor


Object Number: 516611  Size: CH

Connector Part Information

    • 12059595
    • 3-Way F Metri-Pack 150 Series (BLK)

Pin

Wire Color

Circuit No.

Function

A

ORN/BLK

469

Low Reference

B

DK GRN

890

Fuel Tank Pressure Sensor Signal

C

GRY/BLK

416

5-Volt Reference

Heated Oxygen Sensor (HO2S) Sensor 1


Object Number: 456551  Size: CH

Connector Part Information

    • 12160482
    • 4-Way F Metri-Pack 150 Series Sealed (BLK)

Pin

Wire Color

Circuit No.

Function

A

BLK

808

Low Reference

B

PPL

412

HO2S High Signal-Sensor 1

C

BLK/WHT

3113

HO2S Heater Low Control-Sensor 1

D

PNK

1039

Ignition 1 Voltage

Heated Oxygen Sensor (HO2S) Sensor 2


Object Number: 806613  Size: CH

Connector Part Information

    • 15326423
    • 4-Way M Metri-Pack 150 Series Sealed (GRY)

Pin

Wire Color

Circuit No.

Function

A

BLK

808

Low Reference

B

PPL/WHT

1668

HO2S High Signal-Sensor 2

C

BRN

3122

HO2S Heater Low Control-Sensor 2

D

PNK

1039

Ignition 1 Voltage

Idle Air Control (IAC) Valve


Object Number: 38608  Size: CH

Connector Part Information

    • 12162190
    • 4-Way F Metri-Pack 150.2 Sealed Pull to Seat (BLK)

Pin

Wire Color

Circuit No.

Function

A

LT GRN/BLK

444

IAC Coil B Low Control

B

LT GRN/WHT

1749

IAC Coil B High Control

C

LT BLU/BLK

1748

IAC Coil A Low Control

D

LT BLU/WHT

1747

IAC Coil A High Control

Ignition Control Module (ICM)


Object Number: 516619  Size: CH

Connector Part Information

    • 12124379
    • 14-Way F Metri-Pack 150.2 Series P2S Sealed (DK GRY)

Pin

Wire Color

Circuit No.

Function

A

WHT

423

IC Timing Control

B

TAN/BLK

424

IC Timing Signal

C

LT BLU/BLK

647

Medium Resolution Engine Speed Signal

D

PPL/WHT

430

Low Resolution Engine Speed Signal

E

WHT

121

Engine Speed Signal

F

BLK

630

Camshaft Position Signal

G

YEL

573

CKP Sensor 1 Signal

H

LT BLU/WHT

1800

CKP Sensor 2 Signal

J

BRN/WHT

633

CMP Sensor Signal

K

BLK/WHT

451

Ground

L

RED/BLK

453

Low Reference

M

BLK/WHT

836

Low Reference

N

WHT/BLK

644

12-Volt Reference

P

PNK

239

Ignition 1 Voltage

Intake Air Temperature (IAT) Sensor


Object Number: 646180  Size: CH

Connector Part Information

    • 12162199
    • 2-Way F Metri-Pack 150.2 Series Sealed, Pull to Seat (GRY)

Pin

Wire Color

Circuit No.

Function

A

BLK

2760

Low Reference

B

TAN

472

IAT Sensor Signal

Knock Sensor (KS) 1


Object Number: 95764  Size: CH

Connector Part Information

    • 12176800
    • 1-Way F Metri-Pack 150 Series Sealed (GRY)

Pin

Wire Color

Circuit No.

Function

1

DK BLU

496

KS 1 Signal

Knock Sensor (KS) 2


Object Number: 95764  Size: CH

Connector Part Information

    • 12176800
    • 1-Way F Metri-Pack 150 Series Sealed (GRY)

Pin

Wire Color

Circuit No.

Function

1

DK BLU

1876

KS 2 Signal

Manifold Absolute Pressure (MAP) Sensor (L36 or L67 Late Production)


Object Number: 684840  Size: CH

Connector Part Information

    • 12129946
    • 3-Way F Metri-Pack 150 Series Sealed (GRY)

Pin

Wire Color

Circuit No.

Function

A

ORN/BLK

469

Low Reference

B

LT GRN

432

MAP Sensor Signal

C

GRY

2704

5-Volt Reference

Manifold Absolute Pressure (MAP) Sensor (L67 Early Production)


Object Number: 280779  Size: CH

Connector Part Information

    • 12103771
    • 3-Way M Weather-Pack TWR (GRY)

Pin

Wire Color

Circuit No.

Function

A

ORN/BLK

469

Low Reference

B

LT GRN

432

MAP Sensor Signal

C

GRY

2704

5 Volt Reference

Mass Air Flow (MAF) Sensor


Object Number: 516611  Size: CH

Connector Part Information

    • 12059595
    • 3-Way F Metri-Pack Sealed (BLK)

Pin

Wire Color

Circuit No.

Function

A

YEL

492

MAF Sensor Signal

B

BLK/WHT

451

Ground

C

PNK

739

Ignition 1 Voltage

Supercharger Boost Control Solenoid (L67)


Object Number: 635009  Size: CH

Connector Part Information

    • 12052641
    • 2-Way F Metri-Pack Sealed (BLK)

Pin

Wire Color

Circuit No.

Function

A

PNK

739

Ignition 1 Voltage

B

GRY

1724

Boost Control Solenoid Control

Throttle Position (TP) Sensor


Object Number: 684807  Size: CH

Connector Part Information

    • 12110293
    • 3-Way F Metri-Pack 150 PS2 Series Sealed (BLK)

Pin

Wire Color

Circuit No.

Function

A

BLK

2752

Low Reference

B

DK BLU

417

TP Sensor Signal

C

GRY

2701

5-Volt Reference

Vehicle Speed Sensor (VSS)


Object Number: 646406  Size: CH

Connector Part Information

    • 15336004
    • 2-Way F GT 150 Series Sealed (BLK)

Pin

Wire Color

Circuit No.

Function

A

PPL

401

VSS Low Signal

B

YEL

400

VSS High Signal