GM Service Manual Online
For 1990-2009 cars only
Makes
🢒
Chevrolet
🢒
2004
🢒
Monte Carlo
🢒
Transmission/Transaxle
🢒
Automatic Transaxle - 4T65-E
🢒 Automatic Transmission Controls Schematics
Figure
1:
Solenoids, TCC, and TFT
Master Electrical Component List
Transmission Component and System Description
ISS, Pressure Control, Switches, and VSS
Automatic Transmission Schematic Icons
ABS/PCM, SRS, STOP, and TURN SIGNAL Fuses
ABS/PCM, SRS, STOP, and TURN SIGNAL Fuses
Junction Block-Underhood [Bottom View]
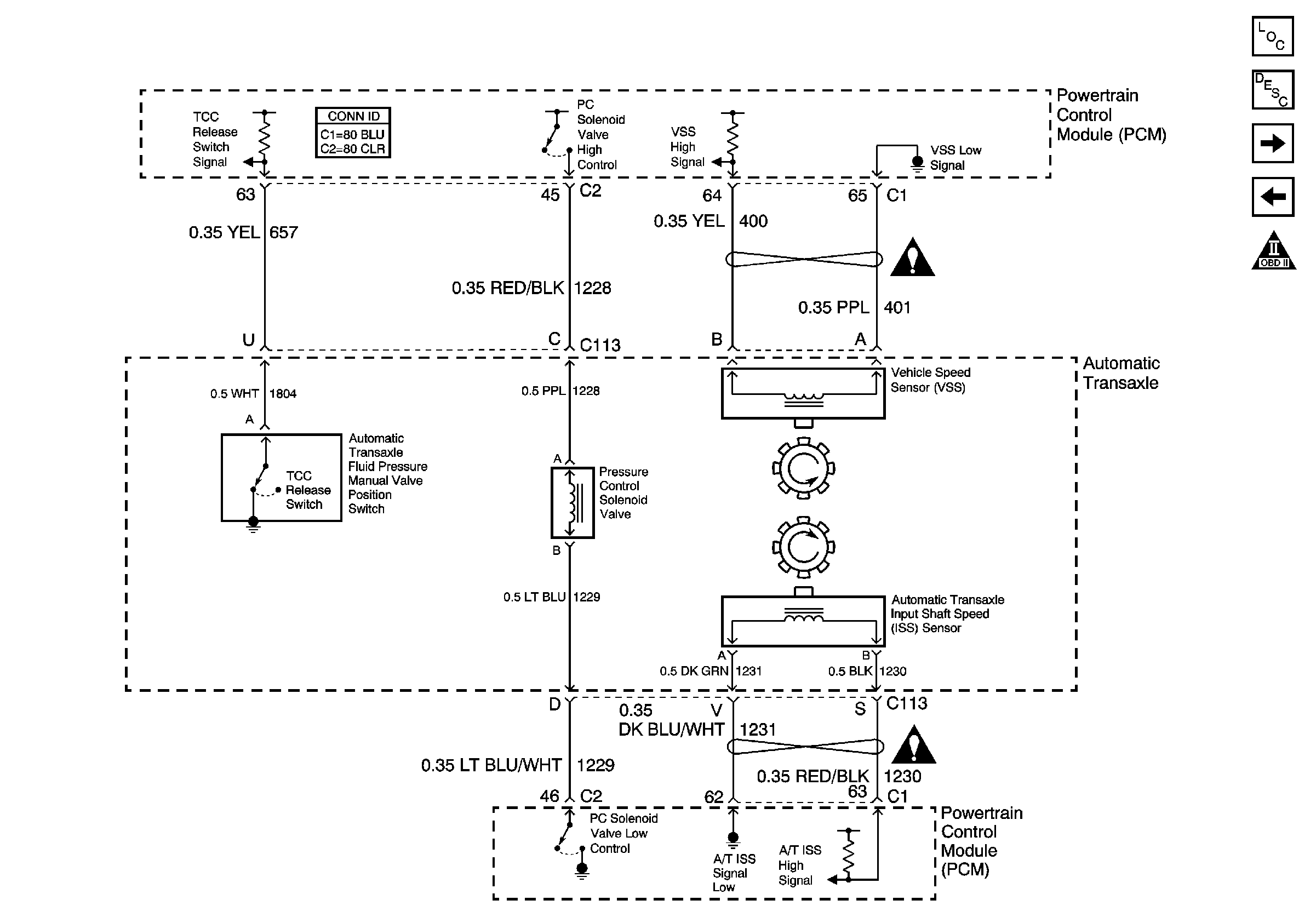
Figure
2:
ISS, Pressure Control Solenoid Valve, and VSS
Master Electrical Component List
Transmission Component and System Description
PRNDL
Solenoids, TCC, and TFT
Automatic Transmission Schematic Icons
Automatic Transmission Schematic Icons
Automatic Transmission Schematic Icons
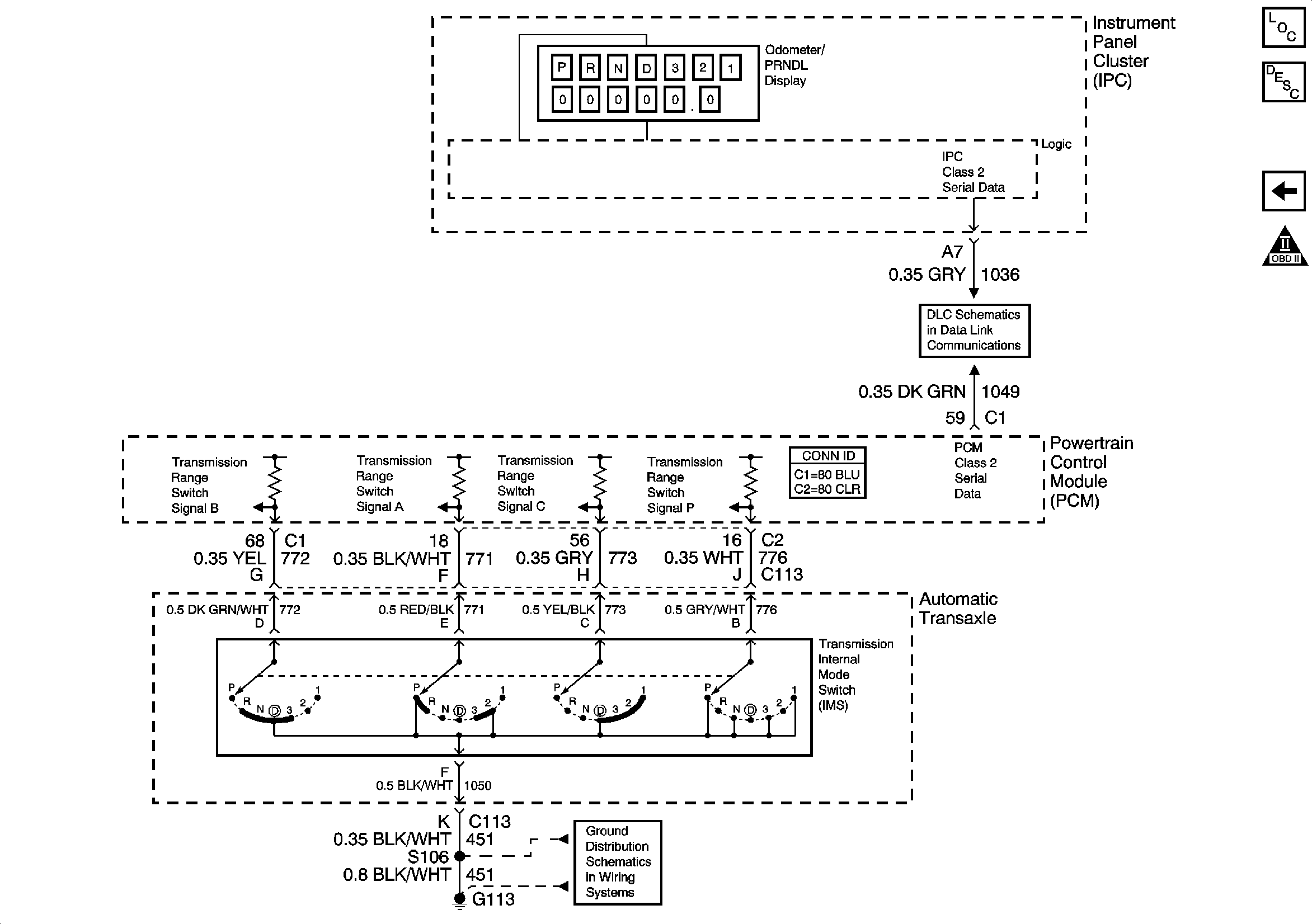
Figure
3:
PRNDL
Master Electrical Component List
Transmission Component and System Description
ISS, Pressure Control, Switches, and VSS
Automatic Transmission Schematic Icons
DLC
G113 [2 of 2]