GM Service Manual Online
For 1990-2009 cars only
Makes
🢒
Chevrolet
🢒
2004
🢒
Monte Carlo
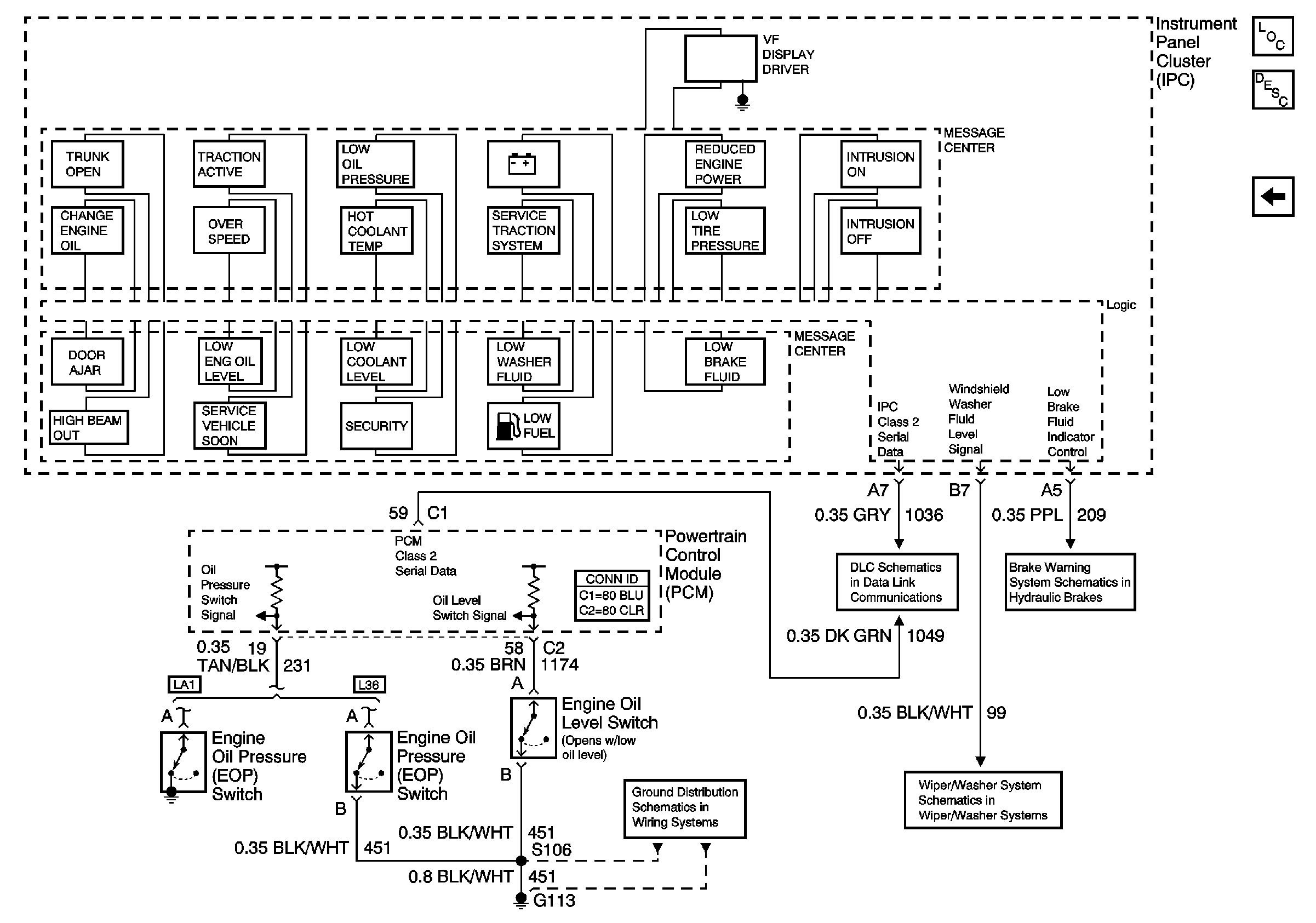
🢒 Message Center
Message Center
MESSAGE CENTER
Master Electrical Component List
Indicator/Warning Message Description and Operation
Defogger Schematics
G113 (2 of 2)
DLC Schematics
Wiper/Washer System Schematics
Brake Warning Schematics