GM Service Manual Online
For 1990-2009 cars only
Makes
🢒
Chevrolet
🢒
2004
🢒
Monte Carlo
🢒 Subsystem References
Subsystem References
Subsystem References
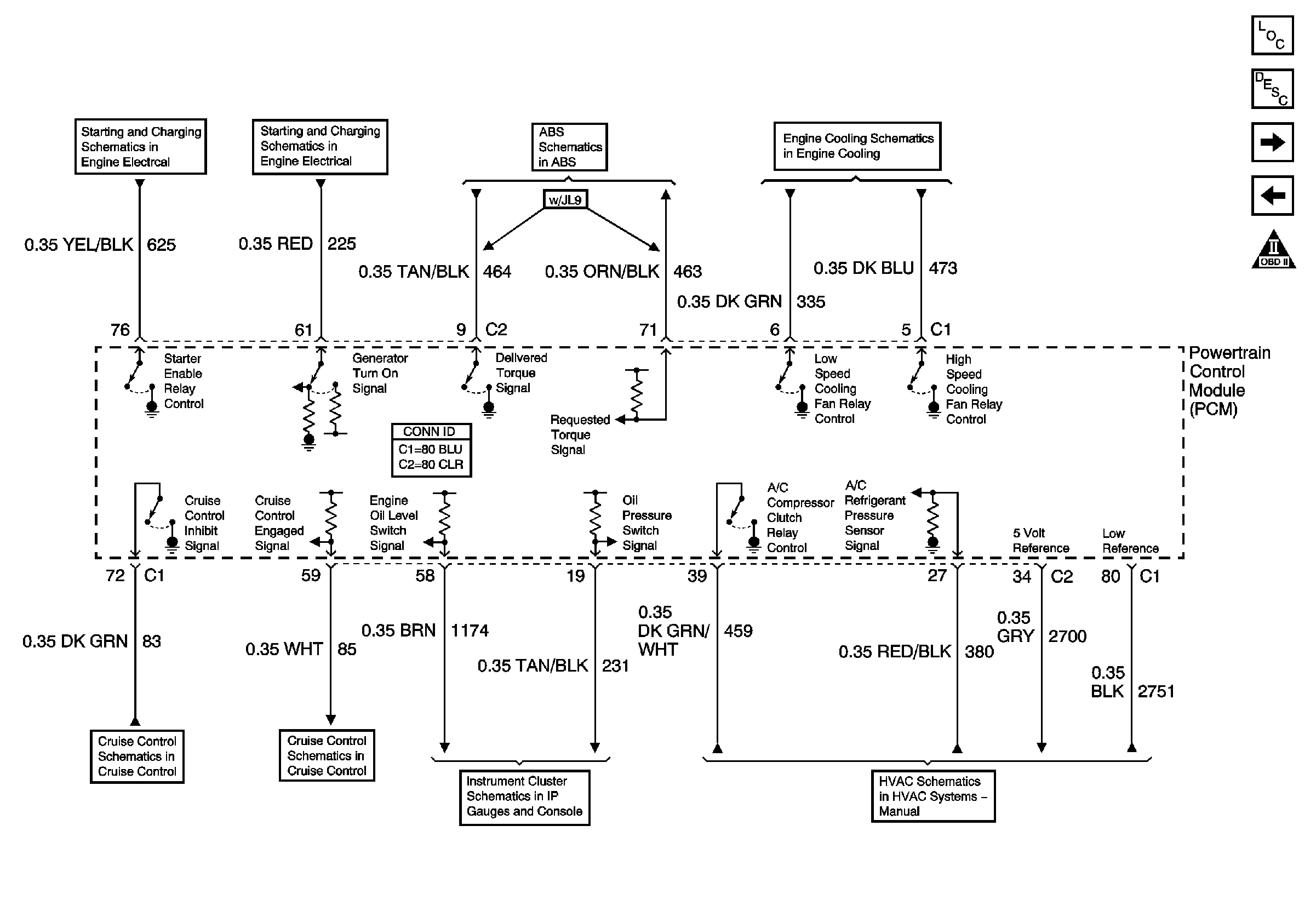
Master Electrical Component List
Powertrain Control Module Description
A/T References
AIR, EGR, and IAC
Engine Controls Schematic Icons
Engine Cranking
Charge Control and Indicator
PCM, and Stop Lamps Switch
Engine Cooling
Cruise Control - Monte Carlo
Indicator Control
Message Center
Compressor Control