GM Service Manual Online
For 1990-2009 cars only
Makes
🢒
Chevrolet
🢒
2004
🢒
Monte Carlo
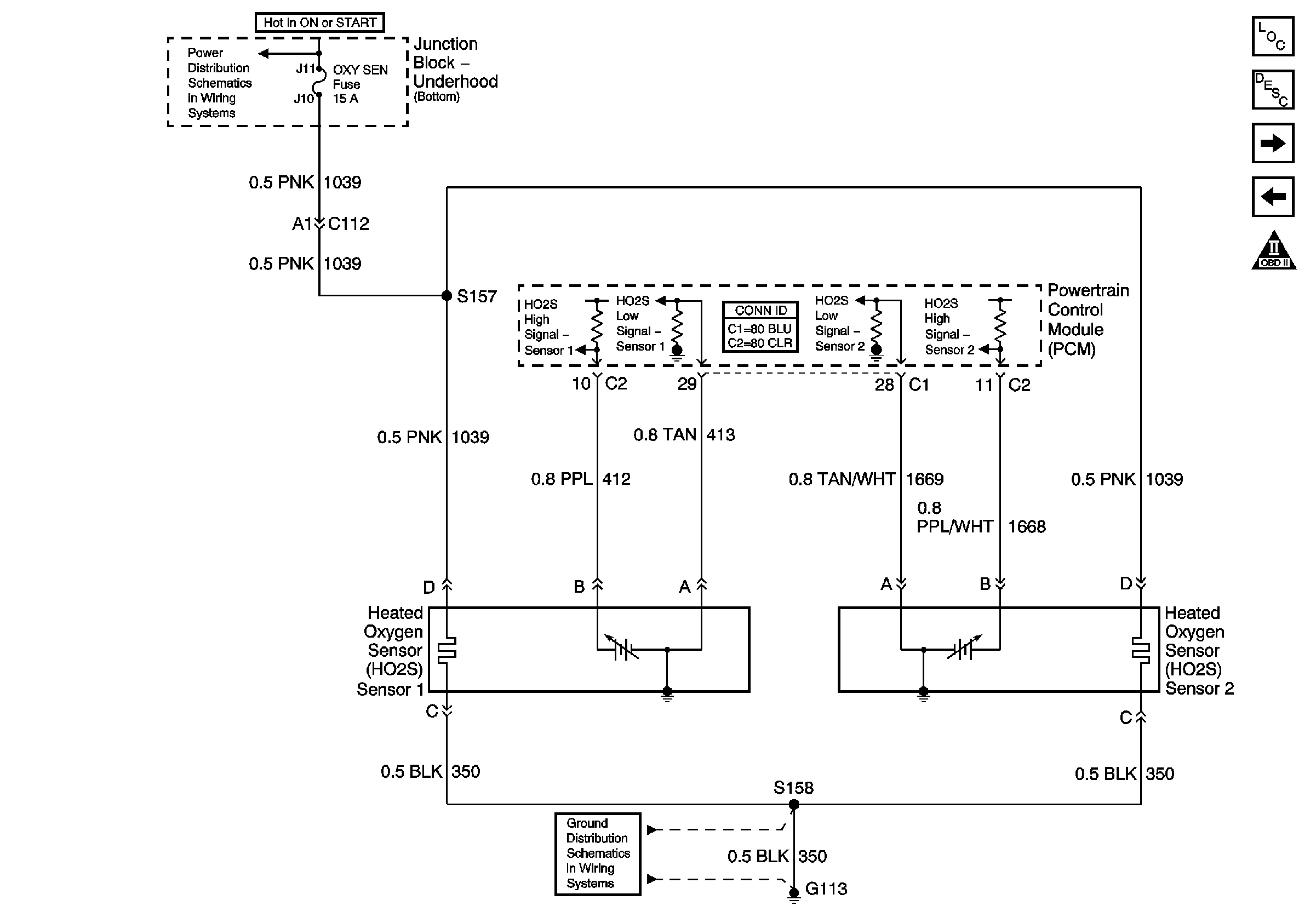
🢒 HO2S
HO2S
HO2S
Master Electrical Component List
Fuel System Description
Ignition Control
MAF, and VSS
Engine Controls Schematic Icons
Junction Block-Underhood [Bottom View]
G100, G111, G113 [1 of 2], G117, G151, and G171