GM Service Manual Online
For 1990-2009 cars only
Connector 1: Ambient Light Sensor
Connector 2: Backup Lamp - Left
Connector 3: Backup Lamp - Right
Connector 4: Brake Pedal Position Sensor
Connector 5: Center High Mounted Stop Lamp (CHMSL)
Connector 6: Dome/Reading Lamp (Sedan)
Connector 7: Emergency Vehicle Rear Window Panel Lamp - Left (T53)
Connector 8: Emergency Vehicle Rear Window Panel Lamp - Right (T53)
Connector 9: Fog Lamp - LF (T96)
Connector 10: Fog Lamp - RF (T96)
Connector 11: Headlamp - High Beam - Left
Connector 12: Headlamp - High Beam - Right
Connector 13: Headlamp - Low Beam - Left
Connector 14: Headlamp - Low Beam - Right
Connector 15: Headlamp Switch
Connector 16: I/P Courtesy Lamp - Left
Connector 17: I/P Courtesy Lamp - Right
Connector 18: License Lamp
Connector 19: Marker Lamp - LF
Connector 20: Marker Lamp - LR (Coupe)
Connector 21: Marker Lamp - RF
Connector 22: Marker Lamp - RR (Coupe)
Connector 23: Park/Turn Signal Lamp - LF
Connector 24: Park/Turn Signal Lamp - RF
Connector 25: Reading Lamp Assembly (9C1/9C3)
Connector 26: Rear Compartment Courtesy Lamp
Connector 27: Spot Lamp - Left (7X6, 7X7)
Connector 28: Spot Lamp - Right (7X7)
Connector 29: Tail Lamp - Left
Connector 30: Tail Lamp - Right
Connector 31: Tail/Stop and Turn Signal Lamp - Left
Connector 32: Tail/Stop and Turn Signal Lamp - Right
Connector 33: Turn Signal/Multifunction Switch C1
Connector 34: Turn Signal/Multifunction Switch C2
Connector 35: Turn Signal/Multifunction Switch C3
Connector 36: Vanity Mirror Lamp - Left (DH6)
Connector 37: Vanity Mirror Lamp - Right (DH6)

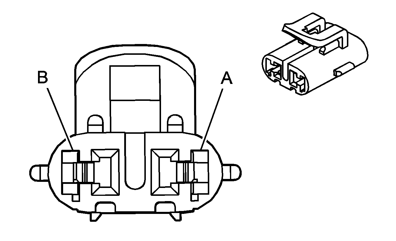
Ambient Light Sensor


Object Number: 82383  Size: CH

Connector Part Information

  • OEM: 12047662
  • Service: 12085535
  • Description: 2-Way F Metri-Pack 150 Series (BK)

Terminal Part Information

  • Terminal/Tray: 12064971/5
  • Core/Insulation Crimp: E/C
  • Release Tool/Test Probe: 12094429/J-35616-2A (GY)

Ambient Light Sensor

Pin

Wire Color

Circuit No.

Function

A

L-GN/BK

1137

DRL Ambient Light Sensor Signal

B

BK/WH

1551

Ground

Backup Lamp - Left


Object Number: 744036  Size: CH

Connector Part Information

  • OEM: 15324946
  • Service: See Catalog
  • Description: 2-Way F Lamp Socket Wedge Sealed W2 (D-GY)

Terminal Part Information

  • Terminal/Tray: 12124471/5
  • Core/Insulation Crimp: 2/3
  • Release Tool/Test Probe: 12094430/ N/A

Backup Lamp - Left

Pin

Wire Color

Circuit No.

Function

A

L-GN

24

Backup Lamp Supply Voltage (Coupe)

BN

24

Backup Lamp Supply Voltage (Sedan)

B

BK

750

Ground

BK

750

Ground (Sedan)

Backup Lamp - Right


Object Number: 744036  Size: CH

Connector Part Information

  • OEM: 15324946
  • Service: See Catalog
  • Description: 2-Way F Lamp Socket Wedge Sealed W2 (D-GY)

Terminal Part Information

  • Terminal/Tray: 12124471/5
  • Core/Insulation Crimp: 2/3
  • Release Tool/Test Probe: 12094430/ N/A

Backup Lamp - Right

Pin

Wire Color

Circuit No.

Function

A

L-GN

24

Backup Lamp Supply Voltage (Coupe)

BN

24

Backup Lamp Supply Voltage (Sedan)

B

BK

750

Ground

BK

750

Ground (Sedan)

Brake Pedal Position Sensor


Object Number: 1243663  Size: CH

Connector Part Information

  • OEM: 15332132
  • Service: 88953364
  • Description: 3-Way F GT 150 Series (BK)

Terminal Part Information

  • Terminal/Tray: 12191812/19
  • Core/Insulation Crimp: E/C
  • Release Tool/Test Probe: 15315247/J-35616-2A (GY)

Brake Pedal Position Sensor

Pin

Wire Color

Circuit No.

Function

A

GY

598

5-Volt Reference

B

L-GN

526

Stop Lamp Switch Signal

C

TN

552

Low Reference

Center High Mounted Stop Lamp (CHMSL)


Object Number: 280768  Size: CH

Connector Part Information

  • OEM: 12052832
  • Service: 12101825
  • Description: 2-Way F Metri-Pack 150 Series (BK)

Terminal Part Information

  • Terminal/Tray: 12064971/5
  • Core/Insulation Crimp: E/C
  • Release Tool/Test Probe: 12094429/J-35616-2A (GY)

Center High Mounted Stop Lamp (CHMSL)

Pin

Wire Color

Circuit No.

Function

A

L-BU

1320

CHMSL Supply Voltage (Coupe)

BK

750

Ground (Sedan)

B

BK

850

Ground (Coupe)

L-BU

1320

CHMSL Supply Voltage (Sedan)

Dome/Reading Lamp (Sedan)


Object Number: 333035  Size: CH

Connector Part Information

  • OEM: 12047781
  • Service: 12101864
  • Description: 3-Way F Metri-Pack 150 Series (BK)

Terminal Part Information

  • Terminal/Tray: 12047767/2
  • Core/Insulation Crimp: E/C
  • Release Tool/Test Probe: 12094429/J-35616-2A (GY)

Dome/Reading Lamp (Sedan)

Pin

Wire Color

Circuit No.

Function

A

GY/BK

690

Courtesy Lamp Low Control

B

BK

550

Ground

C

OG

1732

Courtesy Lamps Supply Voltage

Emergency Vehicle Rear Window Panel Lamp - Left (T53)


Object Number: 766913  Size: CH

Connector Part Information

  • OEM: 12065651
  • Service: 12117275
  • Description: 2-Way M Metri-Pack 150 Series (BK)

Terminal Part Information

  • Terminal/Tray: 12047581/2
  • Core/Insulation Crimp: E/A
  • Release Tool/Test Probe: 12094429/J-35616-3 (GY)

Emergency Vehicle Rear Window Panel Lamp - Left (T53)

Pin

Wire Color

Circuit No.

Function

A

YE

18

Left Rear Stop/Turn Lamp Supply Voltage

B

--

--

Not Used

Emergency Vehicle Rear Window Panel Lamp - Right (T53)


Object Number: 766913  Size: CH

Connector Part Information

  • OEM: 12065651
  • Service: 12117275
  • Description: 2-Way M Metri-Pack 150 Series (BK)

Terminal Part Information

  • Terminal/Tray: 12047581/2
  • Core/Insulation Crimp: E/A
  • Release Tool/Test Probe: 12094429/J-35616-3 (GY)

Emergency Vehicle Rear Window Panel Lamp - Right (T53)

Pin

Wire Color

Circuit No.

Function

A

D-GN

19

Right Rear Stop/Turn Lamp Supply Voltage

B

--

--

Not Used

Fog Lamp - LF (T96)


Object Number: 1413064  Size: CH

Connector Part Information

  • OEM: 12124819
  • Service: 12085498
  • Description: 2-Way F Metri-Pack 280 Series, Sealed (BU)

Terminal Part Information

  • Terminal/Tray: 12077411/2
  • Core/Insulation Crimp: 2/5
  • Release Tool/Test Probe: 12094430/J-35616-4A (PU)

Fog Lamp - LF (T96)

Pin

Wire Color

Circuit No.

Function

A

PU

34

Front Fog Lamp Supply Voltage

B

BK

1350

Ground

Fog Lamp - RF (T96)


Object Number: 1413064  Size: CH

Connector Part Information

  • OEM: 12124819
  • Service: 12085498
  • Description: 2-Way F Metri-Pack 280 Series, Sealed (BU)

Terminal Part Information

  • Terminal/Tray: 12077411/2
  • Core/Insulation Crimp: 2/5
  • Release Tool/Test Probe: 12094430/J-35616-4A (PU)

Fog Lamp - RF (T96)

Pin

Wire Color

Circuit No.

Function

A

PU

34

Front Fog Lamp Supply Voltage

B

BK

1250

Ground

Headlamp - High Beam - Left


Object Number: 1717008  Size: CH

Connector Part Information

  • OEM: H9
  • Service: See Catalog
  • Description: 2-Way F (BK)

Terminal Part Information

  • Terminal/Tray: See Terminal Repair Kit
  • Core/Insulation Crimp: See Terminal Repair Kit
  • Release Tool/Test Probe: See Terminal Repair Kit

Headlamp - High Beam - Left

Pin

Wire Color

Circuit No.

Function

A

BU

711

Left Headlamp High Beam Supply Voltage

B

BK

1350

Ground

Headlamp - High Beam - Right


Object Number: 1717008  Size: CH

Connector Part Information

  • OEM: H9
  • Service: See Catalog
  • Description: 2-Way F (BK)

Terminal Part Information

  • Terminal/Tray: See Terminal Repair Kit
  • Core/Insulation Crimp: See Terminal Repair Kit
  • Release Tool/Test Probe: See Terminal Repair Kit

Headlamp - High Beam - Right

Pin

Wire Color

Circuit No.

Function

A

BU

311

Right Headlamp High Beam Supply Voltage

B

BK

1250

Ground

Headlamp - Low Beam - Left


Object Number: 1717009  Size: CH

Connector Part Information

  • OEM: H11
  • Service: See Catalog
  • Description: 2-Way F (WH)

Terminal Part Information

  • Terminal/Tray: See Terminal Repair Kit
  • Core/Insulation Crimp: See Terminal Repair Kit
  • Release Tool/Test Probe: See Terminal Repair Kit

Headlamp - Low Beam - Left

Pin

Wire Color

Circuit No.

Function

A

GN

712

Left Headlamp Low Beam Supply Voltage

B

BK

1350

Ground

Headlamp - Low Beam - Right


Object Number: 1717009  Size: CH

Connector Part Information

  • OEM: H11
  • Service: See Catalog
  • Description: 2-Way F (WH)

Terminal Part Information

  • Terminal/Tray: See Terminal Repair Kit
  • Core/Insulation Crimp: See Terminal Repair Kit
  • Release Tool/Test Probe: See Terminal Repair Kit

Headlamp - Low Beam - Right

Pin

Wire Color

Circuit No.

Function

A

GN

312

Right Headlamp Low Beam Supply Voltage

B

BK

1250

Ground

Headlamp Switch


Object Number: 850856  Size: CH

Connector Part Information

  • OEM: 15416970
  • Service: 22715969
  • Description: 16-Way F Micro 64 Modular (BK)

Terminal Part Information

  • Terminal/Tray: 15359541/4
  • Core/Insulation Crimp: M/M
  • Release Tool/Test Probe: 15381651-2/J-35616-64A (L-BU)

Headlamp Switch

Pin

Wire Color

Circuit No.

Function

1

WH

103

Headlamp Switch Headlamps On Signal

2

BN/WH

301

Park Lamp Switch On Signal

3

D-GN

306

Headlamp Switch Headlamps Off Signal

4-5

--

--

Not Used

6

OG

192

Front Fog Lamp Switch Signal (T96)

7

GY

8

Instrument Panel Lamp Supply Voltage

8

BK/WH

1551

Ground

9

L-BU

383

Trunk Release Control

10

BN/WH

1571

Traction Control Switch Signal (JL9)

11

--

--

Not Used

12

PK/BK

1597

Courtesy Lamps Switch On Signal

13

D-GN

44

Instrument Panel Lamps Dimmer Switch Signal

14

--

--

Not Used

15

OG/WH

812

IP Dimming Voltage Reference

16

--

--

Not Used

I/P Courtesy Lamp - Left


Object Number: 365949  Size: CH

Connector Part Information

  • OEM: 12084388
  • Service: See Catalog
  • Description: 2-Way F Lamp Socket Hardshell W2 (BK)

Terminal Part Information

  • Terminal/Tray: See Terminal Repair Kit
  • Core/Insulation Crimp: See Terminal Repair Kit
  • Release Tool/Test Probe: See Terminal Repair Kit

I/P Courtesy Lamp - Left

Pin

Wire Color

Circuit No.

Function

A

GY/BK

690

Courtesy Lamp Supply Voltage

B

BK

150

Ground

I/P Courtesy Lamp - Right


Object Number: 365949  Size: CH

Connector Part Information

  • OEM: 12084388
  • Service: See Catalog
  • Description: 2-Way F Lamp Socket Hardshell W2 (BK)

Terminal Part Information

  • Terminal/Tray: See Terminal Repair Kit
  • Core/Insulation Crimp: See Terminal Repair Kit
  • Release Tool/Test Probe: See Terminal Repair Kit

I/P Courtesy Lamp - Right

Pin

Wire Color

Circuit No.

Function

A

GY/BK

690

Courtesy Lamp Supply Voltage

B

BK

150

Ground

License Lamp


Object Number: 68721  Size: CH

Connector Part Information

  • OEM: 15300027
  • Service: 12101855
  • Description: 2-Way F Metri-Pack 280 Series, Sealed (BK)

Terminal Part Information

  • Terminal/Tray: 12077411/2
  • Core/Insulation Crimp: 2/5
  • Release Tool/Test Probe: 12094430/J-35616-4A (PU)

License Lamp

Pin

Wire Color

Circuit No.

Function

A

BN/WH

309

Right Park Lamp Supply Voltage

B

BK

850

Ground

Marker Lamp - LF


Object Number: 877923  Size: CH

Connector Part Information

  • OEM: 16530674
  • Service: See Catalog
  • Description: 2-Way F Socket (GY)

Terminal Part Information

  • Terminal/Tray: See Terminal Repair Kit
  • Core/Insulation Crimp: See Terminal Repair Kit
  • Release Tool/Test Probe: See Terminal Repair Kit

Marker Lamp - LF

Pin

Wire Color

Circuit No.

Function

A

RD

709

Left Park Lamp Supply Voltage

RD

709

Left Park Lamp Supply Voltage

B

BK

1350

Ground

Marker Lamp - LR (Coupe)


Object Number: 744036  Size: CH

Connector Part Information

  • OEM: 15324946
  • Service: See Catalog
  • Description: 2-Way F Lamp Socket Wedge Sealed W2 (D-GY)

Terminal Part Information

  • Terminal/Tray: 12124471/5
  • Core/Insulation Crimp: 2/3
  • Release Tool/Test Probe: 12094430/ N/A

Marker Lamp - LR (Coupe)

Pin

Wire Color

Circuit No.

Function

A

BN/WH

709

Left Park Lamp Supply Voltage

B

BK

750

Ground

Marker Lamp - RF


Object Number: 877923  Size: CH

Connector Part Information

  • OEM: 16530674
  • Service: See Catalog
  • Description: 2-Way F Socket (GY)

Terminal Part Information

  • Terminal/Tray: See Terminal Repair Kit
  • Core/Insulation Crimp: See Terminal Repair Kit
  • Release Tool/Test Probe: See Terminal Repair Kit

Marker Lamp - RF

Pin

Wire Color

Circuit No.

Function

A

RD

309

Right Park Lamp Supply Voltage

RD

309

Right Park Lamp Supply Voltage

B

BK

1250

Ground

Marker Lamp - RR (Coupe)


Object Number: 744036  Size: CH

Connector Part Information

  • OEM: 15324946
  • Service: See Catalog
  • Description: 2-Way F Lamp Socket Wedge Sealed W2 (D-GY)

Terminal Part Information

  • Terminal/Tray: 12124471/5
  • Core/Insulation Crimp: 2/3
  • Release Tool/Test Probe: 12094430/ N/A

Marker Lamp - RR (Coupe)

Pin

Wire Color

Circuit No.

Function

A

BN/WH

309

Right Park Lamp Supply Voltage

B

BK

750

Ground

Park/Turn Signal Lamp - LF


Object Number: 1717007  Size: CH

Connector Part Information

  • OEM: 16530873
  • Service: See Catalog
  • Description: 3-Way F Lamp Socket (WH)

Terminal Part Information

  • Terminal/Tray: See Terminal Repair Kit
  • Core/Insulation Crimp: See Terminal Repair Kit
  • Release Tool/Test Probe: See Terminal Repair Kit

Park/Turn Signal Lamp - LF

Pin

Wire Color

Circuit No.

Function

A

YE

1314

Left Front Turn Signal Lamp Supply Voltage

B

RD

709

Left Park Lamp Supply Voltage

G

BK

1350

Ground

Park/Turn Signal Lamp - RF


Object Number: 1717007  Size: CH

Connector Part Information

  • OEM: 16530873
  • Service: See Catalog
  • Description: 3-Way F Lamp Socket (WH)

Terminal Part Information

  • Terminal/Tray: See Terminal Repair Kit
  • Core/Insulation Crimp: See Terminal Repair Kit
  • Release Tool/Test Probe: See Terminal Repair Kit

Park/Turn Signal Lamp - RF

Pin

Wire Color

Circuit No.

Function

A

YE

1315

Right Front Turn Signal Lamp Supply Voltage

B

RD

309

Right Park Lamp Supply Voltage

G

BK

1250

Ground

Reading Lamp Assembly (9C1/9C3)


Object Number: 35441  Size: CH

Connector Part Information

  • OEM: 12047663
  • Service: 12085481
  • Description: 2-Way M Metri-Pack 150 Series (BK)

Terminal Part Information

  • Terminal/Tray: 12047581/2
  • Core/Insulation Crimp: E/C
  • Release Tool/Test Probe: 12094429/J-35616-3 (GY)

Reading Lamp Assembly (9C1/9C3)

Pin

Wire Color

Circuit No.

Function

A

OG

1732

Inadvertent Power Courtesy Lamp

B

BK

550

Ground

Rear Compartment Courtesy Lamp


Object Number: 82383  Size: CH

Connector Part Information

  • OEM: 12047662
  • Service: 12085535
  • Description: 2-Way F Metri-Pack 150 Series (BK)

Terminal Part Information

  • Pins: A
  • Terminal/Tray: 12047767/2
  • Core/Insulation Crimp: E/A
  • Release Tool/Test Probe: 12094429/J-35616-2A (GY)
  • Pins: B
  • Terminal/Tray: 12064971/5
  • Core/Insulation Crimp: E/C
  • Release Tool/Test Probe: 12094429/J-35616-2A (GY)

Rear Compartment Courtesy Lamp

Pin

Wire Color

Circuit No.

Function

A

OG

1732

Inadvertent Power Courtesy Lamp

B

OG/BK

737

Rear Compartment Lamp Control

Spot Lamp - Left (7X6, 7X7)


Object Number: 611495  Size: CH

Connector Part Information

  • OEM: 12047683
  • Service: 12101828
  • Description: 1-Way M Metri-Pack 150 Series (BK)

Terminal Part Information

  • Terminal/Tray: 12047581/2
  • Core/Insulation Crimp: E/C
  • Release Tool/Test Probe: 12094429/J-35616-3 (GY)

Spot Lamp - Left (7X6, 7X7)

Pin

Wire Color

Circuit No.

Function

A

RD/WH

2640

Battery Positive Voltage

Spot Lamp - Right (7X7)


Object Number: 611495  Size: CH

Connector Part Information

  • OEM: 12047683
  • Service: 12101828
  • Description: 1-Way M Metri-Pack 150 Series (BK)

Terminal Part Information

  • Terminal/Tray: 12047581/2
  • Core/Insulation Crimp: E/C
  • Release Tool/Test Probe: 12094429/J-35616-3 (GY)

Spot Lamp - Right (7X7)

Pin

Wire Color

Circuit No.

Function

A

RD/WH

2740

Battery Positive Voltage

Tail Lamp - Left


Object Number: 744036  Size: CH

Connector Part Information

  • OEM: 15324946
  • Service: See Catalog
  • Description: 2-Way F Lamp Socket Wedge Sealed W2 (D-GY)

Terminal Part Information

  • Terminal/Tray: 12124471/5
  • Core/Insulation Crimp: 2/3
  • Release Tool/Test Probe: 12094430/ N/A

Tail Lamp - Left

Pin

Wire Color

Circuit No.

Function

A

709

BN/WH

Left Park Lamp Supply Voltage (Coupe)

709

L-GN

Left Park Lamp Supply Voltage (Sedan)

B

BK

750

Ground

Tail Lamp - Right


Object Number: 744036  Size: CH

Connector Part Information

  • OEM: 15324946
  • Service: See Catalog
  • Description: 2-Way F Lamp Socket Wedge Sealed W2 (D-GY)

Terminal Part Information

  • Terminal/Tray: 12124471/5
  • Core/Insulation Crimp: 2/3
  • Release Tool/Test Probe: 12094430/ N/A

Tail Lamp - Right

Pin

Wire Color

Circuit No.

Function

A

309

BN/WH

Left Park Lamp Supply Voltage (Coupe)

309

L-GN

Left Park Lamp Supply Voltage (Sedan)

B

BK

750

Ground

Tail/Stop and Turn Signal Lamp - Left


Object Number: 38605  Size: CH

Connector Part Information

  • OEM: 12160394
  • Service: See Catalog
  • Description: 3-Way Socket (GY)

Terminal Part Information

  • Terminal/Tray: 12066638/5
  • Core/Insulation Crimp: 2/5
  • Release Tool/Test Probe: 12180559-1/J-35616-4A (PU)

Tail/Stop and Turn Signal Lamp - Left

Pin

Wire Color

Circuit No.

Function

A

WH

18

Left Rear Stop/Turn Lamp Supply Voltage (Coupe)

YE

18

Left Rear Stop/Turn Lamp Supply Voltage (Sedan)

B

BN/WH

709

Left Park Lamp Supply Voltage (Coupe)

L-GN

709

Left Park Lamp Supply Voltage (Sedan)

L-GN

709

Left Park Lamp Supply Voltage (Sedan)

G

BK

750

Ground

BK

750

Ground (Sedan)

Tail/Stop and Turn Signal Lamp - Right


Object Number: 38605  Size: CH

Connector Part Information

  • OEM: 12160394
  • Service: See Catalog
  • Description: 3-Way Socket (GY)

Terminal Part Information

  • Terminal/Tray: 12066638/5
  • Core/Insulation Crimp: 2/5
  • Release Tool/Test Probe: 12180559-1/J-35616-4A (PU)

Tail/Stop and Turn Signal Lamp - Right

Pin

Wire Color

Circuit No.

Function

A

WH

19

Right Rear Stop/Turn Lamp Supply Voltage (Coupe)

YE

19

Right Rear Stop/Turn Lamp Supply Voltage. (Sedan)

B

BN/WH

309

Right Park Lamp Supply Voltage (Coupe)

L-GN

309

Right Park Lamp Supply Voltage (Sedan)

L-GN

309

Right Park Lamp Supply Voltage (Sedan)

G

BK

750

Ground

BK

750

Ground (Sedan)

Turn Signal/Multifunction Switch C1


Object Number: 39746  Size: CH

Connector Part Information

  • OEM: 12064862
  • Service: 12126438
  • Description: 8-Way F Metri-Pack 150 Series (BK)

Terminal Part Information

  • Terminal/Tray: 12064971/5
  • Core/Insulation Crimp: E/C
  • Release Tool/Test Probe: 12094429/J-35616-2A (GY)

Turn Signal/Multifunction Switch C1

Pin

Wire Color

Circuit No.

Function

A-B

--

--

Not Used

C

TN

2144

Hazard Switch Signal

D

L-BU/WH

1414

Left Turn Signal Switch Signal

E

BK/WH

1551

Ground

F

D-BU/WH

1415

Right Turn Signal Switch Signal

G

--

--

Not Used

H

BK/WH

1551

Ground

Turn Signal/Multifunction Switch C2


Object Number: 130718  Size: CH

Connector Part Information

  • OEM: 12059800
  • Service: 15306169
  • Description: 5-Way F Metri-Pack 150 Series (BK)

Terminal Part Information

  • Terminal/Tray: 12064971/5
  • Core/Insulation Crimp: E/C
  • Release Tool/Test Probe: 12094429/J-35616-2A (GY)

Turn Signal/Multifunction Switch C2

Pin

Wire Color

Circuit No.

Function

A

BN

1356

Flash To Pass Switch Signal

B-C

--

--

Not Used

D

BK/WH

1551

Ground

E

PU

524

Headlamp Dimmer Switch High Beam Signal

Turn Signal/Multifunction Switch C3


Object Number: 811190  Size: CH

Connector Part Information

  • OEM: 15339058
  • Service: See Catalog
  • Description: 7-Way F Metri-Pack 150 Series (GY)

Terminal Part Information

  • Terminal/Tray: 12064971/5
  • Core/Insulation Crimp: E/C
  • Release Tool/Test Probe: 12094429/J-35616-2A (GY)

Turn Signal/Multifunction Switch C3

Pin

Wire Color

Circuit No.

Function

G

--

--

Not Used

H

BK/WH

1251

Ground

J

PK

94

Windshield Washer Switch Signal

K

L-GN

1715

Windshield Wiper Switch High Signal

L

L-BU

1714

Windshield Wiper Switch Low Signal

M-N

--

--

Not Used

Vanity Mirror Lamp - Left (DH6)


Object Number: 35441  Size: CH

Connector Part Information

  • OEM: 12047663
  • Service: 12085481
  • Description: 2-Way M Metri-Pack 150 Series (BK)

Terminal Part Information

  • Terminal/Tray: 12047581/2
  • Core/Insulation Crimp: E/C
  • Release Tool/Test Probe: 12094429/J-35616-3 (GY)

Vanity Mirror Lamp - Left (DH6)

Pin

Wire Color

Circuit No.

Function

A

OG

1732

Inadvertent Power Courtesy Lamp

B

BK

550

Ground

Vanity Mirror Lamp - Right (DH6)


Object Number: 35441  Size: CH

Connector Part Information

  • OEM: 12047663
  • Service: 12085481
  • Description: 2-Way M Metri-Pack 150 (BK)

Terminal Part Information

  • Terminal/Tray: 12047581/2
  • Core/Insulation Crimp: E/C
  • Release Tool/Test Probe: 12094429/J-35616-3 (GY)

Vanity Mirror Lamp - Right (DH6)

Pin

Wire Color

Circuit No.

Function

A

OG

1732

Inadvertent Power Courtesy Lamp

B

BK

550

Ground