GM Service Manual Online
For 1990-2009 cars only
Connector 1: C101 I/P Harness to Engine Harness
Connector 2: C102 Engine Harness to Fuel Injector Harness (LZE, LZ4, LZ9)
Connector 3: C105 Battery Harness to I/P Harness
Connector 4: C107 Engine Harness to Front Ignition Coil Harness (LS4)
Connector 5: C108 Engine Harness to Rear Ignition Coil Harness (LS4)
Connector 6: C111 I/P Harness to Engine Harness
Connector 7: C116 Crankshaft/Knock Sensor Jumper Harness to Engine Harness (LS4)
Connector 8: C120 I/P Harness to Forward Lamp Harness
Connector 9: C122 (9C1/9C3) Forward Lamp Harness to Forward Lamp Harness
Connector 10: C123 (6J3) I/P Harness to the Grill Lamp Jumper Harness
Connector 11: C141 Forward Lamp Harness to Left Front Headlamp Assembly Harness
Connector 12: C142 Forward Lamp Harness to Right Front Headlamp Assembly Harness
Connector 13: C200 Body Harness to I/P Harness
Connector 14: C201 Steering Column Harness to I/P Harness
Connector 15: C203 Body Harness to I/P Harness
Connector 16: C208 (9C1, 9C3) SEO Auxiliary Harness to Body Harness
Connector 17: C210 I/P Harness to HVAC Harness
Connector 18: C223 (9C1, 9C3) Body Harness to Body Harness
Connector 19: C250 SIR Coil to the Body Harness
Connector 20: C266 (9C1, 9C3) I/P Harness to I/P Harness
Connector 21: C267 (9C1, 9C3, w/o WX7) I/P Harness to I/P Harness
Connector 22: C267A (9C1, 9C3, w/WX7) I/P Harness to I/P Harness
Connector 23: C267B (9C1, 9C3, w/WX7) I/P Harness to I/P Harness
Connector 24: C275 SIR Coil to Steering Column Harness
Connector 25: C277 SIR Coil to Steering Wheel Harness
Connector 26: C278 Inflatable Restraint I/P Module Jumper Harness to the Body Harness
Connector 27: C297 (9C1, 9C3, 6J3) I/P Harness to Grill Lamp Jumper Harness
Connector 28: C301 Body Harness to Left Front Door Harness
Connector 29: C302 Body Harness to Right Front Door Harness
Connector 30: C311 Body Harness to Left Front Seat Harness
Connector 31: C312 Inflatable Restraint Side Impact Module - Left Jumper Harness to Body Harness (AJ7)
Connector 32: C313 Body Harness to Right Front Seat Harness
Connector 33: C314 Inflatable Restraint Side Impact Module - Right Jumper Harness to Body Harness (AJ7)
Connector 34: C322 (9C1, 9C3) Body Harness to Roof Wiring Provision Harness
Connector 35: C340 (Coupe) Console Harness to Body Harness
Connector 36: C340 (Sedan) Console Harness to Body Harness
Connector 37: C355 (Sedan) Body Harness to Left Rear Door Harness
Connector 38: C356 (Sedan) Body Harness to Right Rear Door Harness
Connector 39: C360 (9C1, 9C3) Body Harness to I/P Harness
Connector 40: C362 (9C1, 9C3) Body Harness to I/P Harness
Connector 41: C398 (CF5) Roof Harness to Sunroof Harness
Connector 42: C401 (Coupe) Rear Body Harness to Left Tail Lamp Harness
Connector 43: C401 (Sedan) Rear Body Harness to Left Tail Lamp Harness
Connector 44: C402 (Coupe) Rear Body Harness to Right Tail Lamp Harness
Connector 45: C402 (Sedan) Rear Body Harness to Right Tail Lamp Harness
Connector 46: C405 Rear Chassis Harness to Body Harness
Connector 47: C406 Body Harness to Rear Body Harness
Connector 48: C409 (9C1, 9C3) Emergency Vehicle Rear Compartment Lid Lamps Harness to Body Harness
Connector 49: C412 Roof Rail Module - Left Jumper Harness to Body Harness (AY1)
Connector 50: C414 Roof Rail Module - Right Jumper Harness to Body Harness (AY1)
Connector 51: C430 (Coupe) Rear Compartment Harness to Body Harness
Connector 52: C490 Roof Harness to Body Harness
Connector 53: C503 (Sedan) Left Front Door Harness to Left Front Door Trim Harness
Connector 54: C604 (Sedan) Right Front Door Harness to Right Front Door Trim Harness

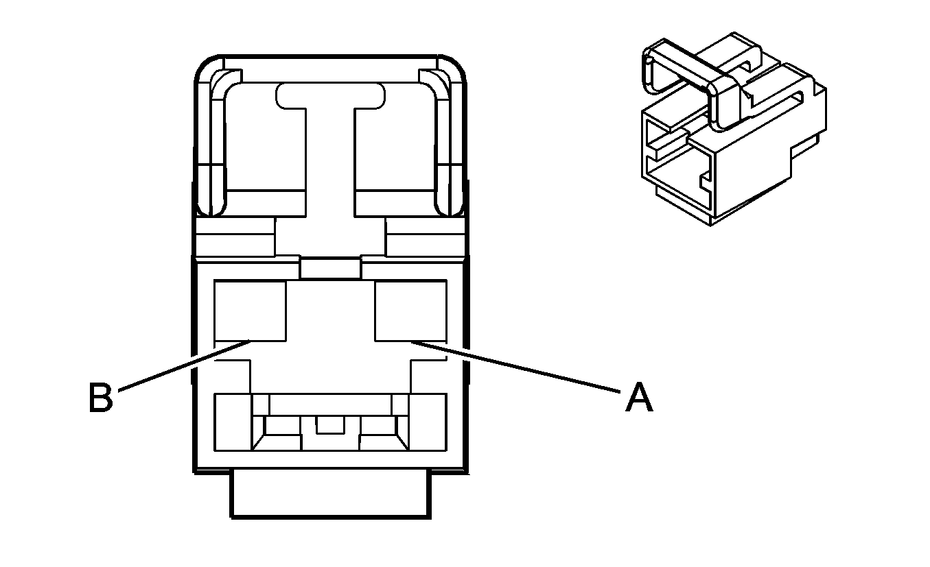
C101 I/P Harness to Engine Harness


Object Number: 632344  Size: CH

Object Number: 632342  Size: CH

Connector Part Information

  • OEM: 15326842
  • Service: See Catalog
  • Description: 10-Way F GT 150 Series, Sealed (BK)

Connector Part Information

  • OEM: 15326847
  • Service: See Catalog
  • Description: 10-Way M GT 150 Series, Sealed (BK)

Terminal Part Information

  • Terminal/Tray: 12191819/8
  • Core/Insulation Crimp: E/A
  • Release Tool/Test Probe: 15315247/J-35616-2A (GY)

Terminal Part Information

  • Terminal/Tray: 15326269/19
  • Core/Insulation Crimp: E/4
  • Release Tool/Test Probe: 15315247/J-35616-3 (GY)

C101 I/P Harness to Engine Harness

Pin

Wire Color

Circuit No.

Function

Pin

Wire Color

Circuit No.

Function

A

OG

885

Left Rear Wheel Speed Sensor Low Reference (JL9)

A

OG

885

Left Rear Wheel Speed Sensor Low Reference (JL9)

B

TN

884

Left Rear Wheel Speed Sensor Signal (JL9)

B

TN

884

Left Rear Wheel Speed Sensor Signal (JL9)

C

WH

883

Right Rear Wheel Speed Sensor Low Reference (JL9)

C

WH

883

Right Rear Wheel Speed Sensor Low Reference (JL9)

D

BN

882

Right Rear Wheel Speed Sensor Signal (JL9)

D

BN

882

Right Rear Wheel Speed Sensor Signal (JL9)

E

BN

818

Vehicle Speed Signal (9C1, 9C3)

E

BN

818

Vehicle Speed Signal (6J1)

F

L-BU

5986

Serial Data Communication Enable

F

L-BU

5986

Serial Data Communication Enable (JL9)

G

GY

2709

5-Volt Reference 1

G

GY

2709

5-Volt Reference 1

H

D-GN

890

Fuel Tank Pressure Sensor Signal

H

D-GN

890

Fuel Tank Pressure Sensor Signal

J

TN

2759

Low Reference

J

TN

2759

Low Reference

K

PU

30

Fuel Level Sensor Signal

K

PU

30

Fuel Level Sensor Signal

C102 Engine Harness to Fuel Injector Harness (LZE, LZ4, LZ9)


Object Number: 646383  Size: CH

Object Number: 632345  Size: CH

Connector Part Information

  • OEM: 15326863
  • Service: 15306410
  • Description: 16-Way F GT 150 Series, Sealed (BK)

Connector Part Information

  • OEM: 15326867
  • Service: See Catalog
  • Description: 16-Way M GT 150 Series, Sealed (BK)

Terminal Part Information

  • Terminal/Tray: 12191819/8
  • Core/Insulation Crimp: 2/A
  • Release Tool/Test Probe: 15315247/J-35616-2A (GY)

Terminal Part Information

  • Terminal/Tray: 15326269/19
  • Core/Insulation Crimp: E/4
  • Release Tool/Test Probe: 15315247/J-35616-3 (GY)

C102 Engine Harness to Fuel Injector Harness (LZE, LZ4, LZ9)

Pin

Wire Color

Circuit No.

Function

Pin

Wire Color

Circuit No.

Function

A

PK/BK

5291

Ignition 1 Voltage

A

PK

5291

Ignition 1 Voltage

B

YE

410

ECT Sensor Signal

B

YE

410

ECT Sensor Signal

C

TN

1744

Fuel Injector 1 Control

C

BK

1744

Fuel Injector 1 Control

D

L-GN/BK

1745

Fuel Injector 2 Control

D

OG

1745

Fuel Injector 2 Control

E

PK/BK

1746

Fuel Injector 3 Control

E

PK/BK

1746

Fuel Injector 3 Control

F

L-BU/BK

844

Fuel Injector 4 Control

F

D-GN

844

Fuel Injector 4 Control

G

TN/WH

845

Fuel Injector 5 Control

G

BK/WH

845

Fuel Injector 5 Control

H

YE/BK

846

Fuel Injector 6 Control

H

WH

846

Fuel Injector 6 Control

J-K

--

--

Not Used

J-K

--

--

Not Used

L

TN

2761

Low Reference

L

OG/BK

2761

Low Reference

M

--

--

Not Used

M

--

--

Not Used

N

D-BU

6259

5-Volt Reference 1

N

RD

6259

5-Volt Reference 1

P

PK/BK

632

Low Reference

P

BK

632

Low Reference

R

BN/WH

633

CMP Sensor Signal

R

BN/WH

633

CMP Sensor Signal

S

--

--

Not Used

S

--

--

Not Used

C105 Battery Harness to I/P Harness


Object Number: 603213  Size: CH

Object Number: 873041  Size: CH

Connector Part Information

  • OEM: 15326679
  • Service: See Catalog
  • Description: 2-Way F GT 280 Series, Sealed (BK)

Connector Part Information

  • OEM: 15326678
  • Service: 88987860
  • Description: 2-Way M GT 280 Series, Sealed (BK)

Terminal Part Information

  • Terminal/Tray: 12129497/1
  • Core/Insulation Crimp: 2/5
  • Release Tool/Test Probe: 12094430/J-35616-5 (PU)

Terminal Part Information

  • Terminal/Tray: 15304731/19
  • Core/Insulation Crimp: E/5
  • Release Tool/Test Probe: 15315247/J-35616-5 (PU)

C105 Battery Harness to I/P Harness

Pin

Wire Color

Circuit No.

Function

Pin

Wire Color

Circuit No.

Function

A

BK

50

Ground

A

BK

50

Ground

B

--

--

Not Used

B

--

--

Not Used

C107 Engine Harness to Front Ignition Coil Harness (LS4)


Object Number: 684790  Size: CH

Object Number: 365940  Size: CH

Connector Part Information

  • OEM: 12047938
  • Service: 12102754
  • Description: 7-Way F Metri-Pack 150 Series, Sealed (L-GY)

Connector Part Information

  • OEM: 12047933
  • Service: See Catalog
  • Description: 7-Way M Metri-Pack 150 Series, Sealed (GY)

Terminal Part Information

  • Terminal/Tray: 12048074/2
  • Core/Insulation Crimp: E/1
  • Release Tool/Test Probe: 12094429/J-35616-2A (GY)

Terminal Part Information

  • Terminal/Tray: 12048074/2
  • Core/Insulation Crimp: 2/1
  • Release Tool/Test Probe: 12094429/J-35616-2A (GY)

C107 Engine Harness to Front Ignition Coil Harness (LS4)

Pin

Wire Color

Circuit No.

Function

Pin

Wire Color

Circuit No.

Function

A

BK/WH

51

Ground

A

BK

151

Ground

B

OG

2127

IC 7 Control

B

RD

2127

IC 7 Control

C

D-GN

2125

IC 5 Control

C

D-GN

2125

IC 5 Control

D

--

--

Not Available

D

--

--

Not Available

E

BN

2129

Low Reference

E

BN

2129

Low Reference

F

L-BU

2123

IC 3 Control

F

L-BU

2123

IC 3 Control

G

PU

2121

IC 1 Control

G

PU

2121

IC 1 Control

H

PK/BK

5291

Ignition 1 Voltage

H

PK

39

Ignition 1 Voltage

C108 Engine Harness to Rear Ignition Coil Harness (LS4)


Object Number: 684790  Size: CH

Object Number: 365940  Size: CH

Connector Part Information

  • OEM: 12047938
  • Service: 12102754
  • Description: 7-Way F Metri-Pack 150 Series, Sealed (L-GY)

Connector Part Information

  • OEM: 12047933
  • Service: See Catalog
  • Description: 7-Way M Metri-Pack 150 Series, Sealed (GY)

Terminal Part Information

  • Terminal/Tray: 12048074/2
  • Core/Insulation Crimp: E/1
  • Release Tool/Test Probe: 12094429/J-35616-2A (GY)

Terminal Part Information

  • Terminal/Tray: 12045773/2
  • Core/Insulation Crimp: E/1
  • Release Tool/Test Probe: 12094429/J-35616-3 (GY)

C108 Engine Harness to Rear Ignition Coil Harness (LS4)

Pin

Wire Color

Circuit No.

Function

Pin

Wire Color

Circuit No.

Function

A

BK/WH

51

Ground

A

BK

151

Ground

B

OG/WH

2122

IC 2 Control

B

RD

2127

IC 2 Control

C

D-GN/WH

2124

IC 4 Control

C

D-GN

2125

IC 4 Control

D

--

--

Not Available

D

--

--

Not Available

E

BN/WH

2130

Low Reference

E

BN

2129

Low Reference

F

L-BU/WH

2126

IC 6 Control

F

L-BU

2123

IC 6 Control

G

PU/WH

2128

IC 8 Control

G

PU

2121

IC 8 Control

H

PK/BK

5292

Ignition 1 Voltage

H

PK

39

Ignition 1 Voltage

C111 I/P Harness to Engine Harness


Object Number: 831373  Size: CH

Object Number: 831374  Size: CH

Connector Part Information

  • OEM: 15326856
  • Service: 88986261
  • Description: 14-Way F GT 150 Series, Sealed (BK)

Connector Part Information

  • OEM: 15326861
  • Service: 88986246
  • Description: 14-Way M GT 150 Series, Sealed (BK)

Terminal Part Information

  • Terminal/Tray: 12191819/8
  • Core/Insulation Crimp: E/A
  • Release Tool/Test Probe: 15315247/J-35616-2A (GY)

Terminal Part Information

  • Terminal/Tray: 15326269/19
  • Core/Insulation Crimp: E/4
  • Release Tool/Test Probe: 15315247/J-35616-3 (GY)

C111 I/P Harness to Engine Harness

Pin

Wire Color

Circuit No.

Function

Pin

Wire Color

Circuit No.

Function

A

BN/WH

419

MIL Control

A

BN/WH

419

MIL Control

B

WH

17

Stop Lamp Switch Signal

B

WH

17

Stop Lamp Switch Signal

C

WH

1310

EVAP Canister Vent Solenoid Control

C

WH

1310

EVAP Canister Vent Solenoid Control

D

D-BU

5985

Accessory Wake Up Serial Data

D

D-BU

5985

Accessory Wake Up Serial Data

E

L-GN

5060

Low Speed GMLAN Serial Data

E

--

--

Not Used

F

TN/BK

2500

High Speed GMLAN Serial Data Bus+

F

TN/BK

2500

High Speed GMLAN Serial Data Bus+

G

TN

2501

High Speed GMLAN Serial Data Bus-

G

TN

2501

High Speed GMLAN Serial Data Bus-

H

D-BU

5985

Accessory Wake Up Serial Data

H

D-BU

5985

Accessory Wake Up Serial Data

J

BN

1271

Low Reference (LZE, LZ4, LZ9)

J

BN

1271

Low Reference (LZE, LZ4, LZ9)

BN

1271

5-Volt Reference 1 (LS4)

BN

1271

5-Volt Reference 1 (LS4)

K

WH/BK

1164

5-Volt Reference 2 (LZE, LZ4, LZ9)

K

WH/BK

1164

5-Volt Reference 2 (LZE, LZ4, LZ9)

WH/BK

1164

Low Reference (LS4)

WH/BK

1164

Low Reference (LS4)

L

D-BU

1161

APP Sensor 1 Signal

L

D-BU

1161

APP Sensor 1 Signal

M

PU

1272

Low Reference

M

PU

1272

Low Reference

N

TN

1274

5-Volt Reference 1 (LZE, LZ4, LZ9)

N

TN

1274

5-Volt Reference 1 (LZE, LZ4, LZ9)

TN

1274

5-Volt Reference 2 (LS4)

TN

1274

5-Volt Reference 2 (LS4)

P

L-BU

1162

APP Sensor 2 Signal

P

L-BU

1162

APP Sensor 2 Signal

C116 Crankshaft/Knock Sensor Jumper Harness to Engine Harness (LS4)


Object Number: 1381340  Size: CH

Object Number: 1334521  Size: CH

Connector Part Information

  • OEM: 15326823
  • Service: See Catalog
  • Description: 5-Way F GT 150 Series, Sealed (BK)

Connector Part Information

  • OEM: 15326827
  • Service: See Catalog
  • Description: 5-Way M GT 150 Series, Sealed (BK)

Terminal Part Information

  • Terminal/Tray: 12191819/8
  • Core/Insulation Crimp: E/A
  • Release Tool/Test Probe: 15315247/J-35616-2A (GY)

Terminal Part Information

  • Terminal/Tray: 15326269/16
  • Core/Insulation Crimp: E/4
  • Release Tool/Test Probe: 15315247/J-35616-3 (GY)

C116 Crankshaft/Knock Sensor Jumper Harness to Engine Harness (LS4)

Pin

Wire Color

Circuit No.

Function

Pin

Wire Color

Circuit No.

Function

A

D-BU/WH

1869

CKP Sensor Signal

A

D-BU/WH

1869

CKP Sensor Signal

B

YE/BK

1868

Low Reference

B

YE/BK

1868

Low Reference

C

L-GN

1867

12-Volt Reference

C

L-GN

1867

12-Volt Reference

D

L-BU

1876

Knock Sensor 2 Signal

D

L-BU

1876

Knock Sensor 2 Signal

E

GY

2303

Low Reference

E

GY

2303

Low Reference

C120 I/P Harness to Forward Lamp Harness


Object Number: 1673480  Size: CH

Object Number: 632342  Size: CH

Connector Part Information

  • OEM: 15326843
  • Service: 15326843
  • Description: 10-Way F GT 150 Series, Sealed (BK)

Connector Part Information

  • OEM: 15326847
  • Service: See Catalog
  • Description: 10-Way M GT 150 Series, Sealed (BK)

Terminal Part Information

  • Terminal/Tray: 12191819/8
  • Core/Insulation Crimp: Pins A, B, C, D, E, F, H, J - E/A
  • Core/Insulation Crimp: Pins K - 2/A
  • Release Tool/Test Probe: 15315247/J-35616-2A (GY)

Terminal Part Information

  • Terminal/Tray: 15326269/19
  • Core/Insulation Crimp: Pins A, B, C, D, K - E/1
  • Core/Insulation Crimp: Pins E, F, H, J - E/4
  • Release Tool/Test Probe: 15315247/J-35616-3 (GY)

C120 I/P Harness to Forward Lamp Harness

Pin

Wire Color

Circuit No.

Function

Pin

Wire Color

Circuit No.

Function

A

YE

354

Discriminating Sensor - Left - Signal

A

YE

354

Discriminating Sensor - Left - Signal

B

TN/OG

5045

Discriminating Sensor - Left - Low Reference

B

TN/OG

5045

Discriminating Sensor - Left - Low Reference

C

D-GN

1409

Discriminating Sensor - Right - Signal

C

D-GN

1409

Discriminating Sensor - Right - Signal

D

GY

5600

Discriminating Sensor - Right - Low Reference

D

GY

5600

Discriminating Sensor - Right - Low Reference

E

L-GN/BK

735

Ambient Air Temperature Sensor Signal

E

L-GN/BK

735

Ambient Air Temperature Sensor Signal

F

YE

61

Low Reference

F

YE

61

Low Reference

G

--

--

Not Used

G

--

--

Not Used

H

D-BU/YE

6841

Rear Lamp Flasher Signal (9C1, 9C3)

H

D-BU/YE

6841

Rear Lamp Flasher Signal (9C1, 9C3)

J

TN

185

Low Washer Fluid Indicator Control

J

TN

185

Low Washer Fluid Indicator Control

K

D-GN/RD

6820

Exterior Lamp Flasher Signal (9C1, 9C3)

K

D-GN/RD

6820

Exterior Lamp Flasher Signal (9C1, 9C3)

C122 (9C1/9C3) Forward Lamp Harness to Forward Lamp Harness


Object Number: 632357  Size: CH

Object Number: 646396  Size: CH

Connector Part Information

  • OEM: 15326829
  • Service: 88953153
  • Description: 6-Way F GT 150 Series, Sealed (BK)

Connector Part Information

  • OEM: 15326833
  • Service: See Catalog
  • Description: 6-Way M GT 150 Series, Sealed (BK)

Terminal Part Information

  • Terminal/Tray: 12191819/8
  • Core/Insulation Crimp: 2/A
  • Release Tool/Test Probe: 15315247/J-35616-2A (GY)

Terminal Part Information

  • Terminal/Tray: 15326269/19
  • Core/Insulation Crimp: E/4
  • Release Tool/Test Probe: 15315247/J-35616-3 (GY)

C122 (9C1/9C3) Forward Lamp Harness to Forward Lamp Harness

Pin

Wire Color

Circuit No.

Function

Pin

Wire Color

Circuit No.

Function

A

BK

1250

Ground

A

--

--

Not Used

B

D-GN/WH

711

Left Headlamp High Beam Supply Voltage

B

D-GN/WH

711

Left Headlamp High Beam Supply Voltage

C

RD/WH

2940

Battery Positive Voltage

C

--

--

Not Used

D

L-GN/BK

311

Right Headlamp High Beam Supply Voltage

D

L-GN/BK

311

Right Headlamp High Beam Supply Voltage

E

D-GN/RD

6820

Exterior Lamp Flasher Signal

E

--

--

Not Used

F

D-BU/YE

6841

Rear Lamp Flasher Signal

F

--

--

Not Used

C123 (6J3) I/P Harness to the Grill Lamp Jumper Harness


Object Number: 684854  Size: CH

Object Number: 396241  Size: CH

Connector Part Information

  • OEM: 12162144
  • Service: 12102741
  • Description: 4-Way F Metri-Pack 150 Series, Sealed (BK)

Connector Part Information

  • OEM: 12162102
  • Service: See Catalog
  • Description: 4-Way M Metri-Pack 150 Series, Sealed (BK)

Terminal Part Information

  • Terminal/Tray: 12048074/2
  • Core/Insulation Crimp: 2/1
  • Release Tool/Test Probe: 12094429/J-35616-2A (GY)

Terminal Part Information

  • Terminal/Tray: 12045773/2
  • Core/Insulation Crimp: 2/1
  • Release Tool/Test Probe: 12094429/J-35616-3 (GY)

C123 (6J3) I/P Harness to the Grill Lamp Jumper Harness

Pin

Wire Color

Circuit No.

Function

Pin

Wire Color

Circuit No.

Function

A

L-BU

6837

Upfitter Provision

A

L-BU

6837

Upfitter Provision

B

L-GN

6836

Upfitter Provision

B

L-GN

6836

Upfitter Provision

C

GY

6838

Front Emergency Flasher Control

C

GY

6838

Front Emergency Flasher Control

D

TN

6835

Front Emergency Lamp Supply Voltage

D

TN

6835

Front Emergency Lamp Supply Voltage

C141 Forward Lamp Harness to Left Front Headlamp Assembly Harness


Object Number: 646412  Size: CH

Object Number: 893439  Size: CH

Connector Part Information

  • OEM: 15326642
  • Service: 15306395
  • Description: 5-Way F GT 280 Series, Sealed (BK)

Connector Part Information

  • OEM: 15326647
  • Service: See Catalog
  • Description: 5-Way M GT 280 Series, Sealed (BK)

Terminal Part Information

  • Terminal/Tray: 15304719/19
  • Core/Insulation Crimp: E/5
  • Release Tool/Test Probe: 15315247/J-35616-4A (PU)

Terminal Part Information

  • Terminal/Tray: 15304731/19
  • Core/Insulation Crimp: C/5
  • Release Tool/Test Probe: 15315247/J-35616-5 (PU)

C141 Forward Lamp Harness to Left Front Headlamp Assembly Harness

Pin

Wire Color

Circuit No.

Function

Pin

Wire Color

Circuit No.

Function

A

PU

709

Left Park Lamp Supply Voltage

A

RD

709

Left Park Lamp Supply Voltage

B

L-BU/WH

1314

Left Front Turn Signal Lamp Supply Voltage

B

YE

1314

Left Front Turn Signal Lamp Supply Voltage

C

D-GN/WH

711

Left Headlamp High Beam Supply Voltage

C

BU

711

Left Headlamp High Beam Supply Voltage

D

YE/WH

712

Left Headlamp Low Beam Supply Voltage

D

GN

712

Left Headlamp Low Beam Supply Voltage

E

BK

1350

Ground

E

BK

1350

Ground

C142 Forward Lamp Harness to Right Front Headlamp Assembly Harness


Object Number: 646412  Size: CH

Object Number: 893439  Size: CH

Connector Part Information

  • OEM: 15326642
  • Service: 15306395
  • Description: 5-Way F GT 280 Sealed (BK)

Connector Part Information

  • OEM: 15326647
  • Service: See Catalog
  • Description: 5-Way M GT 280 Series, Sealed (BK)

Terminal Part Information

  • Terminal/Tray: 15304719/19
  • Core/Insulation Crimp: E/5
  • Release Tool/Test Probe: 15315247/J-35616-4A (PU)

Terminal Part Information

  • Terminal/Tray: 15304731/19
  • Core/Insulation Crimp: C/5
  • Release Tool/Test Probe: 15315247/J-35616-5 (PU)

C142 Forward Lamp Harness to Right Front Headlamp Assembly Harness

Pin

Wire Color

Circuit No.

Function

Pin

Wire Color

Circuit No.

Function

A

BN/WH

309

Right Park Lamp Supply Voltage

A

RD

309

Right Park Lamp Supply Voltage

B

D-BU/WH

1315

Right Front Turn Signal Lamp Supply Voltage

B

YE

1315

Right Front Turn Signal Lamp Supply Voltage

C

L-GN/BK

311

Right Headlamp High Beam Supply Voltage

C

BU

311

Right Headlamp High Beam Supply Voltage

D

TN/WH

312

Right Headlamp Low Beam Supply Voltage

D

GN

312

Right Headlamp Low Beam Supply Voltage

E

BK

1250

Ground

E

BK

1250

Ground

C200 Body Harness to I/P Harness


Object Number: 1538795  Size: CH

Object Number: 851471  Size: CH

Connector Part Information

  • OEM: 15448130
  • Service: 89046970
  • Description: 40-Way F GT 150 280 Series (L-GY)

Connector Part Information

  • OEM: 15393743
  • Service: See Catalog
  • Description: 40-Way M GT 150 280 Series (L-GY)

Terminal Part Information

  • Terminal/Tray: 12191812/19
  • Core/Insulation Crimp: E/C
  • Release Tool/Test Probe: 15315247/J-35616-2A (GY)

Terminal Part Information

  • Terminal/Tray: 15304702/19
  • Core/Insulation Crimp: E/C
  • Release Tool/Test Probe: 15315247/J-35616-3 (GY)

C200 Body Harness to I/P Harness

Pin

Wire Color

Circuit No.

Function

Pin

Wire Color

Circuit No.

Function

A1

BARE

814

Drain Wire (U2K)

A1

BARE

814

Drain Wire (U2K)

A2

TN

707

RAP Relay Coil Supply Voltage

A2

TN

707

RAP Relay Coil Supply Voltage

A3

GY

120

Fuel Pump Supply Voltage

A3

GY

120

Fuel Pump Supply Voltage

A4

PU

709

Left Park Lamp Supply Voltage

A4

PU

709

Left Park Lamp Supply Voltage

A5

D-GN

117

Right Front Speaker Output (-) (UW6)

A5

D-GN

117

Right Front Speaker Output (-) (UW6)

D-GN

117

Right Front Speaker Output (-) (Sedan w/UW6)

L-GN/BK

1948

Right Front Low Level Audio Signal (-) (U87, UQ3)

D-GN

117

Right Front Low Level Audio Signal (-) (U87, UQ3)

A6

L-GN

200

Right Front Low Level Audio Signal (+) (UW6)

A6

L-GN

200

Right Front Speaker Output (+) (UW6)

L-GN

200

Right Front Speaker Output (+) (Sedan w/UW6)

L-GN

512

Right Front Low Level Audio Signal (+) (U87, UQ3)

L-GN

200

Right Front Low Level Audio Signal (+) (U87, UQ3)

A7

--

--

Not Used

A7

--

--

Not Used

A8

YE

643

Accessory Voltage (9C1, 9C3)

A8

YE

643

Accessory Voltage (9C1, 9C3)

B1

BN/WH

367

Left Audio Signal (+) (U2K)

B1

BN/WH

367

Left Audio Signal (+) (U2K)

B2

D-GN

7007

Left Audio Signal (-) (U2K)

B2

D-GN

7007

Left Audio Signal (-) (U2K)

B3

GY

2709

5-Volt Reference 1

B3

GY

2709

5-Volt Reference 1

B4

D-GN

890

Fuel Tank Pressure Sensor Signal

B4

D-GN

890

Fuel Tank Pressure Sensor Signal

B5

TN

2759

Low Reference

B5

TN

2759

Low Reference

B6

PU

30

Fuel Level Sensor Signal

B6

PU

30

Fuel Level Sensor Signal

B7

WH

1310

EVAP Canister Vent Solenoid Control

B7

WH

1310

EVAP Canister Vent Solenoid Control

B8

--

--

Not Used

B8

--

--

Not Used

B9

OG

5748

Radio Audio Mute Signal (U87, UQ3)

B9

OG

5748

Radio Audio Mute Signal (U87, UQ3)

B10

BN/WH

309

Right Park Lamp Supply Voltage

B10

BN/WH

309

Right Park Lamp Supply Voltage

B11

YE

354

Discriminating Sensor - Left - Signal

B11

YE

354

Discriminating Sensor - Left - Signal

B12

TN/OG

5045

Discriminating Sensor - Left - Low Reference

B12

TN/OG

5045

Discriminating Sensor - Left - Low Reference

C1

GY/BK

7008

Right Audio Signal (-) (U2K)

C1

GY/BK

7008

Right Audio Signal (-) (U2K)

C2

D-GN/WH

368

Right Audio Signal (+) (U2K)

C2

D-GN/WH

368

Right Audio Signal (+) (U2K)

C3-C7

--

--

Not Used

C3-C7

--

--

Not Used

C8

L-BU

115

Right Rear Speaker Output (-) (UW6)

C8

L-BU

115

Right Rear Speaker Output (-) (UW6)

TN

1946

Right Rear Low Level Audio Signal (-) (U87, UQ3)

Right Rear Low Level Audio Signal (-) (U87, UQ3)

D-BU

46

Right Rear Speaker Output (+) (9C1, 9C3 w/o WX7)

D-BU

46

Right Rear Speaker Output (+) (9C1, 9C3 w/o WX7)

Right Front Speaker Output (+) (9C1, 9C3 w/ WX7)

Right Front Speaker Output (+) (9C1, 9C3 w/ WX7)

C9

D-BU

46

Right Rear Speaker Output (+) (UW6)

C9

D-BU

46

Right Rear Speaker Output (+) (UW6)

546

Right Rear Low Level Audio Signal (+) (U87, UQ3)

Right Rear Low Level Audio Signal (+) (U87, UQ3)

L-BU

115

Right Rear Speaker Output (-) (9C1, 9C3, w/o WX7)

L-BU

115

Right Rear Speaker Output (-) (9C1, 9C3, w/o WX7)

Right Front Speaker Output (-) (9C1, 9C3, w/ WX7)

Right Front Speaker Output (-) (9C1, 9C3, w/ WX7)

C10

D-GN

5060

Low Speed GMLAN Serial Data

C10

D-GN

5060

Low Speed GMLAN Serial Data

C11

D-GN

1409

Discriminating Sensor - Right - Signal

C11

D-GN

1409

Discriminating Sensor - Right - Signal

C12

GY

5600

Discriminating Sensor - Right - Low Reference

C12

GY

5600

Discriminating Sensor - Right - Low Reference

D1-D2

--

--

Not Used

D1-D2

--

--

Not Used

D3

PK

5165

Antenna 14V Switched Supply Voltage

D3

PK

5165

Antenna 14V Switched Supply Voltage

PK

5165

Antenna 14V Switched Supply Voltage (U87, UQ3)

D4

PK

1139

Ignition 1 Voltage

D4

PK

1139

Ignition 1 Voltage

PK

1139

Ignition 1 Voltage (Coupe)

D5

OG

267

Heated Mirror Element Supply Voltage (DK2)

D5

OG

267

Heated Mirror Element Supply Voltage (DK2)

OG

267

Heated Mirror Element Supply Voltage (DK2)

D6

PU

293

Rear Defog Element Supply Voltage

D6

PU

293

Rear Defog Element Supply Voltage

D7-D8

--

--

Not Used

D7-D8

--

--

Not Used

C201 Steering Column Harness to I/P Harness


Object Number: 623046  Size: CH

Object Number: 800517  Size: CH

Connector Part Information

  • OEM: 15326931
  • Service: 15306309
  • Description: 10-Way F GT 280 Series (BK)

Connector Part Information

  • OEM: 15326935
  • Service: 15306305
  • Description: 10-Way M GT 280 Series (BK)

Terminal Part Information

  • Terminal/Tray: 15304711/8
  • Core/Insulation Crimp: E/A
  • Release Tool/Test Probe: 15315247/J-35616-4A (PU)

Terminal Part Information

  • Terminal/Tray: 15304722/8
  • Core/Insulation Crimp: E/C
  • Release Tool/Test Probe: 15315247/J-35616-5 (PU)

C201 Steering Column Harness to I/P Harness

Pin

Wire Color

Circuit No.

Function

Pin

Wire Color

Circuit No.

Function

A

RD/WH

1040

Battery Positive Voltage

A

RD/WH

1040

Battery Positive Voltage

RD/WH

1040

Battery Positive Voltage

B

D-BU/WH

7159

LED Dimming Supply

B

PU/WH

7005

LED Dimming Supply

C

PU/WH

1630

Steering Column Key Cylinder Lock Solenoid Control (w/ Floor Shifter)

C

PU/WH

1630

Steering Column Key Cylinder Lock Solenoid Control (w/ floor Shifter)

D

D-GN/WH

7158

Cruise Control Indicator Dimming Signal

D

D-GN/WH

7158

Cruise Control Indicator Dimming Signal

E

BK

1450

Ground

E

BK

1450

Ground

BK

1450

Ground

F

D-GN

5060

Low Speed GMLAN Serial Data

F

D-GN

5060

Low Speed GMLAN Serial Data

G

TN

28

Horn Relay Control

G

TN

28

Horn Relay Control

H

PK

3

Ignition 1 Voltage

H

--

--

Not Used

PK

3

Ignition 1 Voltage

J

--

--

Not Used

J

--

--

Not Used

K

BK/WH

1551

Ground

K

BK/WH

1551

Ground

C203 Body Harness to I/P Harness


Object Number: 655774  Size: CH

Object Number: 655773  Size: CH

Connector Part Information

  • OEM: 15317325
  • Service: See Catalog
  • Description: 22-Way F GT 150, 280 Series (L-GY)

Connector Part Information

  • OEM: 15317322
  • Service: See Catalog
  • Description: 22-Way M GT 150, 280 Series (L-GY)

Terminal Part Information

  • Pins: A1, A2, A9, A10, A11, B1, B2, B3, B9, B10
  • Terminal/Tray: 12191812/19
  • Core/Insulation Crimp: Pins: A1, (A9, A10 (UQ3)), A11, B1, B2, B3, B9, B10 - E/C
  • Core/Insulation Crimp: Pins: A2, (A9, A10 (w/o UQ3)) - C/A
  • Release Tool/Test Probe: 15315247/J-35616-2A (GY)
  • Pins: A4, A5, A6, A7, A8, B4, B5, B6, B7, B8
  • Terminal/Tray: 15304711/8
  • Core/Insulation Crimp: Pins: A4, A5, (A6, A7 (UQ3)), B6, B7, B8 - E/A
  • Core/Insulation Crimp: Pins: (A6, A7 (w/o UQ3)) A8, B4, B5 - 2/A
  • Release Tool/Test Probe: 15315247/J-35616-4A (PU)

Terminal Part Information

  • Pins: A1, A2, A9, A10, A11, B1, B2, B3, B89, B10
  • Terminal/Tray: 15304702/19
  • Core/Insulation Crimp: Pins: A1, B1, B2, B3 - E/C
  • Core/Insulation Crimp: Pins: A11, B9, B10 - E/4
  • Core/Insulation Crimp: Pins: A2, A9, A10, - 2/4
  • Release Tool/Test Probe: 15315247/J-35616-3 (GY)
  • Pins: A4, A5, A6, A7, A8, (B4, B5 (9C1, 9C3))
  • Terminal/Tray: 15304724/8
  • Core/Insulation Crimp: 2/A
  • Release Tool/Test Probe: 15315247/J-35616-5 (PU)
  • Pins: (B4, B5 (w/o 9C1, 9C3)), B6, B7, B8
  • Terminal/Tray: 15304722/8
  • Core/Insulation Crimp: E/C
  • Release Tool/Test Probe: 15315247/J-35616-5 (PU)

C203 Body Harness to I/P Harness

Pin

Wire Color

Circuit No.

Function

Pin

Wire Color

Circuit No.

Function

A1

D-GN/WH

1135

A/T Shift Lock Control Solenoid Supply Voltage (w/ Floor Shifter)

A1

D-GN/WH

1135

A/T Shift Lock Control Solenoid Supply Voltage (w/ Floor Shifter)

A2

PU

5234

Passenger Seat Belt Indicator Control (Coupe)

A2

PU

5234

Passenger Seat Belt Indicator Control (Coupe)

A3

D-BU

2307

Passenger Air Bag On Indicator Control (Coupe)

A3

D-BU

2307

Passenger Air Bag On Indicator Control (Coupe)

A4

TN/BK

2500

High Speed GMLAN Serial Data Bus+

A4

TN/BK

2500

High Speed GMLAN Serial Data Bus+

TN/BK

2500

High Speed GMLAN Serial Data Bus+

A5

TN

2501

High Speed GMLAN Serial Data Bus-

A5

TN

2501

High Speed GMLAN Serial Data Bus-

TN

2501

High Speed GMLAN Serial Data Bus-

A6

GY

118

Left Front Speaker Output (-) (UW6)

A6

GY

118

Left Front Speaker Output (-) (UW6)

GY

118

Left Front Speaker Output (-) (UW6, Sedan)

D-GN

1947

Left Front Low Level Audio Signal (-) (U87, UQ3)

GY

118

Left Front Low Level Audio Signal (-) (U87, UQ3)

A7

TN

201

Left Front Speaker Output (+) (UW6)

A7

TN

201

Left Front Speaker Output (+) (UW6)

TN

201

Left Front Speaker Output (+) (UW6, Sedan)

TN

511

Left Front Low Level Audio Signal (+) (U87, UQ3)

TN

201

Left Front Low Level Audio Signal (+) (U87, UQ3)

A8

OG

1732

Inadvertent Power Courtesy Lamp

A8

OG

1732

Inadvertent Power Courtesy Lamp

A9

YE

116

Left Rear Speaker Output (-) (UW6)

A9

YE

116

Left Rear Speaker Output (-) (UW6)

BN

1999

Left Rear Low Level Audio Signal (-) (U87, UQ3)

YE

116

Left Rear Low Level Audio Signal (-) (U87, UQ3)

A10

BN

199

Left Rear Speaker Output (+) (UW6)

A10

BN

199

Left Rear Speaker Output (+) (UW6)

BN/WH

599

Left Rear Low Level Audio Signal (+) (U87, UQ3)

BN

199

Left Rear Low Level Audio Signal (+) (U87, UQ3)

A11

L-BU

1320

CHMSL Supply Voltage

A11

L-BU

1320

CHMSL Supply Voltage

B1

L-BU

1405

Audio Common Signal (UE1)

B1

L-BU

1405

Audio Common Signal (UE1)

OG

5186

Left Trailer Turn Signal Lamp (6J6)

OG

5186

Left Trailer Turn Signal Lamp (6J6)

B2

OG/BK

1406

Left Audio Signal (+) (UE1)

B2

OG/BK

1406

Left Audio Signal (+) (UE1)

YE

5187

Right Trailer Turn Signal Lamp (6J6)

YE

5187

Right Trailer Turn Signal Lamp (6J6)

B3

BARE

813

Drain Wire (UE1)

B3

BARE

813

Drain Wire (UE1)

B4

YE

18

Left Rear Stop/Turn Lamp Supply Voltage

B4

YE

18

Left Rear Stop/Turn Lamp Supply Voltage

YE

18

Left Rear Stop/Turn Lamp Supply Voltage (9C1, 9C3)

B5

D-GN

19

Right Rear Stop/Turn Lamp Supply Voltage

B5

D-GN

19

Right Rear Stop/Turn Lamp Supply Voltage

D-GN

19

Right Rear Stop/Turn Lamp Supply Voltage (9C1, 9C3)

B6

PU/WH

1630

Steering Column Key Cylinder Lock Solenoid Control

B6

PU/WH

1630

Steering Column Key Cylinder Lock Solenoid Control

B7

BN

882

Right Rear Wheel Speed Sensor Signal (JL9)

B7

BN

882

Right Rear Wheel Speed Sensor Signal (JL9)

B8

WH

883

Right Rear Wheel Speed Sensor Low Reference (JL9)

B8

WH

883

Right Rear Wheel Speed Sensor Low Reference (JL9)

B9

TN

884

Left Rear Wheel Speed Sensor Signal (JL9)

B9

TN

884

Left Rear Wheel Speed Sensor Signal (JL9)

B10

OG

885

Left Rear Wheel Speed Sensor Low Reference (JL9)

B10

OG

885

Left Rear Wheel Speed Sensor Low Reference (JL9)

B11

D-GN

2308

Passenger Air Bag Off Indicator Control (Coupe)

B11

D-GN

2308

Passenger Air Bag Off Indicator Control (Coupe)

C208 (9C1, 9C3) SEO Auxiliary Harness to Body Harness


Object Number: 493694  Size: CH

Object Number: 768090  Size: CH

Connector Part Information

  • OEM: 12129939
  • Service: 15306159
  • Description: 2-Way F Metri-Pack 630 Series (BK)

Connector Part Information

  • OEM: 12129938
  • Service: See Catalog
  • Description: 2-Way M Metri-Pack 630 Series (BK)

Terminal Part Information

  • Terminal/Tray: 12084590/3
  • Core/Insulation Crimp: B/G
  • Release Tool/Test Probe: 12094430/J-35616-42 (RD)

Terminal Part Information

  • Terminal/Tray: 12066493/3
  • Core/Insulation Crimp: B/G
  • Release Tool/Test Probe: 12094430/J-35616-43 (RD)

C208 (9C1, 9C3) SEO Auxiliary Harness to Body Harness

Pin

Wire Color

Circuit No.

Function

Pin

Wire Color

Circuit No.

Function

A

L-BU

6822

Upfitter Defined Exterior Lamp Supply #1

A

L-BU

6822

Upfitter Defined Exterior Lamp Supply #1 (6F5)

B

PK

6823

Upfitter Defined Exterior Lamp Supply #2

B

PK

6823

Upfitter Defined Exterior Lamp Supply #2 (6F5)

C210 I/P Harness to HVAC Harness


Object Number: 695495  Size: CH

Object Number: 646366  Size: CH

Connector Part Information

  • OEM: 15326870
  • Service: 88953160
  • Description: 2-Way F GT 280 Series (BK)

Connector Part Information

  • OEM: 15326874
  • Service: 15306379
  • Description: 2-Way M GT 280 Series (BK)

Terminal Part Information

  • Terminal/Tray: 15304713/19
  • Core/Insulation Crimp: F/D
  • Release Tool/Test Probe: 15315247/J-35616-4A (PU)

Terminal Part Information

  • Terminal/Tray: 15304724/8
  • Core/Insulation Crimp: A/D
  • Release Tool/Test Probe: 15315247/J-35616-5 (PU)

C210 I/P Harness to HVAC Harness

Pin

Wire Color

Circuit No.

Function

Pin

Wire Color

Circuit No.

Function

A

RD/BK

442

Battery Positive Voltage

A

RD

442

Battery Positive Voltage

B

BK

150

Ground

B

BK

150

Ground

C223 (9C1, 9C3) Body Harness to Body Harness


Object Number: 82383  Size: CH

Object Number: 35441  Size: CH

Connector Part Information

  • OEM: 12047662
  • Service: 12085535
  • Description: 2-Way F Metri-Pack 150 Series (BK)

Connector Part Information

  • OEM: 12047663
  • Service: 12085481
  • Description: 2-Way M Metri-Pack 150 Series (BK)

Terminal Part Information

  • Terminal/Tray: 12047767/2
  • Core/Insulation Crimp: E/A
  • Release Tool/Test Probe: 12094429/J-35616-2A (GY)

Terminal Part Information

  • Terminal/Tray: 12047581/2
  • Core/Insulation Crimp: E/A
  • Release Tool/Test Probe: 12094429/J-35616-3 (GY)

C223 (9C1, 9C3) Body Harness to Body Harness

Pin

Wire Color

Circuit No.

Function

Pin

Wire Color

Circuit No.

Function

A

YE

18

Left Rear Stop/Turn Lamp Supply Voltage

A

YE

18

Left Rear Stop/Turn Lamp Supply Voltage

B

D-GN

19

Right Rear Stop/Turn Lamp Supply Voltage

B

D-GN

19

Right Rear Stop/Turn Lamp Supply Voltage

C250 SIR Coil to the Body Harness


Object Number: 594473  Size: CH

Object Number: 684931  Size: CH

Connector Part Information

  • OEM: 15336479
  • Service: See Catalog
  • Description: 4-Way F Metri-Pack 280 Series w/Shorting Clip (YE)

Connector Part Information

  • OEM: 15336476
  • Service: See Catalog
  • Description: 4-Way M Metri-Pack 280 Series (YE)

Terminal Part Information

  • Terminal/Tray: 12176667/ See Terminal Repair Kit
  • Core/Insulation Crimp: See Terminal Repair Kit
  • Release Tool/Test Probe: See Terminal Repair Kit

Terminal Part Information

  • Terminal/Tray: 12034047/2
  • Core/Insulation Crimp: E/A
  • Release Tool/Test Probe: 12094430/J-35616-5 (PU)

C250 SIR Coil to the Body Harness

Pin

Wire Color

Circuit No.

Function

Pin

Wire Color

Circuit No.

Function

A1

TN

3021

Steering Wheel Module - Stage 1 - High Control

A1

TN

3021

Steering Wheel Module - Stage 1 - High Control

A2

BN

3020

Steering Wheel Module - Stage 1 - Low Control

A2

BN

3020

Steering Wheel Module - Stage 1 - Low Control

B1

WH

3023

Steering Wheel Module - Stage 2 - High Control

B1

WH

3023

Steering Wheel Module - Stage 2 - High Control

B2

PK

3022

Steering Wheel Module - Stage 2 - Low Control

B2

PK

3022

Steering Wheel Module - Stage 2 - Low Control

C266 (9C1, 9C3) I/P Harness to I/P Harness


Object Number: 439818  Size: CH

Object Number: 611495  Size: CH

Connector Part Information

  • OEM: 12047682
  • Service: 12101850
  • Description: 1-Way F Metri-Pack 150 Series (BK)

Connector Part Information

  • OEM: 12047683
  • Service: 12101828
  • Description: 1-Way M Metri-Pack 150 Series (BK)

Terminal Part Information

  • Terminal/Tray: 12064971/5
  • Core/Insulation Crimp: E/C
  • Release Tool/Test Probe: 12094429/J-35616-2A (GY)

Terminal Part Information

  • Terminal/Tray: 12047581/2
  • Core/Insulation Crimp: E/C
  • Release Tool/Test Probe: 12094429/J-35616-3 (GY)

C266 (9C1, 9C3) I/P Harness to I/P Harness

Pin

Wire Color

Circuit No.

Function

Pin

Wire Color

Circuit No.

Function

A

TN

28

Horn Relay Control

A

TN

28

Horn Relay Control

C267 (9C1, 9C3, w/o WX7) I/P Harness to I/P Harness


Object Number: 62463  Size: CH

Object Number: 73217  Size: CH

Connector Part Information

  • OEM: 12064766
  • Service: 12101875
  • Description: 8-Way F Metri-Pack 150 Series (BU)

Connector Part Information

  • OEM: 12064767
  • Service: See Catalog
  • Description: 8-Way M Metri-Pack 150 Series (BU)

Terminal Part Information

  • Terminal/Tray: 12047767/2
  • Core/Insulation Crimp: E/A
  • Release Tool/Test Probe: 12094429/J-35616-2A (GY)

Terminal Part Information

  • Terminal/Tray: 12047581/2
  • Core/Insulation Crimp: E/A
  • Release Tool/Test Probe: 12094429/J-35616-3 (GY)

C267 (9C1, 9C3, w/o WX7) I/P Harness to I/P Harness

Pin

Wire Color

Circuit No.

Function

Pin

Wire Color

Circuit No.

Function

A

GY

118

Left Front Speaker Output (-)

A

GY

118

Left Front Speaker Output (-)

B

TN

201

Left Front Speaker Output (+)

B

TN

201

Left Front Speaker Output (+)

C

D-GN

117

Right Front Speaker Output (-)

C

D-GN

117

Right Front Speaker Output (-)

D

L-GN

200

Right Front Speaker Output (+)

D

L-GN

200

Right Front Speaker Output (+)

E

YE

116

Left Rear Speaker Output (-)

E

YE

116

Left Rear Speaker Output (-)

F

BN

199

Left Rear Speaker Output (+)

F

BN

199

Left Rear Speaker Output (+)

G

L-BU

115

Right Rear Speaker Output (-)

G

L-BU

115

Right Rear Speaker Output (-)

H

D-BU

46

Right Rear Speaker Output (+)

H

D-BU

46

Right Rear Speaker Output (+)

C267A (9C1, 9C3, w/WX7) I/P Harness to I/P Harness


Object Number: 62463  Size: CH

Object Number: 73217  Size: CH

Connector Part Information

  • OEM: 12064766
  • Service: 12101875
  • Description: 8-Way F Metri-Pack 150 Series (BU)

Connector Part Information

  • OEM: 12064767
  • Service: See Catalog
  • Description: 8-Way M Metri-Pack 150 Series (BU)

Terminal Part Information

  • Terminal/Tray: 12047767/2
  • Core/Insulation Crimp: E/A
  • Release Tool/Test Probe: 12094429/J-35616-2A (GY)

Terminal Part Information

  • Terminal/Tray: 12047581/2
  • Core/Insulation Crimp: E/A
  • Release Tool/Test Probe: 12094429/J-35616-3 (GY)

C267A (9C1, 9C3, w/WX7) I/P Harness to I/P Harness

Pin

Wire Color

Circuit No.

Function

Pin

Wire Color

Circuit No.

Function

A

GY

118

Left Front Speaker Output (-)

A

YE

116

Left Rear Speaker Output (-)

B

TN

201

Left Front Speaker Output (+)

B

BN

199

Left Rear Speaker Output (+)

C

D-GN

117

Right Front Speaker Output (-)

C

L-BU

115

Right Rear Speaker Output (-)

D

L-GN

200

Right Front Speaker Output (+)

D

D-BU

46

Right Rear Speaker Output (+)

E

YE

116

Left Rear Speaker Output (-)

E

--

--

Not Used

F

BN

199

Left Rear Speaker Output (+)

F

--

--

Not Used

G

L-BU

115

Right Rear Speaker Output (-)

G

--

--

Not Used

H

D-BU

46

Right Rear Speaker Output (+)

H

--

--

Not Used

C267B (9C1, 9C3, w/WX7) I/P Harness to I/P Harness


Object Number: 62463  Size: CH

Object Number: 73217  Size: CH

Connector Part Information

  • OEM: 12064766
  • Service: 12101875
  • Description: 8-Way F Metri-Pack 150 Series (BU)

Connector Part Information

  • OEM: 12064767
  • Service: See Catalog
  • Description: 8-Way M Metri-Pack 150 Series (BU)

Terminal Part Information

  • Terminal/Tray: 12047767/2
  • Core/Insulation Crimp: E/A
  • Release Tool/Test Probe: 12094429/J-35616-2A (GY)

Terminal Part Information

  • Terminal/Tray: 12047581/2
  • Core/Insulation Crimp: E/A
  • Release Tool/Test Probe: 12094429/J-35616-3 (GY)

C267B (9C1, 9C3, w/WX7) I/P Harness to I/P Harness

Pin

Wire Color

Circuit No.

Function

Pin

Wire Color

Circuit No.

Function

A

GY

118

Left Front Speaker Output (-)

A

GY

118

Left Front Speaker Output (-)

B

TN

201

Left Front Speaker Output (+)

B

TN

201

Left Front Speaker Output (+)

C

D-GN

117

Right Front Speaker Output (-)

C

D-GN

117

Right Front Speaker Output (-)

D

L-GN

200

Right Front Speaker Output (+)

D

L-GN

200

Right Front Speaker Output (+)

E

YE

116

Left Rear Speaker Output (-)

E

YE

116

Left Rear Speaker Output (-)

F

BN

199

Left Rear Speaker Output (+)

F

BN

199

Left Rear Speaker Output (+)

G

L-BU

115

Right Rear Speaker Output (-)

G

L-BU

115

Right Rear Speaker Output (-)

H

D-BU

46

Right Rear Speaker Output (+)

H

D-BU

46

Right Rear Speaker Output (+)

C275 SIR Coil to Steering Column Harness


Object Number: 62439  Size: CH

Object Number: 62434  Size: CH

Connector Part Information

  • OEM: 12047886
  • Service: 12101822
  • Description: 8-Way F Metri-Pack 150 Series (BK)

Connector Part Information

  • OEM: 12045688
  • Service: 12101827
  • Description: 8-Way M Metri-Pack 150 Series (BK)

Terminal Part Information

  • Terminal/Tray: 12047883/ See Terminal Repair Kit
  • Core/Insulation Crimp: See Terminal Repair Kit
  • Release Tool/Test Probe: See Terminal Repair Kit

Terminal Part Information

  • Terminal/Tray: 12047581/2
  • Core/Insulation Crimp: E/C
  • Release Tool/Test Probe: 12094429/J-35616-3 (GY)

C275 SIR Coil to Steering Column Harness

Pin

Wire Color

Circuit No.

Function

Pin

Wire Color

Circuit No.

Function

A

BK

1450

Ground

A

BK

1450

Ground

B

TN

28

Horn Relay Control

B

TN

28

Horn Relay Control

C

GY

1884

Cruise Control Switch Signal

C

GY

1884

Cruise Control Switch Signal

D

D-BU

1796

Steering Wheel Controls Signal

D

D-BU

1796

Steering Wheel Controls Signal

E

PU

1375

Steering Wheel Control Supply Voltage

E

PU

1375

Steering Wheel Control Supply Voltage

F

D-BU/WH

7005

LED Dimming Supply

F

D-BU/WH

7005

LED Dimming Supply

G

D-GN/WH

7158

Cruise Control Indicator Dimming Signal

G

D-GN/WH

7158

Cruise Control Indicator Dimming Signal

H

--

--

Not Used

H

--

--

Not Used

C277 SIR Coil to Steering Wheel Harness


Object Number: 62439  Size: CH

Object Number: 62434  Size: CH

Connector Part Information

  • OEM: 12047886
  • Service: 12101822
  • Description: 8-Way F Metri-Pack 150 Series (BK)

Connector Part Information

  • OEM: 12045688
  • Service: 12101827
  • Description: 8-Way M Metri-Pack 150 Series (BK)

Terminal Part Information

  • Terminal/Tray: 12047883/ See Terminal Repair Kit
  • Core/Insulation Crimp: See Terminal Repair Kit
  • Release Tool/Test Probe: See Terminal Repair Kit

Terminal Part Information

  • Terminal/Tray: 12047581/2
  • Core/Insulation Crimp: E/C
  • Release Tool/Test Probe: 12094429/J-35616-3 (GY)

C277 SIR Coil to Steering Wheel Harness

Pin

Wire Color

Circuit No.

Function

Pin

Wire Color

Circuit No.

Function

A

BK

1450

Ground

A

BK

1450

Ground

B

TN

28

Horn Relay Control

B

TN

28

Horn Relay Control

C

GY

1884

Cruise Control Switch Signal

C

GY

1884

Cruise Control Switch Signal

D

D-BU

1796

Steering Wheel Controls Signal

D

D-BU

1796

Steering Wheel Controls Signal

E

PU

1375

Steering Wheel Control Supply Voltage

E

PU

1375

Steering Wheel Control Supply Voltage

F

D-BU/WH

7005

LED Dimming Supply

F

PU/WH

7005

LED Dimming Supply

G

D-GN/WH

7158

Cruise Control Indicator Dimming Signal

G

D-GN/WH

7158

Cruise Control Indicator Dimming Signal

H

--

--

Not Used

H

--

--

Not Used

C278 Inflatable Restraint I/P Module Jumper Harness to the Body Harness


Object Number: 594473  Size: CH

Object Number: 684931  Size: CH

Connector Part Information

  • OEM: 15336479
  • Service: See Catalog
  • Description: 4-Way F Metri-Pack 280 Series w/Shorting Clip (YE)

Connector Part Information

  • OEM: 15336476
  • Service: See Catalog
  • Description: 4-Way M Metri-Pack 280 Series (YE)

Terminal Part Information

  • Terminal/Tray: 12176667/ See Terminal Repair Kit
  • Core/Insulation Crimp: See Terminal Repair Kit
  • Release Tool/Test Probe: See Terminal Repair Kit

Terminal Part Information

  • Terminal/Tray: 12034047/2
  • Core/Insulation Crimp: E/A
  • Release Tool/Test Probe: 12094430/J-35616-5 (PU)

C278 Inflatable Restraint I/P Module Jumper Harness to the Body Harness

Pin

Wire Color

Circuit No.

Function

Pin

Wire Color

Circuit No.

Function

A1

TN

3025

I/P Module - Stage 1 - High Control

A1

TN

3025

I/P Module - Stage 1 - High Control

A2

BN

3024

I/P Module - Stage 1 - Low Control

A2

BN

3024

I/P Module - Stage 1 - Low Control

B1

WH

3027

I/P Module - Stage 2 - High Control

B1

WH

3027

I/P Module - Stage 2 - High Control

B2

PK

3026

I/P Module - Stage 2 - Low Control

B2

PK

3026

I/P Module - Stage 2 - Low Control

C297 (9C1, 9C3, 6J3) I/P Harness to Grill Lamp Jumper Harness


Object Number: 40422  Size: CH

Object Number: 40425  Size: CH

Connector Part Information

  • OEM: 12064762
  • Service: 12125665
  • Description: 6-Way F Metri-Pack 150 Series (L-GY)

Connector Part Information

  • OEM: 12064763
  • Service: See Catalog
  • Description: 6-Way M Metri-Pack 150 Series (L-GY)

Terminal Part Information

  • Terminal/Tray: 12047767/2
  • Core/Insulation Crimp: E/A
  • Release Tool/Test Probe: 12094429/J-35616-2A (GY)

Terminal Part Information

  • Terminal/Tray: 12041351/2
  • Core/Insulation Crimp: See Terminal Repair Kit
  • Release Tool/Test Probe: See Terminal Repair Kit

C297 (9C1, 9C3, 6J3) I/P Harness to Grill Lamp Jumper Harness

Pin

Wire Color

Circuit No.

Function

Pin

Wire Color

Circuit No.

Function

A

--

--

Not Used

A

--

--

Not Used

B

L-BU

6837

Siren #1 Supply

B

L-BU

6837

Siren #1 Supply

C

L-GN

6836

Siren #2 Supply

C

L-GN

6836

Siren #2 Supply

D

GY

6838

Front Emergency Flasher Control

D

GY

6838

Front Emergency Flasher Control

E

TN

6835

Front Emergency Lamp Supply Voltage

E

TN

6835

Front Emergency Lamp Supply Voltage

F

--

--

Not Used

F

--

--

Not Used

C301 Body Harness to Left Front Door Harness


Object Number: 1243531  Size: CH

Object Number: 1243534  Size: CH

Connector Part Information

  • OEM: 15401211
  • Service: 88953323
  • Description: 40-Way F GT 150, 280 Series (GY)

Connector Part Information

  • OEM: 15401208
  • Service: 88956505
  • Description: 40-Way M GT 150, 280 Series (GY)

Terminal Part Information

  • Pins: A2, A3, A4, A5, A6, A7, D2, D4, D5
  • Terminal/Tray: 15304713/19
  • Core/Insulation Crimp: F/D
  • Release Tool/Test Probe: 15315247/J-35616-4A (PU)
  • Pins: B1, B2, B3, B4, B5, B6, B7, B12, C1, C2, C3, C4, C5, C6, C12,
  • Terminal/Tray: 12191812/19
  • Core/Insulation Crimp: Pins: B1, B2, B3, B5, B6, B7, B12, C1, C2, C3, C5, C6, C12 - E/C
  • Core/Insulation Crimp: Pins: B4, C4 - C/A
  • Release Tool/Test Probe: 15315247/J-35616-2A (GY)
  • Pins: D6, D7
  • Terminal/Tray: 15304711/8
  • Core/Insulation Crimp: 2/A
  • Release Tool/Test Probe: 15315247/J-35616-4A (PU)

Terminal Part Information

  • Pins: A2, A3, A4, A5, A6, A7, D2, D4, D5, D6, D7
  • Terminal/Tray: 15304724/8
  • Core/Insulation Crimp: Pins: A2, A3, A4, A5, A6, A7, D2, D4, D5 - C/D
  • Core/Insulation Crimp: Pins: D6, D7 - 2/A
  • Release Tool/Test Probe: 15315247/J-35616-5 (PU)
  • Pins:
  • Terminal/Tray: 15304702/19
  • Core/Insulation Crimp: Pins: B1, B2, B3, B5, B6, B7, B12, C1, C2, C3, C5, C6, C12 - E/4
  • Core/Insulation Crimp: Pins: B4, C4 - 2/4
  • Release Tool/Test Probe: 15315247/J-35616-3 (GY)

C301 Body Harness to Left Front Door Harness

Pin

Wire Color

Circuit No.

Function

Pin

Wire Color

Circuit No.

Function

A1

--

--

Not Used

A1

--

--

Not Used

A2

YE

143

Accessory Voltage

A2

YE

143

Accessory Voltage

A3

D-BU

1307

Power Window Master Switch Lockout Signal (Sedan)

A3

D-BU

1307

Power Window Master Switch Lockout Signal (Sedan)

A4

L-BU

166

Power Window Master Switch Right Front Up Signal

A4

L-BU

166

Power Window Master Switch Right Front Up Signal

A5

TN

167

Power Window Master Switch Right Front Down Signal

A5

TN

167

Power Window Master Switch Right Front Down Signal

A6

L-GN

170

Power Window Master Switch Right Rear Up Signal (Sedan)

A6

L-GN

170

Power Window Master Switch Right Rear Up Signal (Sedan)

A7

PU

171

Power Window Master Switch Right Rear Down Signal (Sedan)

A7

PU

171

Power Window Master Switch Right Rear Down Signal (Sedan)

A8

--

--

Not Used

A8

--

--

Not Used

B1

TN/WH

330

Right Mirror Motor Supply Voltage

B1

TN/WH

330

Right Mirror Motor Supply Voltage

B2

OG/WH

881

Passenger Mirror Motor Right Control

B2

OG/WH

881

Passenger Mirror Motor Right Control

B3

OG

267

Heated Mirror Element Supply Voltage (DK2)

B3

OG

267

Heated Mirror Element Supply Voltage

B4

GY

295

Door Lock Actuator Lock Control

B4

GY

295

Door Lock Actuator Lock Control

B5

OG/BK

781

Driver Door Lock Switch Unlock Signal

B5

OG/BK

781

Driver Door Lock Switch Unlock Signal

B6

GY/BK

745

Left Front Door Ajar Switch Signal

B6

GY/BK

745

Left Front Door Ajar Switch Signal

B7

PU

1124

Door Lock Key Switch Unlock Signal (Uplevel)

B7

PU

1124

Door Lock Key Switch Unlock Signal (Uplevel)

B8-B11

--

--

Not Used

B8-B11

--

--

Not Used

B12

YE

2131

Side Impact Sensing Module - Left - Voltage (AJ7, AY1)

B12

YE

2131

Side Impact Sensing Module - Left - Voltage (AJ7, AY1)

C1

PU/WH

889

Passenger Mirror Motor Down Control

C1

PU/WH

889

Passenger Mirror Motor Down Control

C2

RD/WH

840

Battery Positive Voltage

C2

RD/WH

840

Battery Positive Voltage

C3

GY

8

Instrument Panel Lamp Supply Voltage

C3

GY

8

Instrument Panel Lamp Supply Voltage

C4

TN

694

Driver Door Lock Actuator Unlock Control

C4

TN

694

Driver Door Lock Actuator Unlock Control

C5

OG/BK

780

Driver Door Lock Switch Lock Signal

C5

PK/BK

780

Driver Door Lock Switch Lock Signal

C6

TN

126

Left Front Door Open Switch Signal

C6

TN

126

Left Front Door Open Switch Signal

C7

YE

1956

Left Front Tweeter Speaker Output (-) (U87)

C7

YE

1956

Left Front Tweeter Speaker Output (-) (U87)

C8

TN

1856

Left Front Tweeter Speaker Output (+) (U87)

C8

TN

1856

Left Front Tweeter Speaker Output (+) (U87)

C9-C11

--

--

Not Used

C9-C11

--

--

Not Used

C12

WH

2132

Side Impact Sensing Module - Left - Signal (AJ7, AY1)

C12

WH

2132

Side Impact Sensing Module - Left - Signal (AJ7, AY1)

D1

--

--

Not Used

D1

--

--

Not Used

D2

BK

550

Ground

D2

BK

550

Ground

D3

--

--

Not Used

D3

--

--

Not Used

D4

D-GN

168

Power Window Master Switch Left Rear Up Signal (Sedan)

D4

D-GN

168

Power Window Master Switch Left Rear Up Signal (Sedan)

D5

PU

169

Power Window Master Switch Left Rear Down Signal (Sedan)

D5

PU

169

Power Window Master Switch Left Rear Down Signal (Sedan)

D6

GY

118

Left Front Speaker Output (-)

D6

GY

118

Left Front Speaker Output (-)

YE

1956

Left Front Speaker Output (-) (UQ3)

D7

TN

201

Left Front Speaker Output (+)

D7

TN

201

Left Front Speaker Output (+)

TN

1856

Left Front Speaker Output (+) (UQ3)

D8

--

--

Not Used

D8

--

--

Not Used

C302 Body Harness to Right Front Door Harness


Object Number: 1243531  Size: CH

Object Number: 1243534  Size: CH

Connector Part Information

  • OEM: 15401211
  • Service: 88953323
  • Description: 40-Way F GT 150, 280 Series (GY)

Connector Part Information

  • OEM: 15401208
  • Service: 88956505
  • Description: 40-Way M GT 150, 280 Series (GY)

Terminal Part Information

  • Pins: A2, A4, A5, D4
  • Terminal/Tray: 15304713/19
  • Core/Insulation Crimp: Pins: A2, A4, A5 - F/D
  • Core/Insulation Crimp: Pins: D4 - 4/4
  • Release Tool/Test Probe: 15315247/J-35616-4A (PU)
  • Pins: B1, B2, B3, B4, B5, B6, B12, C1, C3, C4, C5, C6, C12
  • Terminal/Tray: 12191712/19
  • Core/Insulation Crimp: Pins: B1, B2, B3, B5, B6, B12, C1, C3, C5, C6, C12 - E/C
  • Core/Insulation Crimp: Pins: B4, C4 - C/A
  • Release Tool/Test Probe: 15315247/J-35616-2A (GY)
  • Pins: D2, D6, D7
  • Terminal/Tray: 15304711/8
  • Core/Insulation Crimp: 2/A
  • Release Tool/Test Probe: 15315247/J-35616-4A (PU)

Terminal Part Information

  • Pins: A2, A4, A5, D6, D7
  • Terminal/Tray: 15304724/8
  • Core/Insulation Crimp: Pins: A2, A4, A5 - A/D
  • Core/Insulation Crimp: Pins: D6, D7 - 2/A
  • Release Tool/Test Probe: 15315247/J-35616-5 (PU)
  • Pins: B1, B2, B3, B4, B5, B6, B12, C1, C3, C4, C5, C6, C12
  • Terminal/Tray: 15304702/19
  • Core/Insulation Crimp: Pins: B1, B2, B3, B6, B12, C1, C6, C12 - E/4
  • Core/Insulation Crimp: Pins: B4, B5, C3, C4, C5 - 2/4
  • Release Tool/Test Probe: 15315247/J-35616-3 (GY)
  • Pins: D2
  • Terminal/Tray: 15304722/8
  • Core/Insulation Crimp: E/C
  • Release Tool/Test Probe: 15315247/J-35616-5 (PU)
  • Pins: D6, D7
  • Terminal/Tray: 15304724/8
  • Core/Insulation Crimp: 2/A
  • Release Tool/Test Probe: 15315247/J-35616-5 (PU)

C302 Body Harness to Right Front Door Harness

Pin

Wire Color

Circuit No.

Function

Pin

Wire Color

Circuit No.

Function

A1

--

--

Not Used

A1

--

--

Not Used

A2

YE

143

Accessory Voltage (Coupe)

A2

YE

143

Accessory Voltage

YE/BK

143

Accessory Voltage (Sedan)

A3

--

--

Not Used

A3

--

--

Not Used

A4

L-BU

166

Power Window Master Switch Right Front Up Signal

A4

L-BU

166

Power Window Master Switch Right Front Up Signal

A5

TN

167

Power Window Master Switch Right Front Down Signal

A5

TN

167

Power Window Master Switch Right Front Down Signal

A6-A8

--

--

Not Used

A6-A8

--

--

Not Used

B1

TN/WH

330

Right Mirror Motor Supply Voltage

B1

TN/WH

330

Right Mirror Motor Supply Voltage

B2

OG/WH

881

Passenger Mirror Motor Right Control

B2

OG/WH

881

Passenger Mirror Motor Right Control

B3

OG

267

Heated Mirror Element Supply Voltage (DK2)

B3

OG

267

Heated Mirror Element Supply Voltage

B4

GY

295

Door Lock Actuator Lock Control

B4

GY

295

Door Lock Actuator Lock Control

B5

D-BU

245

Passenger Door Lock Switch Unlock Signal

B5

D-BU

245

Passenger Door Lock Switch Unlock Signal

B6

TN/WH

746

Right Front Door Ajar Switch Signal

B6

TN/WH

746

Right Front Door Ajar Switch Signal

B7-B11

--

--

Not Used

B7-B11

--

--

Not Used

B12

TN

2133

Side Impact Sensing Module - Right - Voltage (AJ7, AY1)

B12

TN

2133

Side Impact Sensing Module - Right - Voltage (AJ7, AY1)

C1

PU/WH

889

Passenger Mirror Motor Down Control

C1

PU/WH

889

Passenger Mirror Motor Down Control

C2

--

--

Not Used

C2

--

--

Not Used

C3

GY

8

Instrument Panel Lamp Supply Voltage

C3

GY

8

Instrument Panel Lamp Supply Voltage

C4

TN

294

Door Lock Actuator Unlock Control

C4

TN

294

Door Lock Actuator Unlock Control

C5

L-BU

244

Passenger Door Lock Switch Lock Signal

C5

L-BU

244

Passenger Door Lock Switch Lock Signal

C6

OG

5922

Passenger Door Open Switch Signal

C6

OG

5922

Passenger Door Open Switch Signal

C7

PU

1952

Right Front Tweeter Speaker Output (-) (U87, UQ3)

C7

PU

1952

Right Front Tweeter Speaker Output (-) (U87, UQ3)

C8

L-GN

1852

Right Front Tweeter Speaker Output (+) (U87)

C8

L-GN

1852

Right Front Tweeter Speaker Output (+) (U87)

C9-C11

--

--

Not Used

C9-C11

--

--

Not Used

C12

D-GN

2134

Side Impact Sensing Module - Right - Signal (AJ7, AY1)

C12

D-GN

2134

Side Impact Sensing Module - Right - Signal (AJ7, AY1)

D1

--

--

Not Used

D1

--

--

Not Used

D2

BK

750

Ground

D2

BK

750

Ground

D3

--

--

Not Used

D3

--

--

Not Used

D4

RD/WH

1140

Battery Positive Voltage (AG1, AG2)

D4

--

--

Not Used

D5

--

--

Not Used

D5

--

--

Not Used

D6

D-GN

117

Right Front Speaker Output (-)

D6

D-GN

117

Right Front Speaker Output (-)

PU

1952

Right Front Speaker Output (-) (UQ3)

D7

L-GN

200

Right Front Speaker Output (+)

D7

L-GN

200

Right Front Speaker Output (+)

L-GN

1852

Right Front Speaker Output (+) (UQ3)

D8

--

--

Not Used

D8

--

--

Not Used

C311 Body Harness to Left Front Seat Harness


Object Number: 813079  Size: CH

Object Number: 813080  Size: CH

Connector Part Information

  • OEM: 15336205
  • Service: 88986267
  • Description: 12-Way F GT 150, 280 Series (BK)

Connector Part Information

  • OEM: 13516626
  • Service: 88986259
  • Description: 12-Way M GT 150, 280 Series (BK)

Terminal Part Information

  • Pins: A, M
  • Terminal/Tray: 15304713/19
  • Core/Insulation Crimp: F/D
  • Release Tool/Test Probe: 15315247/J-35616-4A (PU)
  • Pins: B-D, E, H, J, K
  • Terminal/Tray: 12191812/19
  • Core/Insulation Crimp: C/A
  • Release Tool/Test Probe: 15315247/J-35616-2A (GY)
  • Pins: G
  • Terminal/Tray: 15304711/8
  • Core/Insulation Crimp: 2/A
  • Release Tool/Test Probe: 15315247/J-35616-4A (PU)

Terminal Part Information

  • Pins: A, F, G, M
  • Terminal/Tray: 15304724/8
  • Core/Insulation Crimp: Pins: A, M - A/D
  • Core/Insulation Crimp: Pins: F, G - 2/A
  • Release Tool/Test Probe: 15315247/J-35616-5 (PU)
  • Pins: B, C, D, E, J, K, L
  • Terminal/Tray: 15304702/19
  • Core/Insulation Crimp: Pins: B, C, E, J, K - E/C
  • Core/Insulation Crimp: Pins: D, L - 2/4
  • Release Tool/Test Probe: 15315247/J-35616-3 (GY)

C311 Body Harness to Left Front Seat Harness

Pin

Wire Color

Circuit No.

Function

Pin

Wire Color

Circuit No.

Function

A

RD/WH

1140

Battery Positive Voltage (AG1, AH8)

A

RD/WH

1140

Battery Positive Voltage (AG1, AH8)

B

D-GN

5016

Seat Belt Switch - Left - Signal

B

D-GN

5016

Seat Belt Switch - Left - Signal

C

PK

5057

Low Reference

C

PK

5057

Low Reference

D

D-BU

2479

Passenger Heated Seat Element Supply Voltage (KA1)

D

D-BU

2479

Passenger Heated Seat Element Supply Voltage (KA1)

E

GY

2434

Passenger Heated Seat Cushion Temperature Sensor Signal (KA1)

E

GY

2434

Passenger Heated Seat Cushion Temperature Sensor Signal (KA1)

F

BK

550

Ground (KA1)

F

BK

550

Ground (KA1)

G

RD/WH

1440

Battery Positive Voltage (KA1)

G

RD/WH

1440

Battery Positive Voltage (KA1)

H

L-GN

5055

Seat Position Sensor - Left - Signal

H

--

--

Not Used

J

PK

2435

Passenger Heated Seat Cushion Temperature Sensor Low Reference (KA1)

J

PK

2435

Passenger Heated Seat Cushion Temperature Sensor Low Reference (KA1)

K

D-GN

5060

Low Speed GMLAN Serial Data (KA1)

K

D-GN

5060

Low Speed GMLAN Serial Data (KA1)

L

L-BU

2433

Passenger Heated Seat Back Element Control (KA1)

L

L-BU

2433

Passenger Heated Seat Back Element Control (KA1)

M

BK

550

Ground (AG1, AH8)

M

BK

550

Ground (AG1, AH8)

C312 Inflatable Restraint Side Impact Module - Left Jumper Harness to Body Harness (AJ7)


Object Number: 1710026  Size: CH

Object Number: 646194  Size: CH

Connector Part Information

  • OEM: 12077919
  • Service: See Catalog
  • Description: 2-Way F Metri-Pack 280 Series (YE)

Connector Part Information

  • OEM: 12186799
  • Service: 15306012
  • Description: 2-Way M Metri-Pack 280 Series (YE)

Terminal Part Information

  • Terminal/Tray: 12034046/2
  • Core/Insulation Crimp: E/A
  • Release Tool/Test Probe: 12094430/J-35616-4A (PU)

Terminal Part Information

  • Terminal/Tray: 12066337/18
  • Core/Insulation Crimp: E/A
  • Release Tool/Test Probe: 12094429/J-35616-5 (PU)

C312 Inflatable Restraint Side Impact Module - Left Jumper Harness to Body Harness (AJ7)

Pin

Wire Color

Circuit No.

Function

Pin

Wire Color

Circuit No.

Function

A

WH

5223

Side Impact Module - Left - High Control

A

BN/WH

5223

Side Impact Module - Left - High Control

B

D-GN

5224

Side Impact Module - Left - Low Control

B

OG/BK

5224

Side Impact Module - Left - Low Control

C313 Body Harness to Right Front Seat Harness


Object Number: 813079  Size: CH

Object Number: 813080  Size: CH

Connector Part Information

  • OEM: 15336205
  • Service: 88986267
  • Description: 12-Way F GT 150, 280 Series (BK)

Connector Part Information

  • OEM: 15336209
  • Service: 88986259
  • Description: 12-Way M GT 150, 280 Series (BK)

Terminal Part Information

  • Pins: A, M
  • Terminal/Tray: 15304713/19
  • Core/Insulation Crimp: F/D
  • Release Tool/Test Probe: 15315247/J-35616-4A (PU)
  • Pins: B, C, E, H, J, K, L
  • Terminal/Tray: 12191812/19
  • Core/Insulation Crimp: Pins: B, C, E, H, J, K, L - E/C
  • Core/Insulation Crimp: Pins: D - C/A
  • Release Tool/Test Probe: 15315247/J-35616-2A (GY)
  • Pins: F
  • Terminal/Tray: 15304711/8
  • Core/Insulation Crimp: E/A
  • Release Tool/Test Probe: 15315247/J-35616-4A (PU)

Terminal Part Information

  • Pins: A, M
  • Terminal/Tray: 15304724/8
  • Core/Insulation Crimp: A/D
  • Release Tool/Test Probe: 15315247/J-35616-5 (PU)
  • Pins: B, C, D, E, J, K, L
  • Terminal/Tray: 15304702/19
  • Core/Insulation Crimp: Pins: B, C, E, J, K, L - E/C
  • Core/Insulation Crimp: Pins: D - 2/4
  • Release Tool/Test Probe: 15315247/15304702
  • Pins: F
  • Terminal/Tray: 15304722/8
  • Core/Insulation Crimp: E/C
  • Release Tool/Test Probe: 15315247/J-35616-5 (PU)
  • Pins: G
  • Terminal/Tray: 15304724/8
  • Core/Insulation Crimp: 2/A
  • Release Tool/Test Probe: 15315247/J-35616-5 (PU)

C313 Body Harness to Right Front Seat Harness

Pin

Wire Color

Circuit No.

Function

Pin

Wire Color

Circuit No.

Function

A

RD/WH

1140

Battery Positive Voltage (AG2)

A

RD/WH

1140

Battery Positive Voltage (AG2)

B

OG

1362

Seat Belt Switch - Right - Signal

B

OG

1362

Seat Belt Switch - Right - Signal

C

PK

2435

Passenger Heated Seat Cushion Temperature Sensor Low Reference (KA1)

C

PK

2435

Passenger Heated Seat Cushion Temperature Sensor Low Reference (KA1)

D

D-BU

2479

Passenger Heated Seat Element Supply Voltage (KA1)

D

D-BU

2479

Passenger Heated Seat Element Supply Voltage (KA1)

E

GY

2434

Passenger Heated Seat Cushion Temperature Sensor Signal (KA1)

E

GY

2434

Passenger Heated Seat Cushion Temperature Sensor Signal (KA1)

F

PK

5057

Low Reference

F

PK

5057

Low Reference

PK

5057

Low Reference

G

L-BU

2433

Passenger Heated Seat Back Element Control (KA1)

G

L-BU

2433

Passenger Heated Seat Back Element Control (KA1)

H

L-BU

5056

Seat Position Sensor - Right - Signal

H

--

--

Not Used

J

BK/WH

1751

Ground

J

BK/WH

1751

Ground

K

D-GN

5060

Low Speed GMLAN Serial Data

K

D-GN

5060

Low Speed GMLAN Serial Data

L

RD/WH

1340

Battery Positive Voltage

L

RD/WH

1340

Battery Positive Voltage

M

BK

750

Ground (AG2)

M

BK

750

Ground (AG2)

C314 Inflatable Restraint Side Impact Module - Right Jumper Harness to Body Harness (AJ7)


Object Number: 1710026  Size: CH

Object Number: 646194  Size: CH

Connector Part Information

  • OEM: 12077919
  • Service: See Catalog
  • Description: 2-Way F Metri-Pack 280 Series (YE)

Connector Part Information

  • OEM: 12186799
  • Service: 15306012
  • Description: 2-Way M Metri-Pack 280 Series (YE)

Terminal Part Information

  • Terminal/Tray: 12034046/2
  • Core/Insulation Crimp: E/A
  • Release Tool/Test Probe: 12094430/J-35616-4A (PU)

Terminal Part Information

  • Terminal/Tray: 12066337/18
  • Core/Insulation Crimp: E/A
  • Release Tool/Test Probe: 12094429/J-35616-5 (PU)

C314 Inflatable Restraint Side Impact Module - Right Jumper Harness to Body Harness (AJ7)

Pin

Wire Color

Circuit No.

Function

Pin

Wire Color

Circuit No.

Function

A

WH

5225

Side Impact Module - Right - High Control

A

PU

5225

Side Impact Module - Right - High Control

B

D-GN

5226

Side Impact Module - Right - Low Control

B

GY/BK

5226

Side Impact Module - Right - Low Control

C322 (9C1, 9C3) Body Harness to Roof Wiring Provision Harness


Object Number: 493694  Size: CH

Object Number: 768090  Size: CH

Connector Part Information

  • OEM: 12129939
  • Service: 15306159
  • Description: 2-Way F Metri-Pack 630 Series (BK)

Connector Part Information

  • OEM: 12169938
  • Service: See Catalog
  • Description: 2-Way M Metri-Pack 630 Series (BK)

Terminal Part Information

  • Terminal/Tray: 12084590/3
  • Core/Insulation Crimp: B/G
  • Release Tool/Test Probe: 12094430/J-35616-42 (RD)

Terminal Part Information

  • Terminal/Tray: 12066493/3
  • Core/Insulation Crimp: B/G
  • Release Tool/Test Probe: 12094430/J-35616-43 (RD)

C322 (9C1, 9C3) Body Harness to Roof Wiring Provision Harness

Pin

Wire Color

Circuit No.

Function

Pin

Wire Color

Circuit No.

Function

A

L-BU

6822

Upfitter Defined Exterior Lamp Supply #1

A

L-BU

6822

Upfitter Defined Exterior Lamp Supply #1 (6F5)

B

PK

6823

Upfitter Defined Exterior Lamp Supply #2

B

PK

6823

Upfitter Defined Exterior Lamp Supply #2 (6F5)

C340 (Coupe) Console Harness to Body Harness


Object Number: 153645  Size: CH

Object Number: 258179  Size: CH

Connector Part Information

  • OEM: 12129081
  • Service: See Catalog
  • Description: 2-Way F Metri-Pack 280 Series, Flex Lock (BK)

Connector Part Information

  • OEM: 15496056
  • Service: See Catalog
  • Description: 2-Way M Metri-Pack 280 Series (BK)

Terminal Part Information

  • Terminal/Tray: 12110844/4
  • Core/Insulation Crimp: C/A
  • Release Tool/Test Probe: 15315247/J-35616-4A (PU)

Terminal Part Information

  • Terminal/Tray: 12020116/2
  • Core/Insulation Crimp: C/D
  • Release Tool/Test Probe: 12094430/J-35616-5 (PU)

C340 (Coupe) Console Harness to Body Harness

Pin

Wire Color

Circuit No.

Function

Pin

Wire Color

Circuit No.

Function

A

RD/WH

1940

Battery Positive Voltage

A

RD/WH

1940

Battery Positive Voltage

B

BK

750

Ground

B

BK

750

Ground

C340 (Sedan) Console Harness to Body Harness


Object Number: 695495  Size: CH

Object Number: 646366  Size: CH

Connector Part Information

  • OEM: 15326870
  • Service: 88953160
  • Description: 2-Way F GT 280 Series (BK)

Connector Part Information

  • OEM: 15326874
  • Service: 15306379
  • Description: 2-Way M GT 280 Series (BK)

Terminal Part Information

  • Terminal/Tray: 15304711/8
  • Core/Insulation Crimp: 2/A
  • Release Tool/Test Probe: 15315247/J-35616-4A (PU)

Terminal Part Information

  • Terminal/Tray: 15304724/8
  • Core/Insulation Crimp: 2/A
  • Release Tool/Test Probe: 15315247/J-35616-5 (PU)

C340 (Sedan) Console Harness to Body Harness

Pin

Wire Color

Circuit No.

Function

Pin

Wire Color

Circuit No.

Function

A

RD/WH

1940

Battery Positive Voltage

A

RD/WH

1940

Battery Positive Voltage

B

BK

750

Ground

B

BK

750

Ground

C355 (Sedan) Body Harness to Left Rear Door Harness


Object Number: 1243551  Size: CH

Object Number: 1243552  Size: CH

Connector Part Information

  • OEM: 15441216
  • Service: 89046932
  • Description: 9-Way F GT 150, 280 Series, Sealed (BK)

Connector Part Information

  • OEM: 15486551
  • Service: 88953404
  • Description: 9-Way M GT 150, 280 Series, Sealed (GY)

Terminal Part Information

  • Pins: A, B, D, E, F,
  • Terminal/Tray: 12191819/8
  • Core/Insulation Crimp: Pins: A, B, E - 2/A
  • Core/Insulation Crimp: Pins: D, F - E/A
  • Release Tool/Test Probe: 15315247/J-35616-2A (GY)
  • Pins: C, G, H
  • Terminal/Tray: 15304720/19
  • Core/Insulation Crimp: 4/5
  • Release Tool/Test Probe: 15315247/J-35616-4A (PU)

Terminal Part Information

  • Pins: A, B, D, E, F
  • Terminal/Tray: 15326269/19
  • Core/Insulation Crimp: Pins: A, D, F - E/4
  • Core/Insulation Crimp: Pins: B, E - E/1
  • Release Tool/Test Probe: 15315247/J-35616-3 (GY)
  • Pins: C, G, H
  • Terminal/Tray: 15304732/8
  • Core/Insulation Crimp: A/5
  • Release Tool/Test Probe: 15315247/J-35616-5 (PU)

C355 (Sedan) Body Harness to Left Rear Door Harness

Pin

Wire Color

Circuit No.

Function

Pin

Wire Color

Circuit No.

Function

A

BK

550

Ground

A

BK

550

Ground

B

TN

294

Door Lock Actuator Unlock Control

B

TN

294

Door Lock Actuator Unlock Control

C

D-BU

1307

Power Window Master Switch Lockout Signal

C

D-BU

1307

Power Window Master Switch Lockout Signal

D

OG

5922

Passenger Door Open Switch Signal

D

OG

5922

Passenger Door Open Switch Signal

E

GY

295

Door Lock Actuator Lock Control

E

GY

295

Door Lock Actuator Lock Control

F

L-BU/BK

747

Left Rear Door Ajar Switch Signal

F

L-BU/BK

747

Left Rear Door Ajar Switch Signal

G

D-GN

168

Power Window Master Switch Left Rear Up Signal

G

D-GN

168

Power Window Master Switch Left Rear Up Signal

H

PU

169

Power Window Master Switch Left Rear Down Signal

H

PU

169

Power Window Master Switch Left Rear Down Signal

J

--

--

Not Used

J

--

--

Not Used

C356 (Sedan) Body Harness to Right Rear Door Harness


Object Number: 1243551  Size: CH

Object Number: 1243552  Size: CH

Connector Part Information

  • OEM: 15441216
  • Service: 89046932
  • Description: 9-Way F GT 150, 280 Series, Sealed (BK)

Connector Part Information

  • OEM: 15486551
  • Service: 88953404
  • Description: 9-Way M GT 150, 280 Series, Sealed (GY)

Terminal Part Information

  • Pins: A, B, D, E, F
  • Terminal/Tray: 12191819/8
  • Core/Insulation Crimp: Pins: A, B, E - 2/A
  • Core/Insulation Crimp: Pins: D, F - E/A
  • Release Tool/Test Probe: 15315247/J-35616-2A (GY)
  • Pins: C, G, H
  • Terminal/Tray: 15304720/19
  • Core/Insulation Crimp: 4/5
  • Release Tool/Test Probe: 15315247/J-35616-4A (PU)

Terminal Part Information

  • Pins: A, B, D, E, F
  • Terminal/Tray: 15326269/19
  • Core/Insulation Crimp: Pins: A, D, F - E/4
  • Core/Insulation Crimp: Pins: B, E - E/1
  • Release Tool/Test Probe: 15315247/J-35616-3 (GY)
  • Pins: C, G, H
  • Terminal/Tray: 15304732/8
  • Core/Insulation Crimp: A/5
  • Release Tool/Test Probe: 15315247/J-35616-5 (PU)

C356 (Sedan) Body Harness to Right Rear Door Harness

Pin

Wire Color

Circuit No.

Function

Pin

Wire Color

Circuit No.

Function

A

BK

750

Ground

A

BK

750

Ground

B

TN

294

Door Lock Actuator Unlock Control

B

TN

294

Door Lock Actuator Unlock Control

C

D-BU

1307

Power Window Master Switch Lockout Signal

C

D-BU

1307

Power Window Master Switch Lockout Signal

D

OG

5922

Passenger Door Open Switch Signal

D

OG

5922

Passenger Door Open Switch Signal

E

GY

295

Door Lock Actuator Lock Control

E

GY

295

Door Lock Actuator Lock Control

F

L-GN/BK

748

Right Rear Door Ajar Switch Signal

F

L-GN/BK

748

Right Rear Door Ajar Switch Signal

G

L-GN

170

Power Window Master Switch Right Rear Up Signal

G

L-GN

170

Power Window Master Switch Right Rear Up Signal

H

PU

171

Power Window Master Switch Right Rear Down Signal

H

PU

171

Power Window Master Switch Right Rear Down Signal

J

--

--

Not Used

J

--

--

Not Used

C360 (9C1, 9C3) Body Harness to I/P Harness


Object Number: 365960  Size: CH

Object Number: 1644503  Size: CH

Connector Part Information

  • OEM: 12160893
  • Service: 15306159
  • Description: 1-Way F MAXI (BK)

Connector Part Information

  • OEM: 12160894
  • Service: See Catalog
  • Description: 1-Way M Metri-Pack 800 Series (BK)

Terminal Part Information

  • Terminal/Tray: 12092445/18
  • Core/Insulation Crimp: G/G
  • Release Tool/Test Probe: 12150860/J-35616-44 (YE)

Terminal Part Information

  • Terminal/Tray: 12146940/See Terminal Repair Kit
  • Core/Insulation Crimp: See Terminal Repair Kit
  • Release Tool/Test Probe: See Terminal Repair Kit

C360 (9C1, 9C3) Body Harness to I/P Harness

Pin

Wire Color

Circuit No.

Function

Pin

Wire Color

Circuit No.

Function

A

RD/BK

702

Battery Positive Voltage

A

RD/BK

702

Battery Positive Voltage

C362 (9C1, 9C3) Body Harness to I/P Harness


Object Number: 365960  Size: CH

Object Number: 1644503  Size: CH

Connector Part Information

  • OEM: 12160893
  • Service: 15306159
  • Description: 1-Way F MAXI (BK)

Connector Part Information

  • OEM: 12160894
  • Service: See Catalog
  • Description: 1-Way M Metri-Pack 800 (BK)

Terminal Part Information

  • Terminal/Tray: 12092445/18
  • Core/Insulation Crimp: G/G
  • Release Tool/Test Probe: 12150860/J-35616-44 (YE)

Terminal Part Information

  • Terminal/Tray: 12146940/See Terminal Repair Kit
  • Core/Insulation Crimp: See Terminal Repair Kit
  • Release Tool/Test Probe: See Terminal Repair Kit

C362 (9C1, 9C3) Body Harness to I/P Harness

Pin

Wire Color

Circuit No.

Function

Pin

Wire Color

Circuit No.

Function

A

RD/BK

302

Battery Positive Voltage

A

RD/BK

302

Battery Positive Voltage

C398 (CF5) Roof Harness to Sunroof Harness


Object Number: 646380  Size: CH

Object Number: 814091  Size: CH

Connector Part Information

  • OEM: 15326900
  • Service: 15306380
  • Description: 6-Way F GT 280 Series (BK)

Connector Part Information

  • OEM: 15326904
  • Service: 88988314
  • Description: 6-Way M GT 280 Series (BK)

Terminal Part Information

  • Terminal/Tray: 15304711/8
  • Core/Insulation Crimp: E/A
  • Release Tool/Test Probe: 15315247/J-35616-4A (PU)

Terminal Part Information

  • Terminal/Tray: 15304722/8
  • Core/Insulation Crimp: E/C
  • Release Tool/Test Probe: 15315247/J-35616-5 (PU)

C398 (CF5) Roof Harness to Sunroof Harness

Pin

Wire Color

Circuit No.

Function

Pin

Wire Color

Circuit No.

Function

A

YE

643

Accessory Voltage

A

YE

643

Accessory Voltage

B

BK

550

Ground

B

BK

550

Ground

C

BN

100

Sunroof Switch Open Signal

C

BN

100

Sunroof Switch Open Signal

D

OG

110

Sunroof Switch Close Signal

D

OG

110

Sunroof Switch Close Signal

E

D-BU

128

Sunroof Switch Low Reference

E

D-BU

128

Sunroof Switch Low Reference

F

RD/WH

3440

Battery Positive Voltage

F

RD/WH

3440

Battery Positive Voltage

C401 (Coupe) Rear Body Harness to Left Tail Lamp Harness


Object Number: 697053  Size: CH

Object Number: 655689  Size: CH

Connector Part Information

  • OEM: 12129565
  • Service: 15306069
  • Description: 4-Way F Metri-Pack 280 Series, Sealed (GY)

Connector Part Information

  • OEM: 12129600
  • Service: See Catalog
  • Description: 4-Way M Metri-Pack 280 Series, Sealed (GY)

Terminal Part Information

  • Terminal/Tray: 12077411/2
  • Core/Insulation Crimp: 2/5
  • Release Tool/Test Probe: 12094430/J-35616-4A (PU)

Terminal Part Information

  • Terminal/Tray: See Terminal Repair Kit
  • Core/Insulation Crimp: See Terminal Repair Kit
  • Release Tool/Test Probe: See Terminal Repair Kit

C401 (Coupe) Rear Body Harness to Left Tail Lamp Harness

Pin

Wire Color

Circuit No.

Function

Pin

Wire Color

Circuit No.

Function

A

PU

709

Left Park Lamp Supply Voltage

A

BN/WH

709

Left Park Lamp Supply Voltage

B

BK

850

Ground

B

BK

750

Ground

C

YE

18

Left Rear Stop/Turn Lamp Supply Voltage

C

WH

18

Left Rear Stop/Turn Lamp Supply Voltage

D

--

--

Not Used

D

--

--

Not Used

C401 (Sedan) Rear Body Harness to Left Tail Lamp Harness


Object Number: 684854  Size: CH

Object Number: 396241  Size: CH

Connector Part Information

  • OEM: 12162144
  • Service: 12102741
  • Description: 4-Way F Metri-Pack 150 Series, Sealed (BK)

Connector Part Information

  • OEM: 12162102
  • Service: See Catalog
  • Description: 4-Way M Metri-Pack 150 Series, Sealed (BK)

Terminal Part Information

  • Terminal/Tray: 12048074/2
  • Core/Insulation Crimp: E/1
  • Release Tool/Test Probe: 12094429/J-35616-2A (GY)

Terminal Part Information

  • Terminal/Tray: 12045773/2
  • Core/Insulation Crimp: E/1
  • Release Tool/Test Probe: 12094429/J-35616-3 (GY)

C401 (Sedan) Rear Body Harness to Left Tail Lamp Harness

Pin

Wire Color

Circuit No.

Function

Pin

Wire Color

Circuit No.

Function

A

PU

709

Left Park Lamp Supply Voltage

A

L-GN

709

Left Park Lamp Supply Voltage

B

BK

850

Ground

B

BK

750

Ground

C

YE

18

Left Rear Stop/Turn Lamp Supply Voltage

C

YE

18

Left Rear Stop/Turn Lamp Supply Voltage

D

L-GN

24

Backup Lamp Supply Voltage

D

BN

24

Backup Lamp Supply Voltage

C402 (Coupe) Rear Body Harness to Right Tail Lamp Harness


Object Number: 697053  Size: CH

Object Number: 655689  Size: CH

Connector Part Information

  • OEM: 12129565
  • Service: 15306069
  • Description: 4-Way F Metri-Pack 280 Series, Sealed (GY)

Connector Part Information

  • OEM: 12129600
  • Service: See Catalog
  • Description: 4-Way M Metri-Pack 280 Series, Sealed (GY)

Terminal Part Information

  • Terminal/Tray: 12077411/2
  • Core/Insulation Crimp: 2/5
  • Release Tool/Test Probe: 12094430/J-35616-4A (PU)

Terminal Part Information

  • Terminal/Tray: See Terminal Repair Kit
  • Core/Insulation Crimp: See Terminal Repair Kit
  • Release Tool/Test Probe: See Terminal Repair Kit

C402 (Coupe) Rear Body Harness to Right Tail Lamp Harness

Pin

Wire Color

Circuit No.

Function

Pin

Wire Color

Circuit No.

Function

A

BN/WH

309

Right Park Lamp Supply Voltage

A

BN/WH

309

Right Park Lamp Supply Voltage

B

BK

850

Ground

B

BK

750

Ground

C

D-GN

19

Right Rear Stop/Turn Lamp Supply Voltage

C

WH

19

Right Rear Stop/Turn Lamp Supply Voltage

D

--

--

Not Used

D

--

--

Not Used

C402 (Sedan) Rear Body Harness to Right Tail Lamp Harness


Object Number: 684854  Size: CH

Object Number: 396241  Size: CH

Connector Part Information

  • OEM: 12162144
  • Service: 12102741
  • Description: 4-Way F Metri-Pack 150 Series, Sealed (BK)

Connector Part Information

  • OEM: 12162102
  • Service: See Catalog
  • Description: 4-Way M Metri-Pack 150 Series, Sealed (BK)

Terminal Part Information

  • Terminal/Tray: 12048074/2
  • Core/Insulation Crimp: E/1
  • Release Tool/Test Probe: 12094429/J-35616-2A (GY)

Terminal Part Information

  • Terminal/Tray: 12045773/2
  • Core/Insulation Crimp: E/1
  • Release Tool/Test Probe: 12094429/J-35616-3 (GY)

C402 (Sedan) Rear Body Harness to Right Tail Lamp Harness

Pin

Wire Color

Circuit No.

Function

Pin

Wire Color

Circuit No.

Function

A

BN/WH

309

Right Park Lamp Supply Voltage

A

L-GN

309

Right Park Lamp Supply Voltage

B

BK

850

Ground

B

BK

750

Ground

C

D-GN

19

Right Rear Stop/Turn Lamp Supply Voltage

C

YE

19

Right Rear Stop/Turn Lamp Supply Voltage

D

L-GN

24

Backup Lamp Supply Voltage

D

BN

24

Backup Lamp Supply Voltage

C405 Rear Chassis Harness to Body Harness


Object Number: 1219453  Size: CH

Object Number: 623045  Size: CH

Connector Part Information

  • OEM: 12146439
  • Service: See Catalog
  • Description: 4-Way F Metri-Pack 150 Series (GY)

Connector Part Information

  • OEM: 15326714
  • Service: See Catalog
  • Description: 12-Way M Metri-Pack Mixed Series (GY)

Terminal Part Information

  • Terminal/Tray: 12048074/2
  • Core/Insulation Crimp: E/1
  • Release Tool/Test Probe: 12094429/J-35616-2A (GY)

Connector Part Information

  • OEM: 12176335
  • Service: 15305944
  • Description: 8-Way F Metri-Pack 280 Flex Lock Series (WH)

Terminal Part Information

  • Pins: A, C
  • Terminal/Tray: 12110845/4
  • Core/Insulation Crimp: A/5
  • Release Tool/Test Probe: 15315247/J-35616-4A (PU)
  • Pins: B, D, F, G, H
  • Terminal/Tray: 12110844/4
  • Core/Insulation Crimp: Pins B, F, G, H - E/C
  • Core/Insulation Crimp: Pins D - E/A
  • Release Tool/Test Probe: 15315247/J-35616-4A (PU)

Terminal Part Information

  • Pins: A1, B1, C1, D1
  • Terminal/Tray: 12047581/2
  • Core/Insulation Crimp: E/C
  • Release Tool/Test Probe: 12094429/J-35616-3 (GY)
  • Pins: A3, C3
  • Terminal/Tray: 12084586/4
  • Core/Insulation Crimp: F/G
  • Release Tool/Test Probe: 12094430/J-35616-5 (PU)
  • Pins: B3, D3, F3, G3
  • Terminal/Tray: 12034047/2
  • Core/Insulation Crimp: E/A
  • Release Tool/Test Probe: 12094430/J-35616-5 (PU)
  • Pins: H3
  • Terminal/Tray: 12020116/2
  • Core/Insulation Crimp: C/A
  • Release Tool/Test Probe: 12094430/J-35616-5 (PU)

C405 Rear Chassis Harness to Body Harness

Pin

Wire Color

Circuit No.

Function

Pin

Wire Color

Circuit No.

Function

A

BN

882

Right Rear Wheel Speed Sensor Signal

1A

BN

882

Right Rear Wheel Speed Sensor Signal

B

WH

883

Right Rear Wheel Speed Sensor Low Reference

1B

WH

883

Right Rear Wheel Speed Sensor Low Reference

C

BK

884

Left Rear Wheel Speed Sensor Signal

1C

TN

884

Left Rear Wheel Speed Sensor Signal

D

RD

885

Left Rear Wheel Speed Sensor Low Reference

1D

OG

885

Left Rear Wheel Speed Sensor Low Reference

A

BK

750

Ground

3A

BK

750

Ground

B

BN/WH

510

Low Reference

3B

OG/WH

510

Low Reference

C

GY

120

Fuel Pump Supply Voltage

3C

GY

120

Fuel Pump Supply Voltage

D

PU

30

Fuel Level Sensor Signal

3D

PU

30

Fuel Level Sensor Signal

E

--

--

Not Used

3E

--

--

Not Used

F

GY/BK

416

5-Volt Reference 1

3F

GY

2709

5-Volt Reference 1

G

D-GN

890

Fuel Tank Pressure Sensor Signal

3G

D-GN

890

Fuel Tank Pressure Sensor Signal

H

TN

2759

Low Reference

3H

TN

2759

Low Reference

OG/BK

510

Low Reference

C406 Body Harness to Rear Body Harness


Object Number: 646400  Size: CH

Object Number: 684916  Size: CH

Connector Part Information

  • OEM: 15326835
  • Service: 88986452
  • Description: 8-Way F GT 150 Series, Sealed (BK)

Connector Part Information

  • OEM: 15476174
  • Service: See Catalog
  • Description: 8-Way M GT 150 Series, Sealed (BK)

Terminal Part Information

  • Terminal/Tray: 12191819/8
  • Core/Insulation Crimp: 2/A
  • Release Tool/Test Probe: 15315247/J-35616-2A (GY)

Terminal Part Information

  • Terminal/Tray: 15326269/19
  • Core/Insulation Crimp: E/1
  • Release Tool/Test Probe: 15315247/J-35616-3 (GY)

C406 Body Harness to Rear Body Harness

Pin

Wire Color

Circuit No.

Function

Pin

Wire Color

Circuit No.

Function

A

BK

750

Ground

A

BK

850

Ground

B

YE

18

Left Rear Stop/Turn Lamp Supply Voltage

B

YE

18

Left Rear Stop/Turn Lamp Supply Voltage

C

D-GN

19

Right Rear Stop/Turn Lamp Supply Voltage

C

D-GN

19

Right Rear Stop/Turn Lamp Supply Voltage

D

PU

709

Left Park Lamp Supply Voltage

D

PU

709

Left Park Lamp Supply Voltage

E

L-GN

24

Backup Lamp Supply Voltage

E

L-GN

24

Backup Lamp Supply Voltage

F

BN/WH

309

Right Park Lamp Supply Voltage

F

BN/WH

309

Right Park Lamp Supply Voltage

G

L-GN

24

Backup Lamp Supply Voltage

G

L-GN

24

Backup Lamp Supply Voltage

H

--

--

Not Used

H

--

--

Not Used

C409 (9C1, 9C3) Emergency Vehicle Rear Compartment Lid Lamps Harness to Body Harness


Object Number: 280768  Size: CH

Object Number: 766913  Size: CH

Connector Part Information

  • OEM: 12052832
  • Service: 12101825
  • Description: 2-Way F Metri-Pack 150 Series (BK)

Connector Part Information

  • OEM: 12065651
  • Service: 12117275
  • Description: 2-Way M Metri-Pack 150 Series (BK)

Terminal Part Information

  • Terminal/Tray: 12047883/ See Terminal Repair Kit
  • Core/Insulation Crimp: See Terminal Repair Kit
  • Release Tool/Test Probe: See Terminal Repair Kit

Terminal Part Information

  • Terminal/Tray: 12047581/2
  • Core/Insulation Crimp: Pin: A E/C
  • Core/Insulation Crimp: Pin: B E/A
  • Release Tool/Test Probe: 12094429/J-35616-3 (GY)

C409 (9C1, 9C3) Emergency Vehicle Rear Compartment Lid Lamps Harness to Body Harness

Pin

Wire Color

Circuit No.

Function

Pin

Wire Color

Circuit No.

Function

A

L-BU

6822

Rear Compartment Lid Ajar Switch Signal

A

OG/BK

744

Rear Compartment Lid Ajar Switch Signal (T53)

B

RD/WH

1440

Battery Positive Voltage

B

RD/WH

1440

Battery Positive Voltage (T53)

C412 Roof Rail Module - Left Jumper Harness to Body Harness (AY1)


Object Number: 1710026  Size: CH

Object Number: 646194  Size: CH

Connector Part Information

  • OEM: 12077919
  • Service: See Catalog
  • Description: 2-Way F Metri-Pack 280 Series (YE)

Connector Part Information

  • OEM: 12186799
  • Service: 15306012
  • Description: 2-Way M Metri-Pack 280 Series (YE)

Terminal Part Information

  • Terminal/Tray: 12034046/2
  • Core/Insulation Crimp: E/A
  • Release Tool/Test Probe: 12094430/J-35616-4A (PU)

Terminal Part Information

  • Terminal/Tray: 12066337/18
  • Core/Insulation Crimp: E/A
  • Release Tool/Test Probe: 12094429/J-35616-5 (PU)

C412 Roof Rail Module - Left Jumper Harness to Body Harness (AY1)

Pin

Wire Color

Circuit No.

Function

Pin

Wire Color

Circuit No.

Function

A

PK/BK

2137

Side Impact Module - Left - High Control

A

BN

2137

Side Impact Module - Left - High Control

B

L-BU/RD

2138

Side Impact Module - Left - Low Control

B

YE/BK

2138

Side Impact Module - Left - Low Control

C414 Roof Rail Module - Right Jumper Harness to Body Harness (AY1)


Object Number: 1710026  Size: CH

Object Number: 646194  Size: CH

Connector Part Information

  • OEM: 12077919
  • Service: See Catalog
  • Description: 2-Way F Metri-Pack 280 Series (YE)

Connector Part Information

  • OEM: 12186799
  • Service: 15306012
  • Description: 2-Way M Metri-Pack 280 Series (YE)

Terminal Part Information

  • Terminal/Tray: 12034046/2
  • Core/Insulation Crimp: E/A
  • Release Tool/Test Probe: 12094430/J-35616-4A (PU)

Terminal Part Information

  • Terminal/Tray: 12066337/18
  • Core/Insulation Crimp: E/A
  • Release Tool/Test Probe: 12094429/J-35616-5 (PU)

C414 Roof Rail Module - Right Jumper Harness to Body Harness (AY1)

Pin

Wire Color

Circuit No.

Function

Pin

Wire Color

Circuit No.

Function

A

PK/BK

2135

Side Impact Module - Right - High Control

A

TN/WH

2135

Side Impact Module - Right - High Control

B

L-BU/RD

2136

Side Impact Module - Right - Low Control

B

L-GN

2136

Side Impact Module - Right - Low Control

C430 (Coupe) Rear Compartment Harness to Body Harness


Object Number: 39660  Size: CH

Object Number: 39661  Size: CH

Connector Part Information

  • OEM: 12047785
  • Service: 12102900
  • Description: 4-Way F Metri-Pack 150 Series (BK)

Connector Part Information

  • OEM: 15419810
  • Service: 12085536
  • Description: 4-Way M Metri-Pack 150 Series (BK)

Terminal Part Information

  • Terminal/Tray: 12047767/2
  • Core/Insulation Crimp: E/A
  • Release Tool/Test Probe: 12094429/J-35616-2A (GY)

Terminal Part Information

  • Terminal/Tray: 12047581/2
  • Core/Insulation Crimp: Pins A - E/A
  • Core/Insulation Crimp: Pins B, C, D - E/C
  • Release Tool/Test Probe: 12094429/J-35616-3 (GY)

C430 (Coupe) Rear Compartment Harness to Body Harness

Pin

Wire Color

Circuit No.

Function

Pin

Wire Color

Circuit No.

Function

A

BK

850

Ground

A

BK

750

Ground

B

L-BU

1320

CHMSL Supply Voltage

B

L-BU

1320

CHMSL Supply Voltage

C

TN/WH

56

Trunk Release Motor Control

C

TN/WH

56

Trunk Release Motor Control

D

OG/BK

744

Rear Compartment Lid Ajar Switch Signal

D

OG/BK

744

Rear Compartment Lid Ajar Switch Signal

C490 Roof Harness to Body Harness


Object Number: 646392  Size: CH

Object Number: 808884  Size: CH

Connector Part Information

  • OEM: 15304690
  • Service: See Catalog
  • Description: 18-Way F GT 150, 280 Series (GY)

Connector Part Information

  • OEM: 15336467
  • Service: See Catalog
  • Description: 18-Way M GT 150, 280 Series (GY)

Terminal Part Information

  • Pins: A4, A5, A6, B5
  • Terminal/Tray: 15304711/8
  • Core/Insulation Crimp: Pins: A4, A6, B5 - E/A
  • Core/Insulation Crimp: Pins: A5 - 2/A
  • Release Tool/Test Probe: 15315247/J-35616-4A (PU)
  • Pins: A7, A8, A9, B2, B7, B8, B9
  • Terminal/Tray: 12191812/19
  • Core/Insulation Crimp: E/C
  • Release Tool/Test Probe: 15315247/J-35616-2A (GY)
  • Pins: B4, B6
  • Terminal/Tray: 15304713/19
  • Core/Insulation Crimp: 4/4
  • Release Tool/Test Probe: 15315247/J-35616-4A (PU)

Terminal Part Information

  • Pins: (A4 (w/o UG1)), A6,
  • Terminal/Tray: 15304722/8
  • Core/Insulation Crimp: E/C
  • Release Tool/Test Probe: 15315247/J-35616-5 (PU)
  • Pins: (A4 (w/UG1)), A5, B4, B5, B6,
  • Terminal/Tray: 15304724/8
  • Core/Insulation Crimp: Pins: A4, A5, B5 - 2/A
  • Core/Insulation Crimp: Pins: B4, B6 - C/D
  • Release Tool/Test Probe: 15315247/J-35616-5 (PU)
  • Pins: A7, A8, A9, B2, B7, B8, B9
  • Terminal/Tray: 15304702/19
  • Core/Insulation Crimp: Pins: A7, A8, A9, B7, B8, B9 - E/C
  • Core/Insulation Crimp: Pins: B2, - E/4
  • Release Tool/Test Probe: 15315247/J-35616-3 (GY)

C490 Roof Harness to Body Harness

Pin

Wire Color

Circuit No.

Function

Pin

Wire Color

Circuit No.

Function

A1

PU

5234

Passenger Seat Belt Indicator Control (Coupe)

A1

PU

5234

Passenger Seat Belt Indicator Control (Coupe)

A2

D-BU

2307

Passenger Air Bag On Indicator Control (Coupe)

A2

D-BU

2307

Passenger Air Bag On Indicator Control (Coupe)

A3

D-GN

2308

Passenger Air Bag Off Indicator Control (Coupe)

A3

D-GN

2308

Passenger Air Bag Off Indicator Control (Coupe)

A4

RD/WH

2340

Battery Positive Voltage (UG1)

A4

RD/WH

2340

Battery Positive Voltage (UG1)

RD/WH

2340

Battery Positive Voltage (UE1)

A5

OG

1732

Inadvertent Power Courtesy Lamp

A5

OG

1732

Inadvertent Power Courtesy Lamp

A6

YE

643

Accessory Voltage (DD6, CF5)

A6

YE

643

Accessory Voltage (DD6, CF5)

A7

BARE

1489

Drain Wire (UE1)

A7

BARE

1489

Drain Wire (UE1)

A8

BN/WH

2517

Keypad Red LED Signal (UE1)

A8

BN/WH

2517

Keypad Red LED Signal (UE1)

A9

YE/BK

2516

Keypad Green LED Signal (UE1)

A9

YE/BK

2516

Keypad Green LED Signal (UE1)

B1

PK

1139

Ignition 1 Voltage (Coupe)

B1

PK

1139

Ignition 1 Voltage (Coupe)

B2

L-GN

24

Backup Lamp Supply Voltage (DD6)

B2

L-GN

24

Backup Lamp Supply Voltage (DD6)

B3

--

--

Not Used

B3

--

--

Not Used

B4

BK

550

Ground

B4

BK

550

Ground

B5

GY/BK

690

Courtesy Lamp Supply Voltage

B5

GY/BK

690

Courtesy Lamp Supply Voltage

B6

RD/WH

3440

Battery Positive Voltage (CF5)

B6

RD/WH

3440

Battery Positive Voltage (CF5)

B7

GY

655

Cellular Microphone Signal (UE1)

B7

GY

655

Cellular Microphone Signal (UE1)

B8

D-GN/WH

2514

Keypad Signal (UE1)

B8

D-GN/WH

2514

Keypad Signal (UE1)

B9

L-GN/BK

2515

Keypad Supply Voltage (UE1)

B9

L-GN/BK

2515

Keypad Supply Voltage (UE1)

C503 (Sedan) Left Front Door Harness to Left Front Door Trim Harness


Object Number: 1243531  Size: CH

Object Number: 1243534  Size: CH

Connector Part Information

  • OEM: 15401211
  • Service: 88953323
  • Description: 40-Way F GT 150, 280 Series (GY)

Connector Part Information

  • OEM: 15463191
  • Service: 88988433
  • Description: 40-Way M GT 150, 280 Series (GY)

Terminal Part Information

  • Pins: A2, A3, A4, A5, A6, A7, D2, D4, D5, D6, D7
  • Terminal/Tray: 15304713/19
  • Core/Insulation Crimp: 4/4
  • Release Tool/Test Probe: 15315247/J-35616-4A (PU)
  • Pins: B1, B2, B5, B8, B9, B10, C1, C2, C3, C5
  • Terminal/Tray: 12191812/19
  • Core/Insulation Crimp: E/C
  • Release Tool/Test Probe: 15315247/J-35616-2A (GY)

Terminal Part Information

  • Pins: A2, A3, A4, A5, A6, A7, D2, D4, D5, D6, D7
  • Terminal/Tray: 15304724/8
  • Core/Insulation Crimp: C/D
  • Release Tool/Test Probe: 15315247/J-35616-5 (PU)
  • Pins: B1, B2, B5, B8, B9, B10, C1, C2, C3, C5,
  • Terminal/Tray: 15304702/19
  • Core/Insulation Crimp: Pins: B1, B2, C1 - E/4
  • Core/Insulation Crimp: Pins: B5, B8, B9, B10, C1, C2, C3, C5 - E/C
  • Release Tool/Test Probe: 15315247/J-35616-3 (GY)

C503 (Sedan) Left Front Door Harness to Left Front Door Trim Harness

Pin

Wire Color

Circuit No.

Function

Pin

Wire Color

Circuit No.

Function

A1

--

--

Not Used

A1

--

--

Not Used

A2

YE

143

Accessory Voltage

A2

YE

143

Accessory Voltage

A3

D-BU

1307

Power Window Master Switch Lockout Signal

A3

D-BU

1307

Power Window Master Switch Lockout Signal

A4

L-BU

166

Power Window Master Switch Right Front Up Signal

A4

L-BU

166

Power Window Master Switch Right Front Up Signal

A5

TN

167

Power Window Master Switch Right Front Down Signal

A5

TN

167

Power Window Master Switch Right Front Down Signal

A6

L-GN

170

Power Window Master Switch Right Rear Up Signal

A6

L-GN

170

Power Window Master Switch Right Rear Up Signal

A7

PU

171

Power Window Master Switch Right Rear Down Signal

A7

PU

171

Power Window Master Switch Right Rear Down Signal

A8

--

--

Not Used

A8

--

--

Not Used

B1

TN/WH

330

Right Mirror Motor Supply Voltage

B1

WH

330

Right Mirror Motor Supply Voltage

B2

OG/WH

881

Passenger Mirror Motor Right Control

B2

OG/WH

881

Passenger Mirror Motor Right Control

B3-B4

--

--

Not Used

B3-B4

--

--

Not Used

B5

OG/BK

781

Driver Door Lock Switch Unlock Signal

B5

OG

781

Driver Door Lock Switch Unlock Signal

B6-B7

--

--

Not Used

B6-B7

--

--

Not Used

B8

L-GN

89

Driver Mirror Motor Down Control

B8

L-GN

89

Driver Mirror Motor Down Control

B9

TN

329

Left Mirror Motor Supply Voltage

B9

YE

329

Left Mirror Motor Supply Voltage

B10

WH

81

Driver Mirror Motor Right Control

B10

WH

81

Driver Mirror Motor Right Control

B11-B12

--

--

Not Used

B11-B12

--

--

Not Used

C1

PU/WH

889

Passenger Mirror Motor Down Control

C1

PU/WH

889

Passenger Mirror Motor Down Control

C2

RD/WH

840

Battery Positive Voltage

C2

RD/WH

840

Battery Positive Voltage

C3

GY

8

Instrument Panel Lamp Supply Voltage

C3

GY

8

Instrument Panel Lamp Supply Voltage

C4

--

--

Not Used

C4

--

--

Not Used

C5

PK/BK

780

Driver Door Lock Switch Lock Signal

C5

OG/BK

780

Driver Door Lock Switch Lock Signal

C6-C12

--

--

Not Used

C6-C12

--

--

Not Used

D1

--

--

Not Used

D1

--

--

Not Used

D2

BK

550

Ground

D2

BK

550

Ground

D3

--

--

Not Used

D3

--

--

Not Used

D4

D-GN

168

Power Window Master Switch Left Rear Up Signal

D4

D-GN

168

Power Window Master Switch Left Rear Up Signal

D5

PU

169

Power Window Master Switch Left Rear Down Signal

D5

PU

169

Power Window Master Switch Left Rear Down Signal

D6

BN

165

Power Window Motor Left Front Down Control

D6

BN

165

Power Window Motor Left Front Down Control

D7

D-BU

164

Power Window Motor Left Front Up Control

D7

D-BU

164

Power Window Motor Left Front Up Control

D8

--

--

Not Used

D8

--

--

Not Used

C604 (Sedan) Right Front Door Harness to Right Front Door Trim Harness


Object Number: 623046  Size: CH

Object Number: 800517  Size: CH

Connector Part Information

  • OEM: 15326931
  • Service: 15306309
  • Description: 10-Way F GT 280 Series (BK)

Connector Part Information

  • OEM: 15326935
  • Service: 15306305
  • Description: 10-Way M GT 280 Series (BK)

Terminal Part Information

  • Terminal/Tray: 15304713/19
  • Core/Insulation Crimp: F/D
  • Release Tool/Test Probe: 15315247/J-35616-4A (PU)

Terminal Part Information

  • Terminal/Tray: 15304724/8
  • Core/Insulation Crimp: A/D
  • Release Tool/Test Probe: 15315247/J-35616-5 (PU)

C604 (Sedan) Right Front Door Harness to Right Front Door Trim Harness

Pin

Wire Color

Circuit No.

Function

Pin

Wire Color

Circuit No.

Function

A

YE

143

Accessory Voltage

A

YE

143

Accessory Voltage

B

L-BU

166

Power Window Master Switch Right Front Up Signal

B

L-BU

166

Power Window Master Switch Right Front Up Signal

C

TN

167

Power Window Master Switch Right Front Down Signal

C

TN

167

Power Window Master Switch Right Front Down Signal

D

D-BU

666

Power Window Motor Right Front Up Control

D

D-BU

666

Power Window Motor Right Front Up Control

E

BN

667

Power Window Motor Right Front Down Control

E

BN

667

Power Window Motor Right Front Down Control

F

D-BU

245

Passenger Door Lock Switch Unlock Signal

F

D-BU

245

Passenger Door Lock Switch Unlock Signal

G

L-BU

244

Passenger Door Lock Switch Lock Signal

G

L-BU

244

Passenger Door Lock Switch Lock Signal

H

GY

8

Instrument Panel Lamp Supply Voltage

H

GY

8

Instrument Panel Lamp Supply Voltage

J

BK

750

Ground

J

BK

750

Ground

BK

750

Ground

K

--

--

Not Used

K

--

--

Not Used