GM Service Manual Online
For 1990-2009 cars only

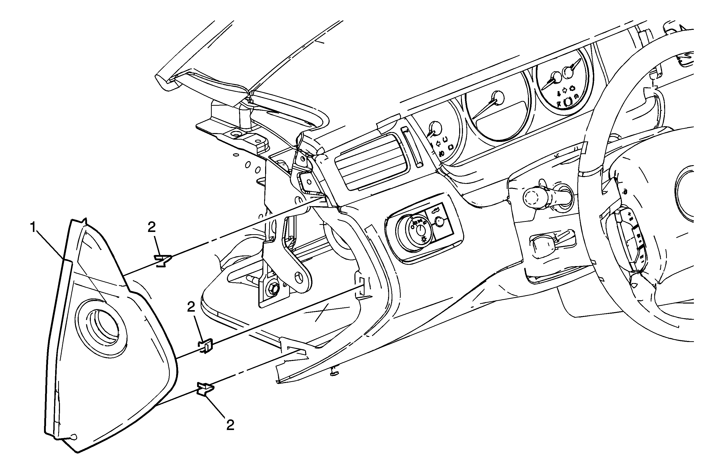
Object Number: 1594249  Size: MF

Callout

Component Name

Fastener Tightening Specifications: Refer to Fastener Tightening Specifications .

1

Trim Cover, Instrument Panel Outer

Tip
Impala shown Monte Carlo similar.

2

Clip, Retainer (Qty 3)