GM Service Manual Online
For 1990-2009 cars only

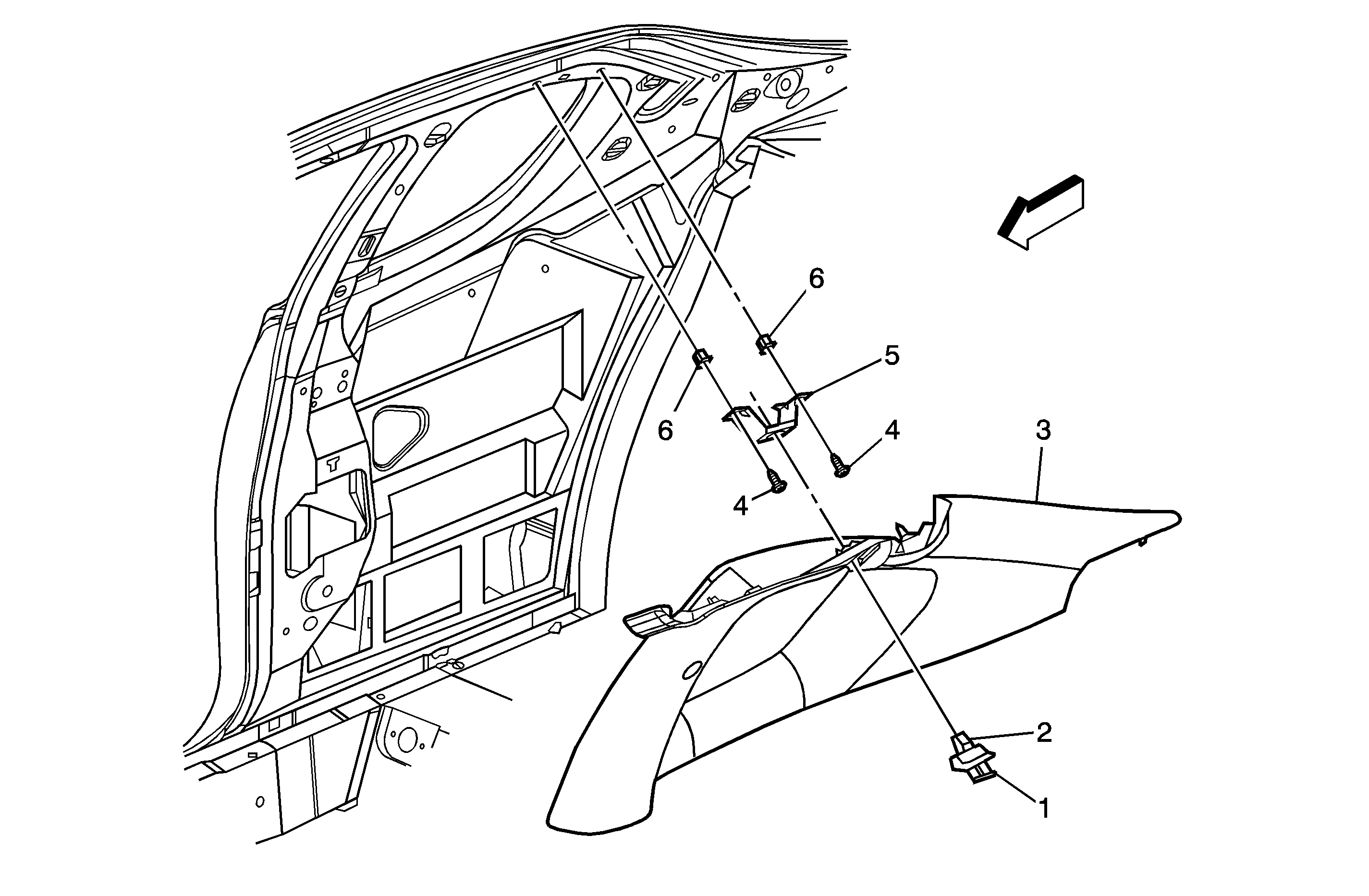
Coat Hook Replacement Monte Carlo


Object Number: 1620016  Size: MF

Callout

Component Name

Notice: Refer to Fastener Notice in the Preface section.

Fastener Tightening Specifications: Refer to Fastener Tightening Specifications .

1

Coat Hook

2

Coat Hook Retainer Clip

3

Quarter Upper Trim Finish Panel Assembly

Tip
Pull out to disengage the retainers and tilt inward and up to allow the tabs on the trim panel to release from the vehicle.

4

Coat Hook Anchor Plate Screw (Qty: 2)

Tighten
2 N·m (18 lb in)

5

Coat Hook Anchor Plate

6

Retainer Clip Screw (Qty: 2)