GM Service Manual Online
For 1990-2009 cars only

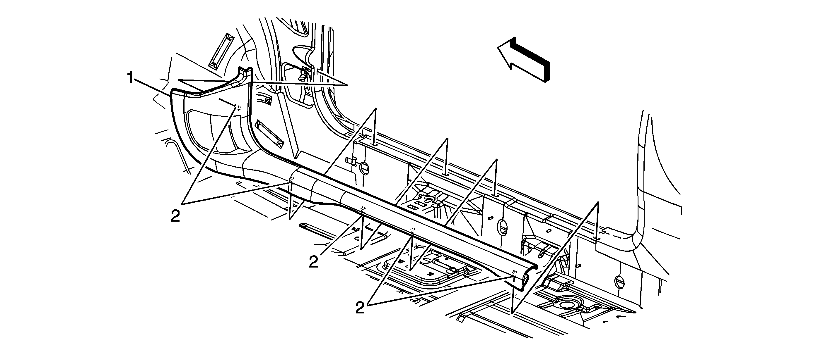
Front Side Door Opening Floor Carpet Retainer Replacement Impala


Object Number: 1602979  Size: LF

Callout

Component Name

1

Front Side Door Carpet Retainer Assembly

2

Front Side Door Carpet Retainer Assembly Clip

Front Side Door Opening Floor Carpet Retainer Replacement Monte Carlo


Object Number: 1625699  Size: SF

Callout

Component Name

Fastener Tightening Specifications: Refer to Fastener Tightening Specifications.

1

Front Side Door Carpet Retainer Assembly

2

Front Side Door Carpet Retainer Clip (Qty: 5)