GM Service Manual Online
For 1990-2009 cars only

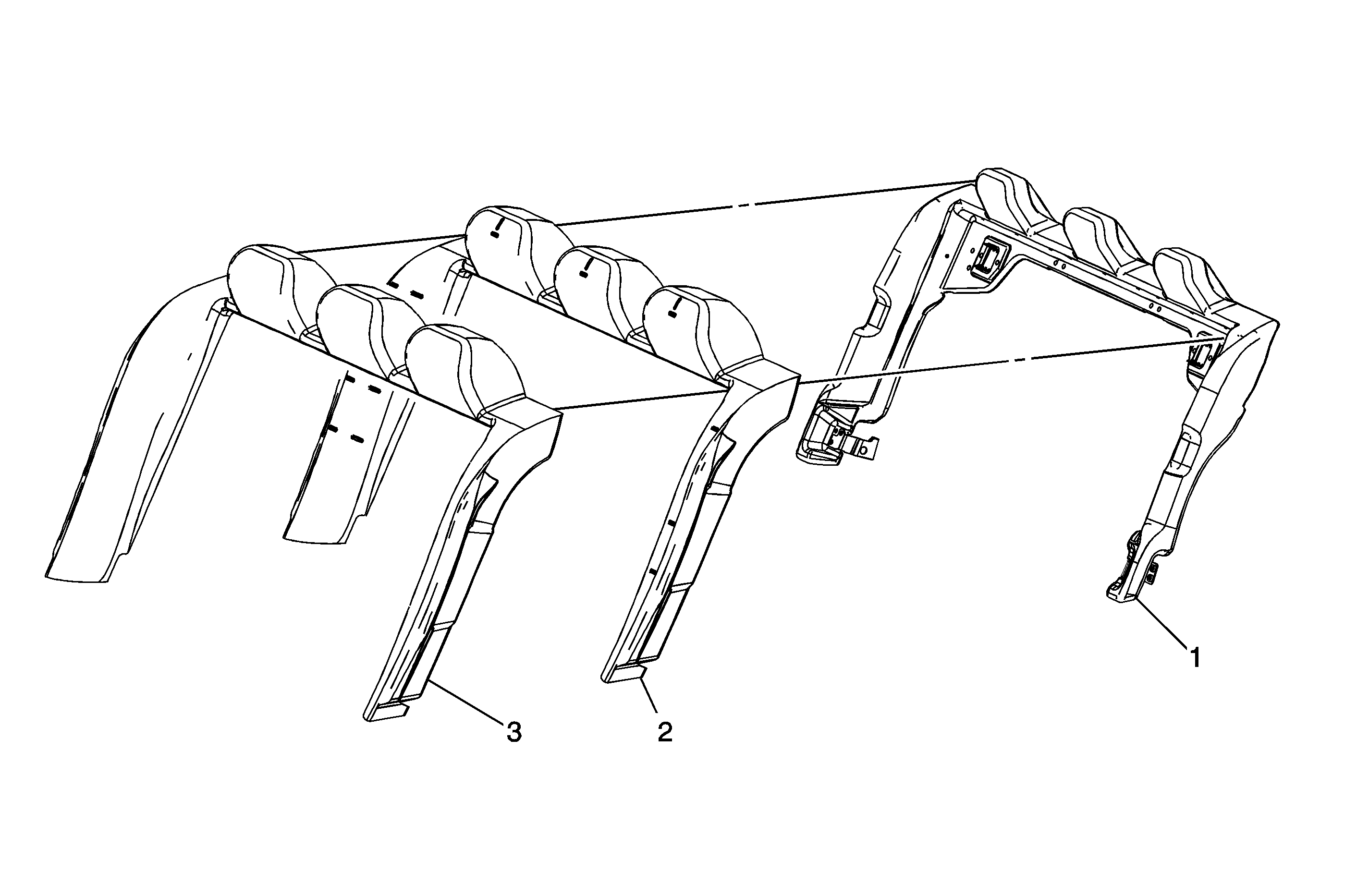
Rear Seat Back Cushion Opening Trim Cover and Outer Cover Pad Replacement Rear Split Folding


Object Number: 1836050  Size: MF

Callout

Component Name

1

Rear Seat Back Cushion Opening Panel

Refer to Rear Seat Back Cushion Opening Panel Replacement.

2

Rear Seat Back Cushion Opening Trim Cover

3

Rear Seat Back Cushion Outer Cover Pad