GM Service Manual Online
For 1990-2009 cars only

Caution: Storing a jack, a tire, or other equipment in the passenger compartment of the vehicle could cause injury. In a sudden stop or collision, loose equipment could strike someone. Store all these in the proper place.

After the compact spare tire has been installed on the vehicle, store the flat tire in the trunk.

When storing a full-size tire, use the extension with the protector, located in the foam holder, to help avoid wheel surface damage.

To store a full-size tire:

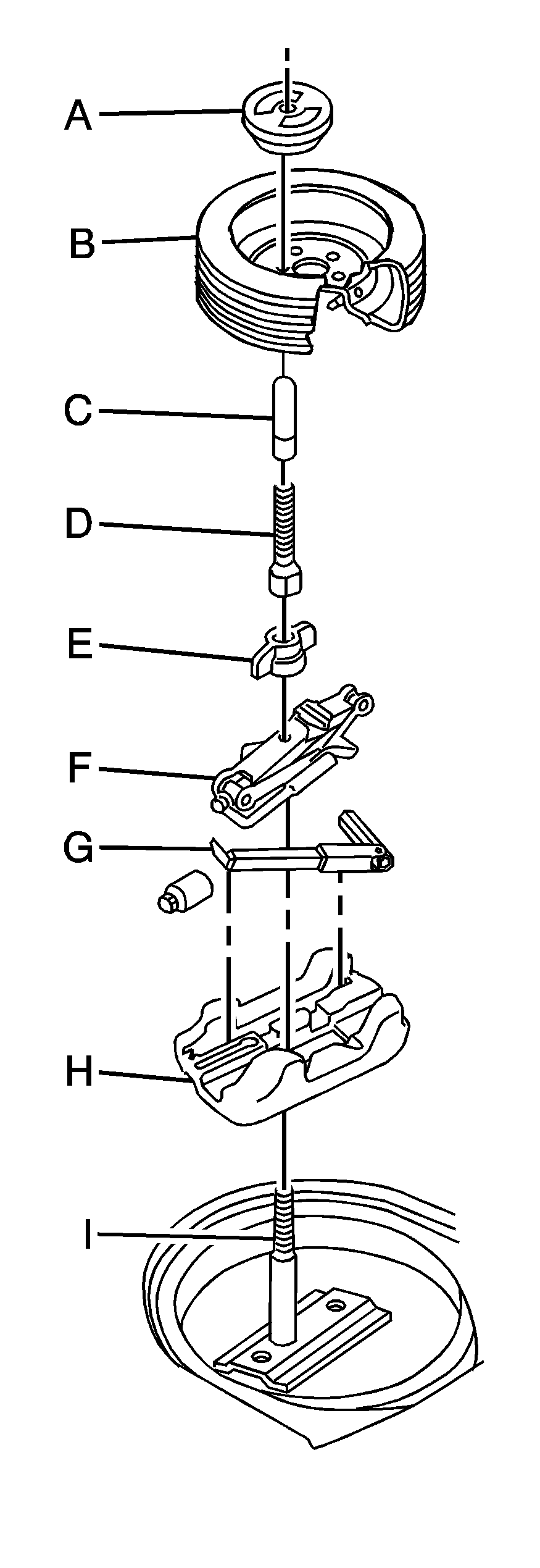
Full Size Flat Tire


Object Number: 1791868  Size: A4
  1. Retainer

  2. Flat Tire

  3. Protector

  4. Bolt Extension

  5. Wing Nut

  6. Jack

  7. Wheel Wrench

  8. Extension and Protective Guide

  9. Bolt Screw

  1. Install the tools in their original location in the trunk area and secure.
  2. Place the tire valve stem facing down and the protector/guide placed through a wheel bolt hole.
  3. Remove the protector and attach the retainer securely
  4. Store the cover as far forward as possible.

When storing a compact spare tire in the trunk, put the protector back in the foam holder.

The compact spare is for temporary use only. Replace the compact spare tire with a full-size tire as soon as you can. See Compact Spare Tire . Use the following as a guide for storing the compact spare tire and tools.

Compact Spare Tire


Object Number: 870395  Size: A4
  1. Retainer

  2. Cover

  3. Compact Spare Tire

  4. Wing Nut

  5. Jack

  6. Wheel Wrench

  7. Extension and Protective Guide

  8. Foam Holder

  9. Bolt Screw