GM Service Manual Online
For 1990-2009 cars only

Object Number: 1594246  Size: MF

Callout

Component Name

Fastener Tightening Specifications: Refer to Fastener Tightening Specifications .

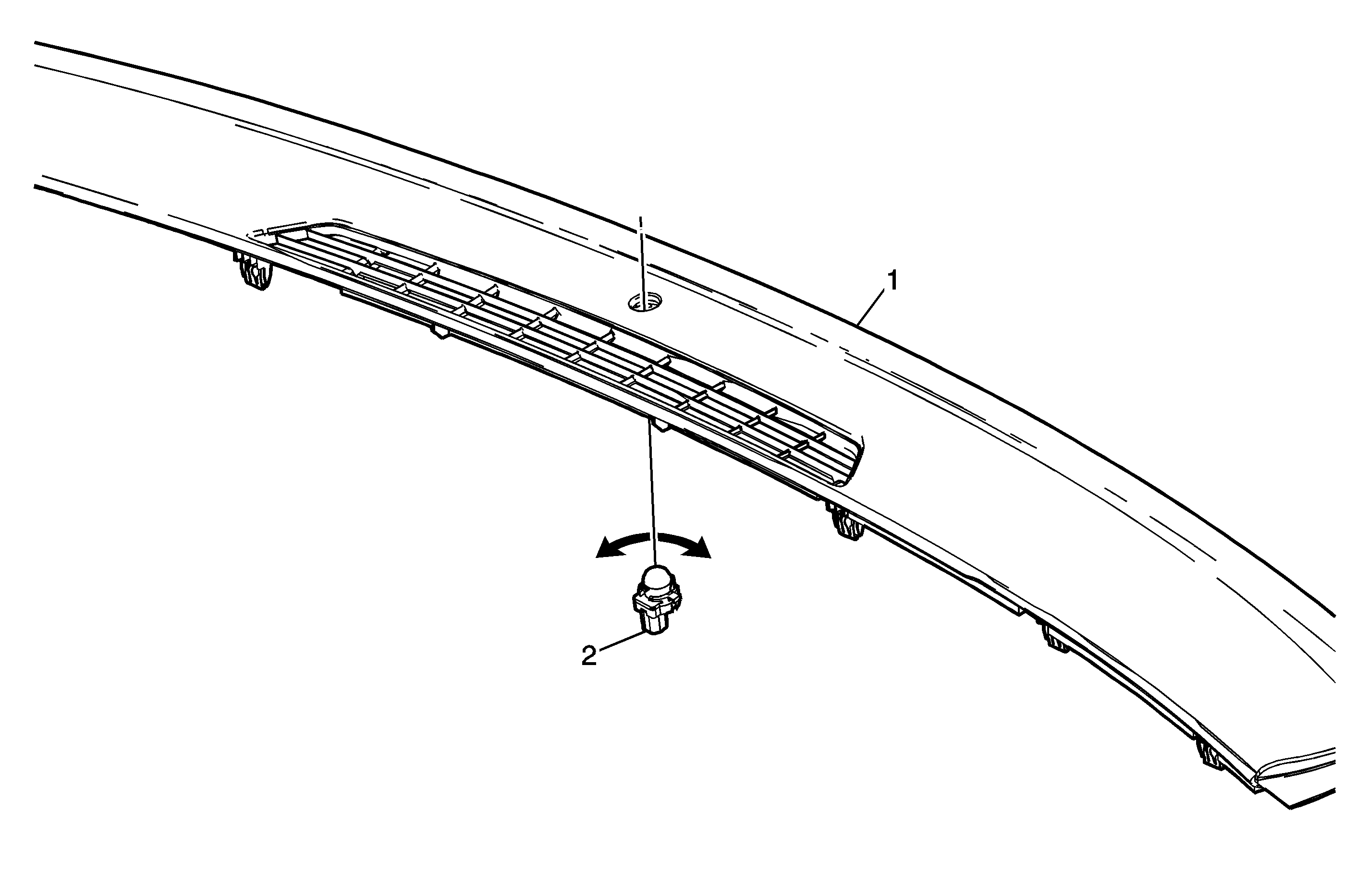
1

Instrument Panel Upper Trim Panel

Refer to Instrument Panel Upper Trim Panel Replacement .

2

Ambient Light Sensor Assembly