GM Service Manual Online
For 1990-2009 cars only
Figure 1:

Radio and Speaker Components


Object Number: 1688791  Size: LF
(1)Audio Amplifier (U87, UQ3)
(2)Speaker - LR
(3)Speaker - LF Door
(4)Speaker - LF Tweeter (UQ3)
(5)Radio
(6)Speaker - RF Tweeter (UQ3)
(7)Speaker - RF Door
(8)Speaker - RR
Figure 2:

Base of the Left A-Pillar


Object Number: 1741862  Size: LF
(1)Speaker - LF Tweeter (UQ3)
Figure 3:

Base of the Right A-Pillar


Object Number: 1741878  Size: LF
(1)Speaker - RF Tweeter (UQ3)
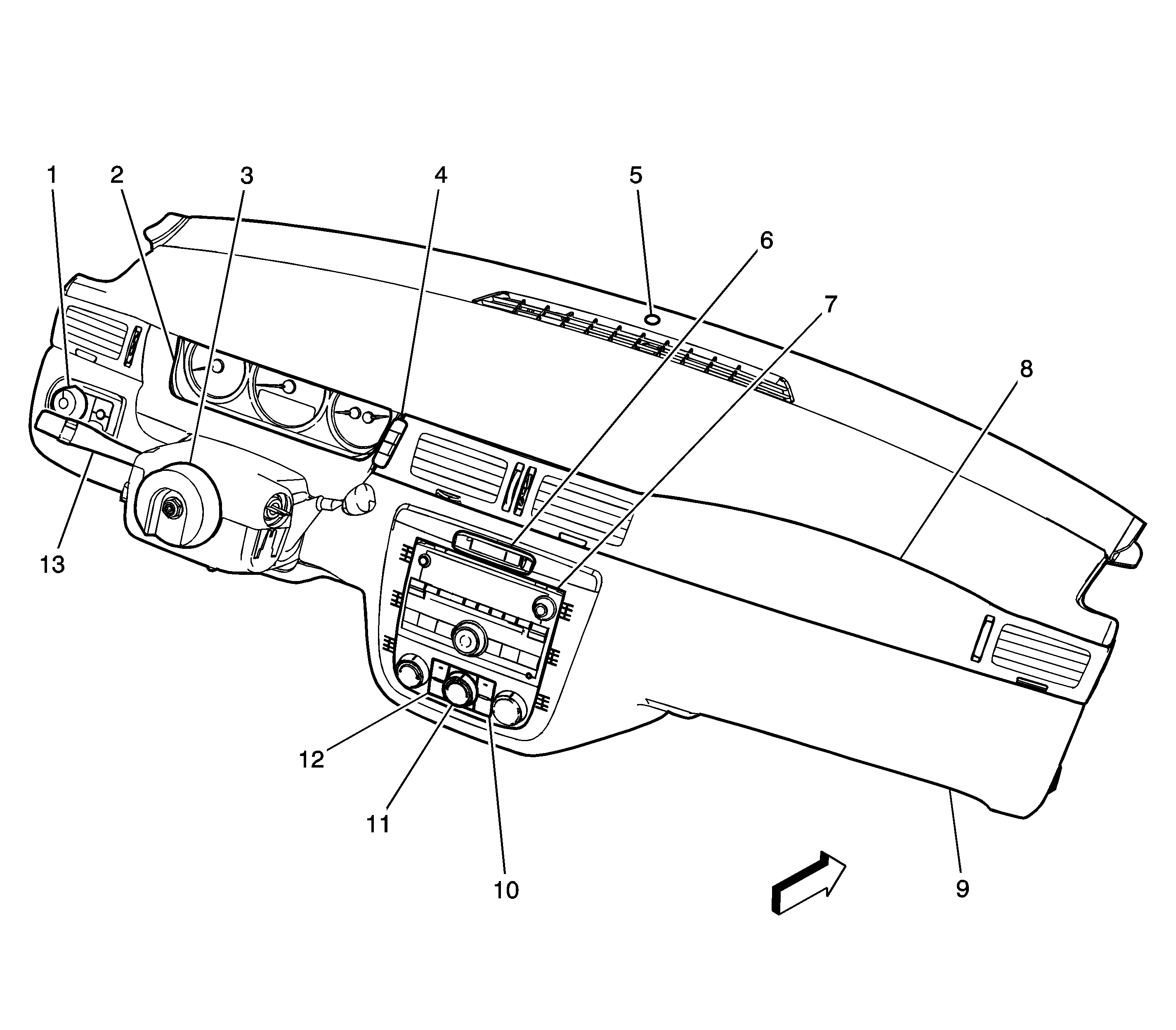
Figure 4:

I/P Components


Object Number: 1653129  Size: LF
(1)Headlamp Switch
(2)Instrument Panel Cluster (IPC)
(3)Inflatable Restraint Steering Wheel Module Coil
(4)Driver Information Center (DIC) Switch
(5)Ambient Light Sensor
(6)Inflatable Restraint Passenger Air Bag On/Off Indicator (Sedan w/o 9C1, 9C3)
(7)Radio
(8)Inflatable Restraint I/P Module
(9)I/P Trim Panel
(10)Heated Seat Switch - Passenger (KA1)
(11)HVAC Control Module
(12)Heated Seat Switch - Driver (KA1)
(13)Turn Signal/Multifunction Switch
Figure 5:

Headliner Components - Top View


Object Number: 1653122  Size: LF
(1)Headliner
(2)Cellular and Digital Radio Antenna (UE1, U2K)
(3)Inflatable Restraint Passenger Air Bag On/Off Indicator (Coupe)
(4)Sunroof Motor (CF5)
Figure 6:

Above the Rear Seat


Object Number: 1700260  Size: LF
(1)Left Rear C-Pillar
(2)Radio Antenna Module
(3)Rear Seat
Figure 7:

Right Side of the Luggage Compartment


Object Number: 1700233  Size: LF
(1)Rear Window
(2)Junction Block - Rear (6J1)
(3)Digital Radio Receiver (U2K)
(4)G405 (Provisional - UT7)
Figure 8:

Rear of the Vehicle (Sedan)


Object Number: 1653145  Size: LF
(1)Rear Window Defogger Grid
(2)Radio Rear Window Antenna
(3)Tail/Stop and Turn Signal Lamp - Right
(4)Tail Lamp - Right
(5)Backup Lamp - Right
(6)License Lamp
(7)Center High Mounted Stop Lamp (CHMSL)
(8)Backup Lamp - Left
(9)Tail Lamp - Left
(10)Tail/Stop and Turn Signal Lamp - Left
Figure 9:

Rear of the Vehicle (Coupe)


Object Number: 1671993  Size: LF
(1)Center High Mounted Stop Lamp (CHMSL)
(2)Radio Rear Window Antenna
(3)Rear Window Defogger Grid
(4)Tail Lamp - Right
(5)Marker Lamp - RR
(6)Tail/Stop and Turn Signal Lamp - Left
(7)Backup Lamp - Right
(8)License Lamp
(9)Backup Lamp - Left
(10)Tail/Stop and Turn Signal Lamp - Right
(11)Marker Lamp - LR
(12)Tail Lamp - Left
Figure 10:

Left Side of Rear Compartment


Object Number: 1696879  Size: LF
(1)Vehicle Communication Interface Module (VCIM) (UE1)
(2)Vehicle Communication Interface Module (VCIM) Battery (Sedan, UE1)
(3)Terminator Resistor (UE1)