| |||||||
|---|---|---|---|---|---|---|---|
Connector Part Information |
| ||||||
Pin | Wire Color | Circuit No. | Function | ||||
1 | OG/GN (Except North America) | 267 | Heated Mirror Coil Supply Voltage | ||||
OG | |||||||
2 | -- | -- | Not Used | ||||
3 | GY | 120 | Fuel Pump Supply Voltage | ||||
4 | WH (Except North America) | 193 | Rear Defog Relay Control | ||||
WH/BK | |||||||
5 | PU/WH | 709 | Left Park Lamp Supply Voltage | ||||
PU (Except North America) | |||||||
6 | PU/WH | 709 | Left Park Lamp Supply Voltage (Notchback LHD) | ||||
PU | 709 | Left Park Lamp Supply Voltage (Notchback RHD) (Hatchback LHD) | |||||
7 | BN | 141 | Ignition 3 Voltage | ||||
8 | L-GN | 876 | Rough Road Signal w/ ABS | ||||
9 | OG | 140 | Battery Positive Voltage | ||||
10 | BN/BK | 309 | Right Park Lamp Supply Voltage | ||||
11 | BN/WH | 309 | Right Park Lamp Supply Voltage | ||||
BN/BK (Except North America) | |||||||
12 | -- | -- | Not Used | ||||
13 | PK/BK | 1846 | Ignition 1 Voltage | ||||
PK/BK | 1846 | Ignition 1 Voltage | |||||
14 | WH/BK | 1798 | Headlamp Relay Control | ||||
GY/BK (North America) | |||||||
15 | PU/WH (Except North America) | 709 | Left Park Lamp Supply Voltage | ||||
PU/BK | 709 | Left Park Lamp Supply Voltage (Hatchback LHD) | |||||
PU | 709 | Left Park Lamp Supply Voltage (Notchback RHD) | |||||
16 | -- | -- | Not Used | ||||
17 | BK | 28 | Horn Relay Control | ||||
18 | WH | 1080 | Park Lamp Relay Control | ||||
19 | YE/D-GN | 317 | Fog Lamp Relay Coil Supply Voltage | ||||
20 | PU | 12 | Headlamp Low Beam Supply Voltage (Except North America) | ||||
L-BU | 1346 | Headlamp Supply Voltage/ Headlamp Control | |||||
21 | -- | -- | Not Used | ||||
| |||||||
|---|---|---|---|---|---|---|---|
Connector Part Information |
| ||||||
Pin | Wire Color | Circuit No. | Function | ||||
1 | PU | 12 | Headlamp Low Beam Supply Voltage | ||||
2 | L-GN | 11 | Headlamp High Beam Supply Voltage | ||||
3 | OG/BK | 1340 | Battery Positive Voltage | ||||
4 | PU | 293 | Rear Defog Element Supply Voltage | ||||
5 | RD | 581 | Power Window Supply Voltage - Driver Door | ||||
6 | OG/BK | 540 | Battery Positive Voltage | ||||
7 | PK | 539 | Ignition 1 Voltage | ||||
8 | OG/BK | 640 | Battery Positive Voltage | ||||
OG (Except North America) | |||||||
9 | OG/BK | 640 | Battery Positive Voltage | ||||
OG (Except North America) | |||||||
10 | OG/BK (Except North America) | 640 | Battery Positive Voltage | ||||
OG | |||||||
11 | OG | 580 | Power Window Supply Voltage | ||||
| |||||||
|---|---|---|---|---|---|---|---|
Connector Part Information |
| ||||||
Pin | Wire Color | Circuit No. | Function | ||||
1 | PK/BK | 1846 | Ignition 1 Voltage | ||||
-- | -- | Not Used (HV 240) | |||||
2 | PK/BK | 1846 | Ignition 1 Voltage | ||||
-- | -- | Not Used (HV 240) | |||||
3-4 | -- | -- | Not Used | ||||
5 | PK/BK | 1846 | Ignition 1 Voltage | ||||
-- | -- | Not Used (HV 240) | |||||
6 | BK | 1846 | Ignition 1 Voltage | ||||
PK/BK | 1846 | Ignition 1 Voltage (Sirius D4) | |||||
7 | PK/BK | 1846 | Ignition 1 Voltage | ||||
8 | -- | -- | Not Used | ||||
PK | 139 | Ignition 1 Voltage (Except North America) (Sirius D4) | |||||
9 | PK | 139 | Ignition 1 Voltage | ||||
PK | 139 | Ignition 1 Voltage | |||||
10 | PK | 139 | Ignition 1 Voltage | ||||
PK | 139 | Ignition 1 Voltage | |||||
| |||||||
|---|---|---|---|---|---|---|---|
Connector Part Information |
| ||||||
Pin | Wire Color | Circuit No. | Function | ||||
1 | BN/WH | 309 | Right Park Lamp Supply Voltage (Notchback) (Except North America) | ||||
2 | BN/WH | 309 | Right Park Lamp Supply Voltage (North America) | ||||
3 | PU | 34 | Fog Lamp Supply Voltage (w/Front Fog Lamp) | ||||
4 | BN | 990 | Power Steering Pressure Switch Signal (Except North America) | ||||
5 | D-GN | 59 | A/C Compressor Clutch Coil Supply Voltage (w/Air Conditioning) | ||||
6-7 | -- | -- | Not Used | ||||
8 | PU | 34 | Fog Lamp Supply Voltage (w/Front Fog Lamps) | ||||
9 | OG | 1240 | Battery Positive Voltage | ||||
OG | 1240 | Battery Positive Voltage | |||||
10 | -- | -- | Not Used | ||||
11 | YE | 712 | Left Headlamp Low Beam Supply Voltage | ||||
12 | BK | 50 | Ground | ||||
13-14 | -- | -- | Not Used | ||||
15 | L-BU | 409 | Cooling Fan Motor Supply Voltage | ||||
16 | PU | 312 | Right Headlamp Low Beam Supply Voltage | ||||
PU/WH (Except North America) | |||||||
17 | L-GN/BK | 311 | Right Headlamp High Beam Supply Voltage | ||||
18 | D-GN/WH | 711 | Left Headlamp High Beam Supply Voltage | ||||
19 | PU | 709 | Left Park Lamp Supply Voltage (North America) | ||||
20 | PU | 709 | Left Park Lamp Supply Voltage (Notchback) (Except North America) | ||||
21 | PU | 532 | Cooling Fan Motor Supply Voltage | ||||
22 | PU | 532 | Cooling Fan Motor Supply Voltage | ||||
23 | D-GN | 29 | Horn Control | ||||
24 | -- | -- | Not Used | ||||
| |||||||
|---|---|---|---|---|---|---|---|
Connector Part Information |
| ||||||
Pin | Wire Color | Circuit No. | Function | ||||
1 | RD | 742 | Battery Positive Voltage | ||||
2 | RD/D-BU | 142 | Battery Positive Voltage | ||||
3 | RD/D-GN | 1642 | Battery Positive Voltage | ||||
4 | RD/WH | 642 | Battery Positive Voltage | ||||
| |||||||
|---|---|---|---|---|---|---|---|
Connector Part Information |
| ||||||
Pin | Wire Color | Circuit No. | Function | ||||
1 | PK/D-BU | 539 | Ignition 1 Voltage | ||||
OG | 440 | Battery Voltage (Sirius D4) | |||||
2 | PK | 739 | Ignition 1 Voltage | ||||
3 | GY | 120 | Fuel Pump Supply Voltage | ||||
GY | 120 | Fuel Pump Supply Voltage | |||||
4 | D-GN/WH | 335 | Low Speed Cooling Fan Relay Control | ||||
D-GN (Except North America) | Low Speed Cooling Fan Relay Control | ||||||
5 | D-BU | 473 | High Speed Cooling Fan Relay Control | ||||
D-BU | 473 | High Speed Cooling Fan Relay Control | |||||
6 | -- | -- | Not Used | ||||
7 | D-GN | 67 | A/C Compressor Clutch Coil Supply Voltage | ||||
PU/WH | A/C Compressor Clutch Coil Supply Voltage (Sirius D4) | ||||||
8 | OG | 440 | Battery Positive Voltage | ||||
9 | OG | 440 | Battery Positive Voltage | ||||
-- | -- | Not Used (Sirius D4) | |||||
10 | L-GN | 465 | Fuel Pump Relay Control | ||||
D-GN/WH | Fuel Pump Relay Control (Sirius D4) | ||||||
11 | -- | -- | Not Used | ||||
12 | PK/D-BU | 539 | Ignition 1 Voltage | ||||
PK/D-BU | 539 | Ignition 1 Voltage | |||||
PK | 539 | Ignition 1 Voltage (Sirius D4) | |||||
13 | PK/D-BU | 539 | Ignition 1 Voltage | ||||
14 | PK/D-BU | 539 | Ignition 1 Voltage (Except North America) | ||||
15 | D-BU | 876 | Serial Data (w/ABS) | ||||
16 | -- | -- | Not Used | ||||
17 | BK | 250 | Ground | ||||
D-BU/WH | 471 | Main Relay Control (Sirius D4) | |||||
18 | -- | -- | Not Used | ||||
BN | 990 | Power Steering Pressure Switch Signal (Sirius D4) | |||||
19 | PK | 139 | Ignition 1 Voltage (HV 240) | ||||
BK | 250 | Ground (MR 140) | |||||
PK/D-BU | 539 | Ignition 1 Voltage (Sirius D4) | |||||
20 | -- | -- | Not Used | ||||
| |||||||
|---|---|---|---|---|---|---|---|
Connector Part Information |
| ||||||
Pin | Wire Color | Circuit No. | Function | ||||
1 | RD | 42 | Battery Positive Voltage | ||||
2 | RD | 42 | Battery Positive Voltage | ||||
|
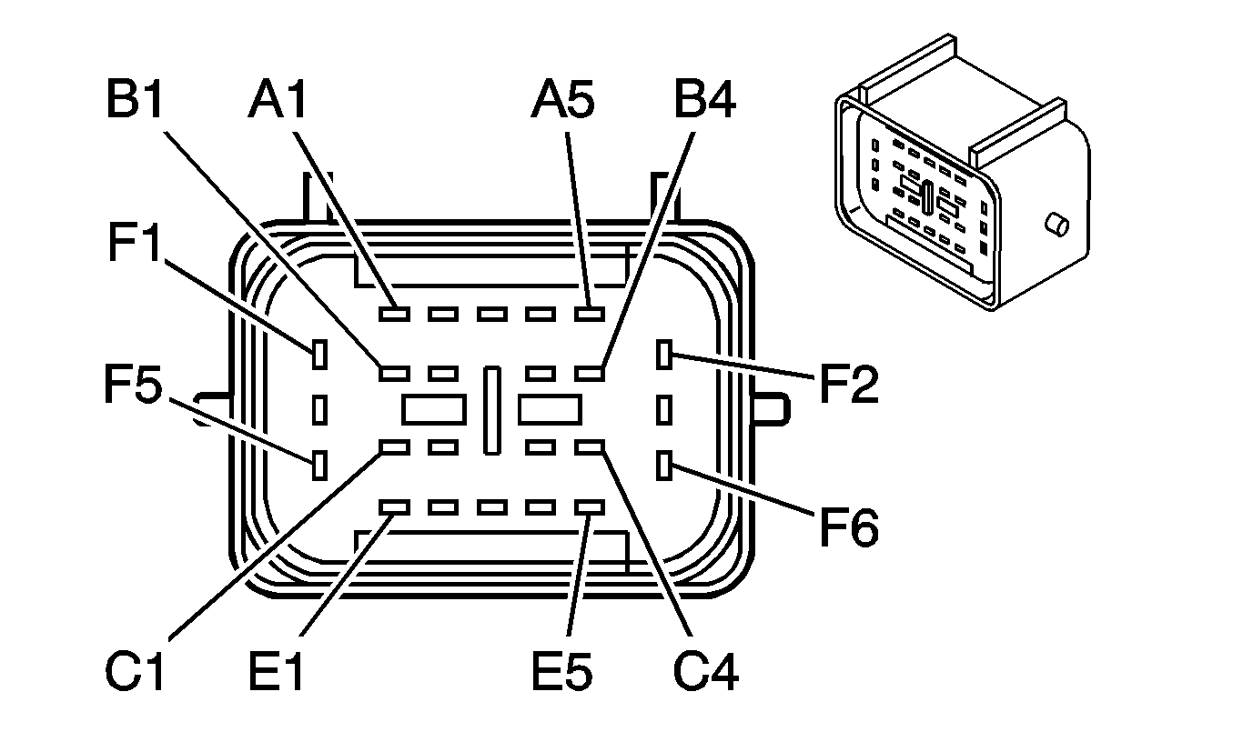
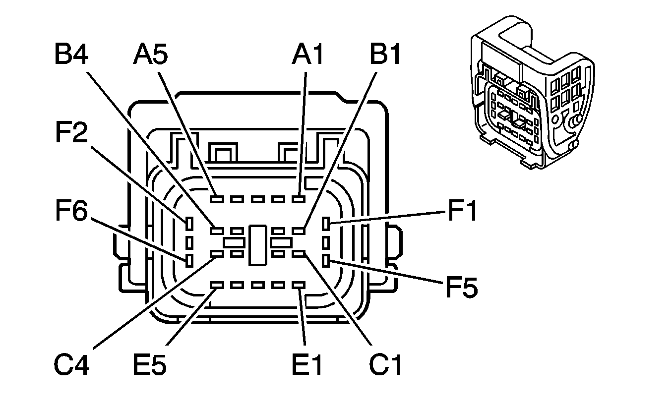
| ||||||||||||||
|---|---|---|---|---|---|---|---|---|---|---|---|---|---|---|---|
Connector Part Information |
| Connector Part Information |
| ||||||||||||
Pin | Wire Color | Circuit No. | Function | Pin | Wire Color | Circuit No. | Function | ||||||||
A1-A3 | -- | -- | Not Used | A1-A3 | -- | -- | Not Used | ||||||||
A4 | D-GN | 135 | Engine Coolant Temperature (ECT) Sensor Gage Signal | A4 | D-GN | 135 | Engine Coolant Temperature (ECT) Sensor Gage Signal | ||||||||
A5 | BN/WH | 419 | Malfunction Indicator Lamp (MIL) Control | A5 | BN/WH | 419 | Malfunction Indicator Lamp (MIL) Control | ||||||||
B1 | PU/BK | 632 | Low Reference | B1 | GY | 605 | Low Reference | ||||||||
B2 | D-GN/WH | 817 | Vehicle Speed Signal | B2 | D-GN/WH | 817 | Vehicle Speed Signal (w/ Manual Transmission) | ||||||||
B3 | D-GN/D-BU | 762 | A/C Request Signal | B3 | D-GN/WH | 762 | A/C Request Signal (w/ A/C) | ||||||||
B4 | WH/BK | 30 | Fuel Level Sensor Signal | B4 | WH | 30 | Fuel Level Sensor Signal | ||||||||
WH | |||||||||||||||
C1 | D-GN | 890 | Fuel Tank Pressure Sensor Signal (North America) | C1 | YE/D-GN | 890 | Fuel Tank Pressure Sensor Signal (North America) | ||||||||
C2 | BN | 2000 | Serial Data | C2 | BN | 2000 | Serial Data | ||||||||
C3 | BN | 25 | Charge Indicator Control | C3 | BU | 25 | Charge Indicator Control | ||||||||
C4 | WH | 121 | Engine Speed Signal | C4 | WH | 121 | Engine Speed Signal | ||||||||
E1 | PU | 1807 | CAN Serial Data High | E1 | PU | 1807 | CAN Serial Data High (w/Automatic Transmission) | ||||||||
E2 | YE/RD | 710 | CAN Serial Data Low | E2 | YE | 710 | CAN Serial Data Low (w/Automatic Transmission) | ||||||||
E3 | BN/BK | 1671 | Heated Oxygen Sensor (HO2S) 2 Heater Control (North America) | E3 | BN/BK | 1671 | Heated Oxygen Sensor (HO2S) 2 Heater Control | ||||||||
E4 | L-BU/PU | 1986 | EVAP Canister Vent Solenoid Control (North America) | E4 | L-BU/BK | 1986 | EVAP Canister Vent Solenoid Control (North America) | ||||||||
E5 | D-BU | 1936 | Fuel Level Sensor Signal | E5 | BU | 1936 | Fuel Level Sensor Signal | ||||||||
F1 | BN/BK | 231 | Engine Oil Pressure Switch Signal | F1 | BN/BK | 231 | Engine Oil Pressure Switch Signal | ||||||||
F2 | YE | 5 | Crank Voltage | F2 | YE | 5 | Crank Voltage | ||||||||
F3 | PK | 839 | Ignition 1 Voltage | F3 | PK | 839 | Ignition 1 Voltage (w/Manual Transmission) | ||||||||
F4 | L-GN | 24 | Backup Lamp Supply Signal | F4 | L-GN | 24 | Backup Lamp Supply Signal (w/Manual Transmission) | ||||||||
F5 | GY | 473 | High Speed Cooling Fan Relay Control | F5 | D-BU | 473 | High Speed Cooling Fan Relay Control | ||||||||
F6 | -- | -- | Not Used | F6 | -- | -- | Not Used | ||||||||
|
| ||||||||||||||
|---|---|---|---|---|---|---|---|---|---|---|---|---|---|---|---|
Connector Part Information |
| Connector Part Information |
| ||||||||||||
Pin | Wire Color | Circuit No. | Function | Pin | Wire Color | Circuit No. | Function | ||||||||
A1 | L-GN | 413 | Heated Oxygen Sensor (HO2S) 2 Low Reference (North America) | A1 | L-GN | 413 | Heated Oxygen Sensor (HO2S) 2 Low Reference (North America) | ||||||||
A2 | PU | 1670 | Heated Oxygen Sensor (HO2S) 2 Signal (North America) | A2 | PU | 1670 | Heated Oxygen Sensor (HO2S) 2 Signal (North America) | ||||||||
A3 | GY | 605 | 5-Volt Reference (North America) | A3 | GY | 605 | 5-Volt Reference (North America) | ||||||||
A4 | D-GN | 135 | Engine Coolant Temperature (ECT) Sensor Gage Signal | A4 | D-GN | 135 | Engine Coolant Temperature (ECT) Sensor Gage Signal | ||||||||
A5 | BN/WH | 419 | Malfunction Indicator Lamp (MIL) Control | A5 | BN/WH | 419 | Malfunction Indicator Lamp (MIL) Control | ||||||||
B1 | PU/BK | 632 | Low Reference | B1 | PU/WH | 632 | Low Reference | ||||||||
B2 | D-GN/WH | 817 | Vehicle Speed Signal (w/ Manual Transmission) | B2 | D-GN/WH | 817 | Vehicle Speed Signal (w/ Manual Transmission) | ||||||||
B3 | D-GN/D-BU | 762 | A/C Request Signal (Except North America) | B3 | D-GN/WH | 762 | A/C Request Signal (Except North America) | ||||||||
D-GN | 762 | A/C Request Signal | D-GN | 762 | A/C Request Signal | ||||||||||
B4 | WH/BK | 30 | Fuel Level Sensor Signal | B4 | WH | 30 | Fuel Level Sensor Signal | ||||||||
WH (Except North America) | |||||||||||||||
C1 | D-GN | 890 | Fuel Tank Pressure Sensor Signal (North America) | C1 | YE/D-GN | 890 | Fuel Tank Pressure Sensor Signal (North America) | ||||||||
C2 | BN | 2000 | Serial Data | C2 | PU | 2000 | Serial Data | ||||||||
C3 | BN | 25 | Charge Indicator Control | C3 | BN | 25 | Charge Indicator Control | ||||||||
C4 | WH | 121 | Engine Speed Signal | C4 | GY | 121 | Engine Speed Signal | ||||||||
E1 | PU | 1807 | CAN Serial Data High | E1 | PU | 1807 | CAN Serial Data High (w/Automatic Transmission) | ||||||||
E2 | YE/BN | 710 | CAN Serial Data Low | E2 | YE | 710 | CAN Serial Data Low (w/Automatic Transmission) | ||||||||
E3 | BN/BK | 1671 | Heated Oxygen Sensor (HO2S) 2 Heater Control (North America) | E3 | BN/BK | 1671 | Heated Oxygen Sensor (HO2S) 2 Heater Control | ||||||||
E4 | L-BU/PU | 1986 | EVAP Canister Vent Solenoid Control (North America) | E4 | L-BU/BK | 1986 | EVAP Canister Vent Solenoid Control (North America) | ||||||||
E5 | D-BU | 1936 | Fuel Level Sensor Signal | E5 | GY | 1936 | Fuel Level Sensor Signal | ||||||||
F1 | BN/BK | 231 | Engine Oil Pressure Switch Signal | F1 | BN/BK | 231 | Engine Oil Pressure Switch Signal | ||||||||
F2 | YE | 5 | Crank Voltage | F2 | YE | 5 | Crank Voltage | ||||||||
F3 | PK | 839 | Ignition 1 Voltage | F3 | PK | 839 | Ignition 1 Voltage (w/Manual Transmission) | ||||||||
F4 | L-GN | 24 | Backup Lamp Supply Signal | F4 | L-GN | 24 | Backup Lamp Supply Signal (w/Manual Transmission) | ||||||||
F5 | GY | 473 | High Speed Cooling Fan Relay Control | F5 | D-BU | 473 | High Speed Cooling Fan Relay Control | ||||||||
F6 | -- | -- | Not Used | F6 | -- | -- | Not Used | ||||||||
|
| ||||||||||||||
|---|---|---|---|---|---|---|---|---|---|---|---|---|---|---|---|
Connector Part Information |
| Connector Part Information |
| ||||||||||||
Pin | Wire Color | Circuit No. | Function | Pin | Wire Color | Circuit No. | Function | ||||||||
1 | BN | 413 | Heated Oxygen Sensor (HO2S) 2 Low Reference | 1 | BN | 413 | Heated Oxygen Sensor (HO2S) 2 Low Reference | ||||||||
L-GN (Sirius D4) | L-GN (Sirius D4) | ||||||||||||||
2 | PU | 1670 | Heated Oxygen Sensor (HO2S) 2 Signal | 2 | PU | 1670 | Heated Oxygen Sensor (HO2S) 2 Signal | ||||||||
3 | BN/WH | 1671 | Heated Oxygen Sensor (HO2S) 2 Heater Control | 3 | BN/BK | 1671 | Heated Oxygen Sensor (HO2S) 2 Heater Control | ||||||||
BN/BK (Sirius D4) | |||||||||||||||
4 | PK/BK | 1846 | Ignition 1 Voltage | 4 | PK/BK | 1846 | Ignition 1 Voltage | ||||||||
|
| ||||||||||||||
|---|---|---|---|---|---|---|---|---|---|---|---|---|---|---|---|
Connector Part Information |
| Connector Part Information |
| ||||||||||||
Pin | Wire Color | Circuit No. | Function | Pin | Wire Color | Circuit No. | Function | ||||||||
1 | L-BU | 20 | Stop Lamp Switch Signal | 1 | L-BU | 20 | Stop Lamp Switch Signal | ||||||||
2 | D-BU | 774 | Serial Data | 2 | D-BU/WH | 774 | Serial Data | ||||||||
3 | BN | 882 | Right Rear Wheel Speed Sensor Signal | 3 | BN | 882 | Right Rear Wheel Speed Sensor Signal | ||||||||
4 | BK | 884 | Left Rear Wheel Speed Sensor Signal | 4 | BK | 884 | Left Rear Wheel Speed Sensor Signal | ||||||||
5 | RD | 885 | Left Rear Wheel Speed Sensor Return | 5 | D-BU | 885 | Left Rear Wheel Speed Sensor Return | ||||||||
6 | BN | 739 | Ignition 1 Voltage | 6 | BN | 739 | Ignition 1 Voltage | ||||||||
7 | -- | -- | Not Used | 7 | -- | -- | Not Used | ||||||||
8 | L-GN/BK | 867 | ABS Indicator Failure Control | 8 | L-GN | 867 | ABS Indicator Failure Control | ||||||||
9 | L-GN | 876 | Rough Road Signal (Except North America) | 9 | WH | 876 | Rough Road Signal (Except North America) | ||||||||
WH/YE | 866 | Rough Road Signal | L-GN | 866 | Rough Road Signal | ||||||||||
10 | WH | 883 | Right Rear Wheel Speed Sensor Return | 10 | WH | 883 | Right Rear Wheel Speed Sensor Return | ||||||||
11 | D-GN | 905 | Serial Data | 11 | D-GN | 905 | Serial Data | ||||||||
12 | PU/WH | 33 | Brake Warning Indicator Control | 12 | PU/WH | 33 | Brake Warning Indicator Control | ||||||||
|
| ||||||||||||||
|---|---|---|---|---|---|---|---|---|---|---|---|---|---|---|---|
Connector Part Information |
| Connector Part Information |
| ||||||||||||
Pin | Wire Color | Circuit No. | Function | Pin | Wire Color | Circuit No. | Function | ||||||||
1 | WH | 833 | Front Right Wheel Speed Sensor Return | 1 | YE | 833 | Front Right Wheel Speed Sensor Return | ||||||||
2 | GY | 872 | Front Right Wheel Speed Sensor Signal | 2 | PU | 872 | Front Right Wheel Speed Sensor Signal | ||||||||
|
| ||||||||||||||
|---|---|---|---|---|---|---|---|---|---|---|---|---|---|---|---|
Connector Part Information |
| Connector Part Information |
| ||||||||||||
Pin | Wire Color | Circuit No. | Function | Pin | Wire Color | Circuit No. | Function | ||||||||
1 | BK | 50 | Ground | 1 | BK | 150 | Ground | ||||||||
2 | D-GN | 29 | Horn Control | 2 | BK/WH | 29 | Horn Control | ||||||||
|
| ||||||||||||||
|---|---|---|---|---|---|---|---|---|---|---|---|---|---|---|---|
Connector Part Information |
| Connector Part Information |
| ||||||||||||
Pin | Wire Color | Circuit No. | Function | Pin | Wire Color | Circuit No. | Function | ||||||||
1 | BN | 141 | Ignition 1 Voltage (Except North America) | 1 | PK | 741 | Ignition 1 Voltage (Except North America) | ||||||||
BN/BK | 2105 | Inflatable Restraint Front End Sensor - Left Voltage (North America) | BN/BK | 2105 | Inflatable Restraint Front End Discriminating Sensor - Left Voltage (North America) | ||||||||||
2 | YE | 261 | Arm Alarm Signal | 2 | YE | 261 | Arm Alarm Signal | ||||||||
3 | PK/D-BU | 109 | Hood Ajar Switch Signal | 3 | PK/BK | 109 | Hood Ajar Switch Signal | ||||||||
4 | YE/D-BU | 61 | Low Reference (w/Auto A/C) | 4 | YE | 61 | Low Reference (w/Auto A/C) | ||||||||
5 | BN | 247 | Medium Blower Motor Control (Except North America) | 5 | BN | 247 | Medium Blower Motor Control (Except North America) | ||||||||
BN/WH | |||||||||||||||
L-GN/RD | 2106 | Front End Sensor - Left Signal (North America) | L-GN/RD | 2106 | Inflatable Restraint Front End Discriminating Sensor - Left (North America) | ||||||||||
6 | D-BU | 15 | Right Turn Signal Lamp Supply Voltage | 6 | L-BU | 15 | Right Turn Signal Lamp Supply Voltage | ||||||||
7 | L-BU (Except North America) | 14 | Left Turn Signal Lamp Supply Voltage | 7 | L-BU | 14 | Left Turn Signal Lamp Supply Voltage | ||||||||
L-BU/BK | |||||||||||||||
8 | L-GN/BK | 735 | Ambient Air Temperature Sensor (w/Auto A/C) | 8 | L-GN/BK | 735 | Ambient Air Temperature Sensor (w/Auto A/C) | ||||||||
9 | PU | 1703 | Variable Effort Steering Actuator Supply Voltage (w/Variable Effort Steering) | 9 | L-GN | 1703 | Variable Effort Steering Actuator Supply Voltage (w/Variable Effort Steering) | ||||||||
10 | GY | 473 | High Speed Cooling Fan Relay Control | 10 | GY | 473 | High Speed Cooling Fan Relay Control | ||||||||
11 | D-GN | 189 | Headlamp Leveling Motor Supply Voltage (w/Headlamp Leveling) | 11 | D-GN | 189 | Headlamp Leveling Motor Supply Voltage (w/Headlamp Leveling) | ||||||||
12 | RD | 228 | Windshield Washer Pump Control (Notchback) | 12 | RD | 228 | Windshield Washer Pump Control (Notchback) | ||||||||
13 | L-BU | 1738 | Variable Effort Steering Actuator Control (w/Variable Effort Steering) | 13 | BN/BK | 1738 | Variable Effort Steering Actuator Control (w/Variable Effort Steering) | ||||||||
14 | D-GN/WH | 2104 | Inflatable Restraint Front End Sensor - Right Signal (North America) | 14 | D-GN/WH | 2104 | Inflatable Restraint Front End Sensor - Right Signal (North America) | ||||||||
15 | PU | 2103 | Inflatable Restraint Front End Sensor - Right Voltage (North America) | 15 | PU | 2103 | Inflatable Restraint Front End Discriminating Sensor - Right (North America) | ||||||||
16 | PK/BK | 1846 | Ignition 1 Voltage | 16 | PK/BK | 1846 | Ignition 1 Voltage | ||||||||
|
| ||||||||||||||
|---|---|---|---|---|---|---|---|---|---|---|---|---|---|---|---|
Connector Part Information |
| Connector Part Information |
| ||||||||||||
Pin | Wire Color | Circuit No. | Function | Pin | Wire Color | Circuit No. | Function | ||||||||
1 | PU | 709 | Left Park Lamp Supply Voltage | 1 | PU | 709 | Left Park Lamp Supply Voltage | ||||||||
2 | BK | 50 | Ground | 2 | BK | 50 | Ground | ||||||||
3 | L-BU | 14 | Left Turn Signal Lamps Supply Voltage | 3 | L-BU | 14 | Left Turn Signal Lamps Supply Voltage | ||||||||
|
| ||||||||||||||
|---|---|---|---|---|---|---|---|---|---|---|---|---|---|---|---|
Connector Part Information |
| Connector Part Information |
| ||||||||||||
Pin | Wire Color | Circuit No. | Function | Pin | Wire Color | Circuit No. | Function | ||||||||
1 | BN/WH | 309 | Right Park Lamp Supply Voltage | 1 | PU | 309 | Right Park Lamp Supply Voltage | ||||||||
2 | BK | 150 | Ground | 2 | BK | 150 | Ground | ||||||||
3 | L-BU | 15 | Right Turn Signal Lamps Supply Voltage | 3 | PU | 15 | Right Turn Signal Lamps Supply Voltage | ||||||||
|
| ||||||||||||||
|---|---|---|---|---|---|---|---|---|---|---|---|---|---|---|---|
Connector Part Information |
| Connector Part Information |
| ||||||||||||
Pin | Wire Color | Circuit No. | Function | Pin | Wire Color | Circuit No. | Function | ||||||||
1 | BK | 150 | Ground | 1 | BK | 50 | Ground | ||||||||
2 | BN/WH | 309 | Right Park Lamp Supply Voltage | 2 | D-BU | 709 | Right Park Lamp Supply Voltage | ||||||||
3 | D-GN | 189 | Headlamp Leveling Motor Supply Voltage | 3 | D-GN | 189 | Headlamp Leveling Motor Supply Voltage | ||||||||
4 | L-GN/BK | 311 | Right Headlamp High Beam Supply Voltage | 4 | RD | 711 | Right Headlamp High Beam Supply Voltage | ||||||||
5 | PU/WH | 312 | Right Headlamp Low Beam Supply Voltage | 5 | L-GN | 712 | Right Headlamp Low Beam Supply Voltage | ||||||||
6 | BK | 150 | Ground | 6 | BK/WH | 50 | Ground | ||||||||
|
| ||||||||||||||
|---|---|---|---|---|---|---|---|---|---|---|---|---|---|---|---|
Connector Part Information |
| Connector Part Information |
| ||||||||||||
Pin | Wire Color | Circuit No. | Function | Pin | Wire Color | Circuit No. | Function | ||||||||
1 | PU | 312 | Right Headlamp Low Beam Supply Voltage | 1 | L-GN | 312 | Right Headlamp Low Beam Supply Voltage | ||||||||
2 | L-GN/BK | 311 | Right Headlamp High Beam Supply Voltage | 2 | RD | 311 | Right Headlamp High Beam Supply Voltage | ||||||||
3 | BK | 150 | Ground | 3 | BK/WH | 150 | Ground | ||||||||
4 | -- | -- | Not Used | 4 | -- | -- | Not Used | ||||||||
|
| ||||||||||||||
|---|---|---|---|---|---|---|---|---|---|---|---|---|---|---|---|
Connector Part Information |
| Connector Part Information |
| ||||||||||||
Pin | Wire Color | Circuit No. | Function | Pin | Wire Color | Circuit No. | Function | ||||||||
1 | BK | 50 | Ground | 1 | BK | 50 | Ground | ||||||||
2 | PU | 709 | Left Park Lamp Supply Voltage | 2 | D-BU | 709 | Left Park Lamp Supply Voltage | ||||||||
3 | D-GN | 189 | Headlamp Leveling Motor Supply Voltage | 3 | D-GN | 189 | Headlamp Leveling Motor Supply Voltage | ||||||||
4 | D-GN/WH | 711 | Left Headlamp High Beam Supply Voltage | 4 | RD | 711 | Left Headlamp High Beam Supply Voltage | ||||||||
5 | YE | 712 | Left Headlamp Low Beam Supply Voltage | 5 | L-GN | 712 | Left Headlamp Low Beam Supply Voltage | ||||||||
6 | BK | 50 | Ground | 6 | BK/WH | 50 | Ground | ||||||||
|
| ||||||||||||||
|---|---|---|---|---|---|---|---|---|---|---|---|---|---|---|---|
Connector Part Information |
| Connector Part Information |
| ||||||||||||
Pin | Wire Color | Circuit No. | Function | Pin | Wire Color | Circuit No. | Function | ||||||||
1 | YE | 712 | Left Headlamp Low Beam Supply Voltage | 1 | L-GN | 712 | Left Headlamp Low Beam Supply Voltage | ||||||||
2 | D-GN/WH | 711 | Left Headlamp High Beam Supply Voltage | 2 | RD | 711 | Left Headlamp High Beam Supply Voltage | ||||||||
3 | BK | 50 | Ground | 3 | BK/WH | 50 | Ground | ||||||||
4 | -- | -- | Not Used | 4 | -- | -- | Not Used | ||||||||
|
| ||||||||||||||
|---|---|---|---|---|---|---|---|---|---|---|---|---|---|---|---|
Connector Part Information |
| Connector Part Information |
| ||||||||||||
Pin | Wire Color | Circuit No. | Function | Pin | Wire Color | Circuit No. | Function | ||||||||
1 | OG/BK | 469 | Low Reference | 1 | OG/BK | 469 | Low Reference | ||||||||
2 | D-BU/WH | 432 | Manifold Absolute Pressure (MAP) Sensor Signal | 2 | L-GN | 432 | Manifold Absolute Pressure (MAP) Sensor Signal | ||||||||
3 | L-BU/BK | 1688 | 5-Volt Reference | 3 | D-GN/BK | 1688 | 5-Volt Reference | ||||||||
|
| ||||||||||||||
|---|---|---|---|---|---|---|---|---|---|---|---|---|---|---|---|
Connector Part Information |
| Connector Part Information |
| ||||||||||||
Pin | Wire Color | Circuit No. | Function | Pin | Wire Color | Circuit No. | Function | ||||||||
1 | BN | 873 | Left Front Wheel Speed Sensor Signal | 1 | WH | 873 | Left Front Wheel Speed Sensor Signal | ||||||||
2 | L-BU | 830 | Left Front Wheel Speed Sensor Low Reference | 2 | BK | 830 | Left Front Wheel Speed Sensor Return | ||||||||
|
| ||||||||||||||
|---|---|---|---|---|---|---|---|---|---|---|---|---|---|---|---|
Connector Part Information |
| Connector Part Information |
| ||||||||||||
Pin | Wire Color | Circuit No. | Function | Pin | Wire Color | Circuit No. | Function | ||||||||
1 | PU | 872 | Right Front Wheel Speed Sensor Signal | 1 | WH | 872 | Right Front Wheel Speed Sensor Return | ||||||||
2 | YE | 833 | Right Front Wheel Speed Sensor Low Reference | 2 | BK | 833 | Right Front Wheel Speed Sensor Signal | ||||||||
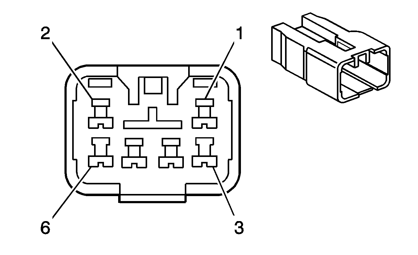
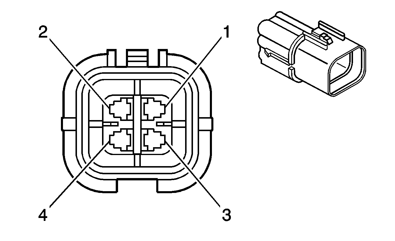
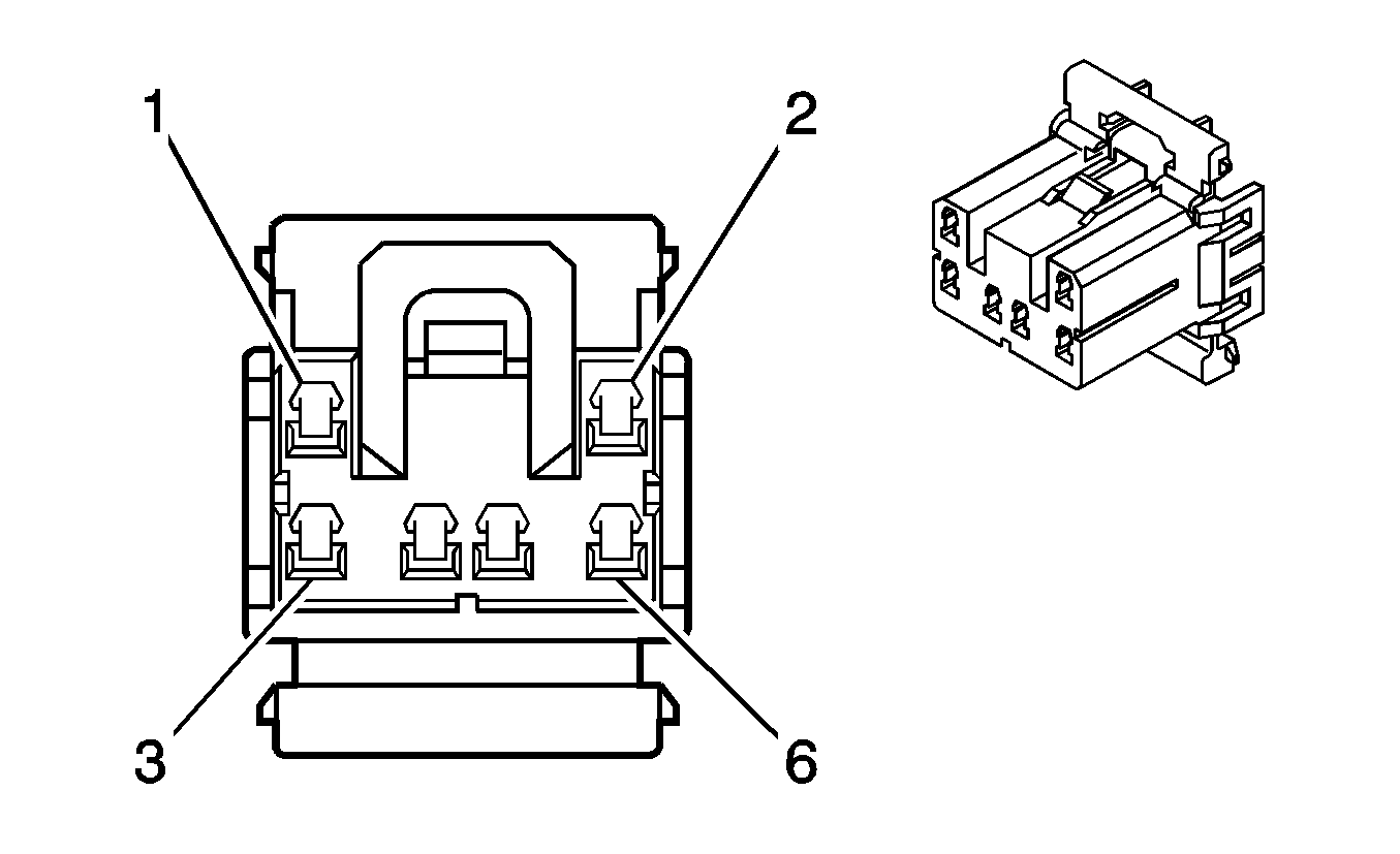
| |||||||
|---|---|---|---|---|---|---|---|
Connector Part Information |
| ||||||
Pin | Wire Color | Circuit No. | Function | ||||
1 | BN | 441 | Ignition 3 Voltage | ||||
2 | BK | 250 | Ground | ||||
3 | PK | 539 | Ignition 1 Voltage (Automatic Transmission) | ||||
PK | 539 | Ignition 1 Voltage (Automatic Transmission) | |||||
4 | BK | 250 | Ground | ||||
5 | PK | 339 | Ignition 1 Voltage | ||||
6 | PK | 239 | Ignition 1 Voltage (w/Manual A/C) | ||||
7 | PK | 239 | Ignition 1 Voltage (w/Manual A/C) | ||||
8 | PK | 239 | Ignition 1 Voltage (w/Variable Effort Steering) | ||||
9 | BK | 250 | Ground | ||||
10 | -- | -- | Not Used | ||||
11 | BN | 141 | Ignition 3 Voltage (Notchback Only w/Daytime Running Lamp (DRL) | ||||
12 | OG | 300 | Ignition 3 Voltage | ||||
13 | BN | 41 | Ignition 3 Voltage (w/Auto A/C) | ||||
14 | YE | 317 | Fog Lamp Relay Coil Supply Voltage (w/Rear Fog Lamps) (Except North America) | ||||
15 | YE | 317 | Fog Lamp Relay Coil Supply Voltage | ||||
16 | -- | -- | Not Used | ||||
17 | PK | 1139 | Ignition 1 Voltage (w/Air Bags) | ||||
18 | PK/OG | 239 | Ignition 1 Voltage (Except North America) | ||||
19 | PK | 239 | Ignition 1 Voltage (Key Interlock) | ||||
20 | PK | 239 | Ignition 1 Voltage (w/Alarm) | ||||
21 | PK | 239 | Ignition 1 Voltage (Notchback Only Daytime Running Lamp (DRL) Scandinavia) | ||||
22 | BK | 250 | Ground | ||||
23 | -- | -- | Not Used | ||||
24 | BN | 141 | Ignition 3 Voltage | ||||
25 | BN | 641 | Ignition 3 Voltage | ||||
BN | 641 | Ignition 3 Voltage | |||||
26 | YE | 317 | Fog Lamp Relay Coil Supply Voltage (w/Rear Fog Lamps) | ||||
27 | BN | 441 | Ignition 3 Voltage | ||||
28 | PK | 939 | Ignition 1 Voltage | ||||
29 | -- | -- | Not Used | ||||
30 | PK | 3 | Ignition 1 Voltage | ||||
PK | 3 | Ignition 1 Voltage | |||||
31 | PK | 239 | Ignition 1 Voltage | ||||
32 | PK | 239 | Ignition 1 Voltage (DAE) | ||||
33 | OG | 440 | Battery Positive Voltage | ||||
34 | OG | 1040 | Battery Positive Voltage | ||||
35 | BN | 41 | Ignition 3 Voltage (w/A/C) | ||||
36 | OG | 340 | Battery Positive Voltage (w/Alarm) | ||||
37 | OG | 1840 | Battery Positive Voltage | ||||
38 | YE | 317 | Fog Lamp Relay Coil Supply Voltage | ||||
39 | YE | 243 | Ignition 3 Voltage (Power Socket) | ||||
YE | 243 | Ignition 3 Voltage (Power Socket) | |||||
40 | BN | 441 | Ignition 3 Voltage | ||||
41 | OG | 140 | Battery Positive Voltage (w/Daytime Running Lamp (DRL) | ||||
42 | OG | 140 | Battery Positive Voltage | ||||
OG | 140 | Battery Positive Voltage | |||||
43 | PK | 739 | Ignition 1 Voltage (Notchback w/Cruise Control) | ||||
PK | 739 | Ignition 1 Voltage (Notchback w/Cruise Control) | |||||
BN | 739 | Ignition 1 Voltage (w/ABS) | |||||
44 | PK | 639 | Ignition 1 Voltage | ||||
45 | BK | 250 | Ground (Except North America) | ||||
46 | BK | 250 | Ground | ||||
47 | RD | 142 | Charge Indicator Control | ||||
48 | -- | -- | Not Used | ||||
49 | L-BU | 20 | Stop Lamp Switch Signal/Stop Lamp Supply Voltage | ||||
50 | L-BU | 20 | Stop Lamp Switch Signal/Stop Lamp Supply Voltage (w/Automatic Transmission) | ||||
51 | YE | 43 | Accessory Voltage | ||||
52 | YE | 43 | Accessory Voltage (w/Key Interlock) | ||||
53 | YE | 143 | Accessory Voltage | ||||
54 | PK | 639 | Ignition 1 Voltage (w/Immobilizer) | ||||
55 | PU/WH | 33 | Brake Warning Indicator Control | ||||
PU/WH | 33 | Brake Warning Indicator Control | |||||
56 | BK | 250 | Ground | ||||
57 | BK | 250 | Ground (Except North America) | ||||
58 | BK | 250 | Ground | ||||
59 | -- | -- | Not Used | ||||
60 | L-BU | 20 | Stop Lamp Supply Voltage/Stop Lamp Switch Signal | ||||
61 | L-BU | 20 | Stop Lamp Supply Voltage/Stop Lamp Switch Signal | ||||
62 | YE | 43 | Accessory Voltage (w/Key Interlock) | ||||
63 | YE | 43 | Accessory Voltage | ||||
64 | BN | 4 | Accessory Voltage | ||||
65 | OG | 140 | Battery Positive Voltage (w/Daytime Running Lamp (DRL) Scandinavian) | ||||
66 | PK | 839 | Ignition 1 Voltage (w/Automatic Transmission) | ||||
67 | PK | 839 | Ignition 1 Voltage | ||||
68 | PU/WH | 33 | Brake Warning Indicator Lamp | ||||
69 | BK | 250 | Ground (w/Dimming) | ||||
70 | BK | 250 | Ground | ||||
71 | -- | -- | Not Used | ||||
72 | OG | 1540 | Battery Positive Voltage | ||||
73 | OG | 1140 | Battery Positive Voltage | ||||
74 | OG | 40 | Battery Positive Voltage | ||||
75 | OG | 240 | Battery Positive Voltage (w/Immobilizer) | ||||
76 | L-BU | 20 | Stop Lamp Supply Voltage/Stop Lamp Switch Signal | ||||
|
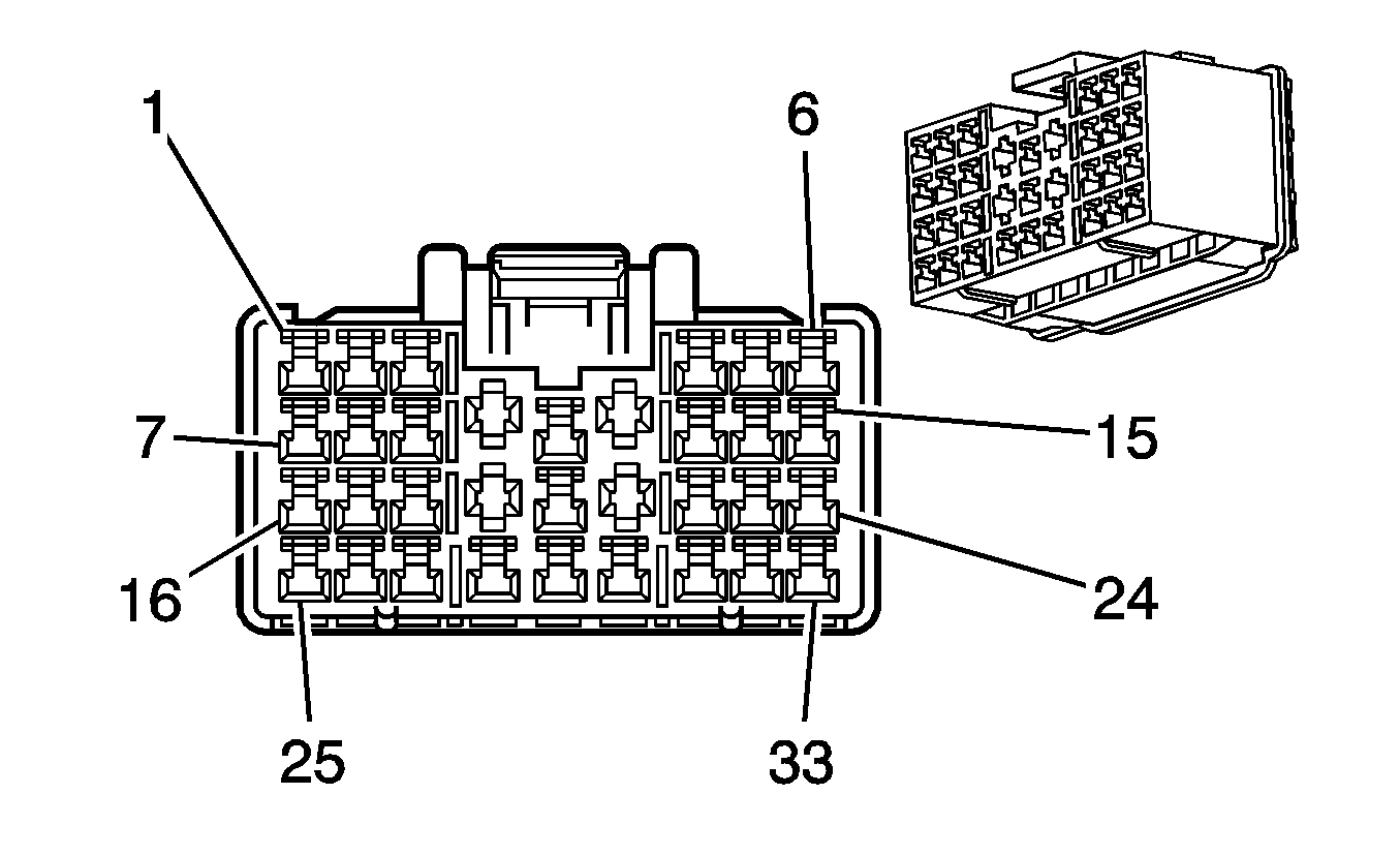
| ||||||||||||||
|---|---|---|---|---|---|---|---|---|---|---|---|---|---|---|---|
Connector Part Information |
| Connector Part Information |
| ||||||||||||
Pin | Wire Color | Circuit No. | Function | Pin | Wire Color | Circuit No. | Function | ||||||||
1 | BN | 247 | High Speed Blower Relay Control (w/Auto A/C) | 1 | BN | 247 | High Speed Blower Relay Control (w/Auto A/C) | ||||||||
BN/WH (Except North America) | |||||||||||||||
2 | WH | 193 | Rear Defog Relay Control | 2 | WH | 193 | Rear Defog Relay Control | ||||||||
WH/BK (Except North America) | |||||||||||||||
3 | D-GN | 189 | Headlamp Leveling Motor Supply Voltage (w/Headlamp Leveling) | 3 | D-GN | 189 | Headlamp Leveling Motor Supply Voltage | ||||||||
4 | GY | 161 | Antenna Module Signal | 4 | GY | 161 | Antenna Module Signal | ||||||||
5 | BN | 141 | Ignition 3 Voltage | 5 | BN | 141 | Ignition 3 Voltage | ||||||||
6 | BN | 641 | Ignition 3 Voltage | 6 | BN (Except North America) | 641 | Ignition 3 Voltage | ||||||||
BN/WH | |||||||||||||||
7 | BK/WH | 238 | Seat Belt Switch Left | 7 | BK/WH | 238 | Seat Belt Switch Left | ||||||||
8 | YE | 112 | Windshield Wiper Switch Signal 1 | 8 | YE | 112 | Windshield Wiper Switch Signal 1 | ||||||||
9 | D-GN | 135 | Engine Coolant Temperature (ECT) Sensor Gage Signal | 9 | D-GN | 135 | Engine Coolant Temperature (ECT) Sensor Gage Signal | ||||||||
10 | PU/WH | 33 | Brake Warning Indicator Control | 10 | PU/WH | 33 | Brake Warning Indicator Control | ||||||||
RD | 122 | Rear Fog Lamp Supply Voltage (Except North America) | RD | 122 | Rear Fog Lamp Supply Voltage (Except North America) | ||||||||||
11 | L-BU | 20 | Stop Lamp Switch Signal | 11 | L-BU | 20 | Stop Lamp Switch Signal | ||||||||
12 | L-GN | 483 | Serial Data (w/Alarm) | 12 | L-GN | 483 | Serial Data (w/Alarm) | ||||||||
PK/BK | 1303 | Door Switch Signal (Except North America) | PK/BK | 1303 | Door Switch Signal (Except North America) | ||||||||||
13 | BN | 25 | Charge Indicator Signal | 13 | BN | 25 | Charge Indicator Signal | ||||||||
14 | YE | 317 | Front Fog Lamp Relay Coil Supply Voltage | 14 | YE/D-GN | 317 | Front Fog Lamp Relay Coil Supply Voltage | ||||||||
15 | PU | 126 | Left Front Door Open Switch Signal | 15 | PU/WH | 126 | Left Front Door Open Switch Signal | ||||||||
16 | WH | 905 | Serial Data (w/ABS) | 16 | D-GN | 905 | Serial Data (w/ABS) | ||||||||
17 | L-BU | 14 | Left Turn Signal Lamp Supply Voltage | 17 | L-BU/BK (Except North America) | 14 | Left Turn Signal Lamp Supply Voltage | ||||||||
L-BU | |||||||||||||||
18 | OG | 340 | Battery Positive Voltage (w/Alarm) | 18 | OG | 340 | Battery Positive Voltage (w/Alarm) | ||||||||
19 | D-BU/WH | 774 | Serial Data (w/ABS) | 19 | D-BU/WH | 774 | Serial Data (w/ABS) | ||||||||
20 | D-BU | 15 | Right Turn Signal Lamps Supply Voltage | 20 | D-BU | 15 | Right Turn Signal Lamps Supply Voltage | ||||||||
21 | PU | 2000 | Serial Data | 21 | BN | 2000 | Serial Data | ||||||||
22 | L-GN | 867 | ABS Indicator Failure Control (w/ABS) | 22 | L-GN/BK | 867 | ABS Indicator Failure Control 1 (w/ABS) | ||||||||
23 | L-BU | 97 | Windshield Wiper Switch Mist/OFF/Low Signal | 23 | BN | 96 | Windshield Wiper Switch Delay Signal | ||||||||
24 | L-BU | 263 | Tamper Switch Signal (Optional) | 24 | L-BU | 263 | Tamper Switch Signal (Optional) | ||||||||
25 | D-GN | 1659 | Microphone (-) (Optional) | 25 | WH | 1659 | Microphone (-) (Optional) | ||||||||
26 | YE | 356 | Door Lock (Optional) | 26 | YE | 356 | Door Lock (Optional) | ||||||||
27 | PK/BK | 109 | Alarm Signal (Optional) | 27 | PK/BK | 109 | Alarm Signal (Optional) | ||||||||
28 | WH | 1658 | Microphone (+) (Optional) | 28 | D-BU | 1658 | Microphone (+) (Optional) | ||||||||
29 | L-GN/WH | 355 | Door Unlock (Optional) | 29 | L-GN/WH | 355 | Door Unlock (Optional) | ||||||||
30 | WH | 156 | Courtesy Lamp Control | 30 | PU | 156 | Courtesy Lamp Control | ||||||||
31 | WH | 1080 | Park Lamp Relay Control (w/Lamp Driver Control Module) | 31 | WH | 1080 | Park Lamp Relay Control | ||||||||
32 | PU/WH | 231 | Oil Pressure Switch Signal | 32 | BN/BK | 231 | Oil Pressure Switch Signal | ||||||||
PU/BK (Except North America) | PU/WH (Except North America) | 231 | Oil Pressure Daytime Running Lamp (DRL) Input (Scandinavian) | ||||||||||||
33 | D-GN/WH | 762 | A/C Request Signal (w/A/C) | 33 | D-GN/D-BU | 762 | A/C Request Signal (w/A/C) | ||||||||
34 | L-GN | 11 | Headlamp High Beam Supply Voltage | 34 | L-GN | 11 | Headlamp High Beam Supply Voltage | ||||||||
35 | BK | 28 | Horn Relay Control | 35 | BK | 28 | Horn Relay Control | ||||||||
36 | D-BU | 744 | Trunk Open Signal | 36 | D-BU | 744 | Trunk Open Signal | ||||||||
L-BU | 195 | Door Lock (Except North America) | L-BU | 195 | Door Lock (Except North America) | ||||||||||
PK/BK | 1303 | Door Switch Signal (Except North America) | PK/BK | 1303 | Door Switch Signal (Except North America) | ||||||||||
37 | -- | -- | Not Used | 36-37 | -- | -- | Not Used | ||||||||
38 | YE | 749 | Security Indicator Control (w/Immobilizer) | 38 | YE/D-GN | 749 | Security Indicator Control (w/Immobilizer) | ||||||||
39 | BN/WH | 309 | Right Park Lamp Supply Voltage | 39 | BN/BK | 309 | Right Park Lamp Supply Voltage | ||||||||
40 | OG | 540 | Battery Positive Voltage | 40 | OG/BK | 540 | Battery Positive Voltage | ||||||||
41 | PU/WH | 33 | Brake Warning Indicator Control | 41 | PU/WH | 33 | Brake Warning Indicator Control | ||||||||
42 | PK | 839 | Ignition 1 Voltage | 42 | PK | 839 | Ignition 1 Voltage | ||||||||
43 | RD | 228 | Windshield Washer Pump Control | 43 | RD | 228 | Windshield Washer Pump Control | ||||||||
44 | PU | 12 | Headlamp Low Beam Supply Voltage | 44 | PU | 12 | Headlamp Low Beam Supply Voltage | ||||||||
45 | OG | 640 | Battery Positive Voltage | 45 | OG/BK | 640 | Battery Positive Voltage | ||||||||
OG | 640 | Battery Positive Voltage | OG/BK | 640 | Battery Positive Voltage | ||||||||||
46 | BN | 641 | Ignition 3 Voltage | 46 | BN | 641 | Ignition 3 Voltage | ||||||||
BN/BK (Except North America) | |||||||||||||||
47 | BN | 441 | Ignition 3 Voltage | 47 | RD/D-BU | 441 | Ignition 3 Voltage | ||||||||
48 | PK | 639 | Ignition 1 Voltage | 48 | PK | 639 | Ignition 3 Voltage | ||||||||
49 | L-GN | 80 | Key In Ignition Switch Signal (w/Alarm) | 49 | L-GN/RD | 80 | Key In Ignition Switch Signal (w/Alarm) | ||||||||
BN | 253 | Trunk Open (Except North America) | BN | 253 | Trunk Open (Except North America) | ||||||||||
50 | YE | 243 | Accessory Voltage | 50 | YE | 243 | Accessory Voltage | ||||||||
51 | BN/WH | 419 | Malfunction Indicator Lamp (MIL) Control | 51 | BN/WH | 419 | Malfunction Indicator Lamp (MIL) Control | ||||||||
52 | RD | 1642 | Battery Positive Voltage | 52 | RD/D-GN | 1642 | Battery Positive Voltage | ||||||||
53 | YE | 5 | Crank Voltage (Except North America) | 53 | YE | 5 | Crank Voltage (Except North America) | ||||||||
PU | 5 | Crank Voltage | 5 | Crank Voltage | |||||||||||
54 | OG | 140 | Battery Positive Voltage | 54 | OG | 140 | Battery Positive Voltage | ||||||||
55 | RD | 742 | Battery Positive Voltage | 55 | RD | 742 | Battery Positive Voltage | ||||||||
56 | RD | 142 | Battery Positive Voltage | 56 | RD/D-BU | 142 | Battery Positive Voltage | ||||||||
57 | L-BU | 1346 | Headlamp Supply Voltage | 57 | L-BU | 1346 | Headlamp Supply Voltage | ||||||||
58 | PK | 539 | Ignition 1 Voltage | 58 | PK | 539 | Ignition 1 Voltage | ||||||||
59 | RD | 642 | Battery Positive Voltage | 59 | RD/WH | 642 | Battery Positive Voltage | ||||||||
60 | L-GN/BK | 735 | Ambient Air Temperature Sensor Signal (w/Auto A/C) | 60 | L-GN/BK | 735 | Ambient Air Temperature Sensor Signal | ||||||||
61 | YE | 61 | Low Reference (w/Auto A/C) | 61 | YE/D-BU | 61 | Low Reference | ||||||||
62 | PK | 739 | Ignition 1 Voltage (w/ABS) | 62 | BN | 739 | Ignition 1 Voltage (w/ABS) | ||||||||
63 | D-GN/WH | 817 | Vehicle Speed Signal | 63 | D-GN/WH | 817 | Vehicle Speed Signal | ||||||||
64 | D-GN | 392 | Rear Window Washer Pump Control | 64 | D-GN | 392 | Rear Window Washer Pump Control (Hatchback Only) | ||||||||
65 | D-GN | 95 | Windshield Washer Switch Signal | 65 | D-GN | 95 | Windshield Washer Switch Signal | ||||||||
66 | GY | 121 | Engine Speed Signal | 66 | WH | 121 | Engine Speed Signal | ||||||||
67 | PU | 92 | Windshield Wiper Motor High Speed | 67 | PU | 92 | Windshield Wiper Motor High Speed | ||||||||
68 | PU | 201 | Left Front Speaker Output (+) | 68 | PU | 201 | Left Front Speaker Output (+) | ||||||||
69 | YE | 710 | CAN Serial Data Low (w/Automatic Transmission) | 69 | YE/BN | 710 | CAN Serial Data Low | ||||||||
70 | WH | 393 | Rear Window Wiper Motor Control | 70 | WH | 393 | Rear Window Wiper Motor Control (Hatchback Only) | ||||||||
71 | L-BU | 115 | Right Rear Speaker Output (-) | 71 | L-BU | 115 | Right Rear Speaker Output (-) | ||||||||
72 | PU | 1807 | CAN Serial Data High (w/Automatic Transmission) | 72 | PU | 1807 | CAN Serial Data High | ||||||||
73 | D-GN/WH | 900 | Key Cylinder Lamp Control (Notchback Only) | 73 | D-GN/WH | 900 | Key Cylinder Lamp Control | ||||||||
74 | L-GN | 200 | Right Front Speaker Output (+) | 74 | L-GN | 200 | Right Front Speaker Output (+) | ||||||||
75 | L-GN | 24 | Backup Lamp Supply Voltage (w/Automatic Transmission) | 75 | L-GN | 24 | Backup Lamp Supply Voltage | ||||||||
76 | RD | 709 | Left Park Lamp Supply Voltage (w/Alarm) | 76 | PU/WH | 709 | Left Park Lamp Supply Voltage | ||||||||
PU | 709 | Left Park Lamp Supply Voltage (Notchback RHD) | |||||||||||||
77 | GY | 118 | Left Front Speaker Output (-) | 77 | GY/WH | 118 | Left Front Speaker Output (-) | ||||||||
78 | GY/BK | 1798 | Headlamp Relay Control | 78 | GY/BK | 1798 | Headlamp Relay Control | ||||||||
79 | -- | -- | Not Used | 79 | -- | -- | Not Used | ||||||||
BN/WH | 1201 | Left Front Speaker Output (-) (Except Notchback RHD) | BN/WH | 1201 | Left Front Speaker Output (-) (Except Notchback RHD) | ||||||||||
GY | 1118 | GY | 1118 | ||||||||||||
80 | YE | 116 | Left Rear Speaker Output (-) | 80 | YE | 116 | Left Rear Speaker Output (-) | ||||||||
81 | PU | 172 | Low Fuel Indicator Control | 81 | PU | 172 | Low Fuel Indicator Control | ||||||||
82 | -- | -- | Not Used | 82 | -- | -- | Not Used | ||||||||
GY | 1118 | Left Front Speaker Output (+) (Except Notchback RHD) | GY | 1118 | Left Front Speaker Output (+) (Except Notchback RHD) | ||||||||||
BN/WH | 1201 | BN/WH | 1201 | ||||||||||||
83 | BN | 199 | Left Rear Speaker Output (+) | 83 | BN | 199 | Left Rear Speaker Output (+) | ||||||||
84 | -- | -- | Not Used | 84 | -- | -- | Not Used | ||||||||
YE | 261 | Alarm Signal (Except North America) | YE | 261 | Alarm Signal (Except North America) | ||||||||||
85 | WH | 30 | Fuel Level Sensor Signal | 85 | WH/BK | 30 | Fuel Level Sensor Signal | ||||||||
86 | D-BU | 46 | Right Rear Speaker Output (+) | 86 | D-BU/WH | 46 | Right Rear Speaker Output (+) | ||||||||
87 | L-BU | 1738 | Variable Effort Steering Actuator Supply Voltage (w/Variable Effort Steering) | 87 | L-BU | 1738 | Variable Effort Steering Actuator Supply Voltage | ||||||||
88 | PU | 1703 | Variable Effort Steering Actuator Control | 88 | PU | 1703 | Variable Effort Steering Actuator Control | ||||||||
89 | D-GN | 117 | Right Front Speaker Output (-) | 89 | D-GN | 117 | Right Front Speaker Output (-) | ||||||||
|
| ||||||||||||||
|---|---|---|---|---|---|---|---|---|---|---|---|---|---|---|---|
Connector Part Information |
| Connector Part Information |
| ||||||||||||
Pin | Wire Color | Circuit No. | Function | Pin | Wire Color | Circuit No. | Function | ||||||||
1 | L-GN | 227 | Windshield Washer Pump Ground | 1 | L-GN | 227 | Windshield Washer Pump Ground | ||||||||
2 | D-GN | 2228 | Wiper Motor Signal | 2 | D-GN | 2228 | Wiper Motor Signal | ||||||||
3 | D-BU | 1112 | Wiper Motor Signal | 3 | D-BU | 1112 | Wiper Motor Signal | ||||||||
4 | -- | -- | Not Used | 4 | -- | -- | Not Used | ||||||||
WH | 1659 | Microphone (-) (Optional) | WH | 1659 | Microphone (-) (Optional) | ||||||||||
5 | GY | 161 | Antenna Enable Signal | 5 | GY | 161 | Antenna Motor Up | ||||||||
6 | PU | 156 | Courtesy Lamp Control | 6 | PU | 156 | Courtesy Lamp Control | ||||||||
7 | PK | 839 | Ignition 1 Voltage | 7 | PK | 839 | Ignition 1 Voltage | ||||||||
8 | YE | 112 | Windshield Wiper Switch Signal 1 | 8 | YE | 112 | Windshield Wiper Switch Signal | ||||||||
9 | RD | 228 | Windshield Washer Pump Control | 9 | RD | 228 | Windshield Washer Pump Control | ||||||||
10 | PK | 639 | Ignition 1 Voltage | 10 | RD/D-BU | 441 | Ignition 1 Voltage (Notchback RHD) | ||||||||
PK | 639 | Ignition 1 Voltage (Notchback LHD) | |||||||||||||
11 | D-GN/WH | 900 | Key Cylinder Lamp Control | 11 | D-GN/WH | 900 | Key Cylinder Lamp Control | ||||||||
12 | OG | 640 | Battery Positive Voltage | 12 | OG/BK | 640 | Battery Positive Voltage | ||||||||
13 | BN | 641 | Ignition 3 Voltage | 13 | BN/WH | 641 | Ignition 3 Voltage | ||||||||
14 | -- | -- | Not Used | 14 | -- | -- | Not Used | ||||||||
PK/BK | 1303 | Door Switch Signal | PK/BK | 1303 | Door Switch Signal | ||||||||||
D-BU | 1658 | Microphone (+) (Optional) | D-BU | 1658 | Microphone (+) (Optional) | ||||||||||
|
| ||||||||||||||
|---|---|---|---|---|---|---|---|---|---|---|---|---|---|---|---|
Connector Part Information |
| Connector Part Information |
| ||||||||||||
Pin | Wire Color | Circuit No. | Function | Pin | Wire Color | Circuit No. | Function | ||||||||
1 | GY | 161 | Antenna Signal | 1 | GY | 161 | Antenna Motor Up (Hatchback Only) | ||||||||
2 | PU | 156 | Courtesy Lamp Control | 2 | PU | 156 | Courtesy Lamp Control | ||||||||
3 | PK | 839 | Ignition 1 Voltage | 3 | PK | 839 | Ignition 1 Voltage | ||||||||
4 | D-GN/WH | 900 | Key Cylinder Lamp Control | 4 | D-GN/WH | 900 | Key Cylinder Lamp Control | ||||||||
5 | OG | 640 | Battery Positive Voltage | 5 | OG | 640 | Battery Positive Voltage | ||||||||
OG/BK (Except North America) | |||||||||||||||
6 | BN | 641 | Ignition 3 Voltage | 6 | BN/WH | 641 | Ignition 3 Voltage (Hatchback) | ||||||||
BN | 641 | Ignition 3 Voltage | BN | 641 | Ignition 3 Voltage (Notchback) | ||||||||||
7 | D-BU | 1658 | Microphone (+) (Optional) | 7 | D-BU | 1658 | Microphone (+) (Optional) | ||||||||
8 | WH | 1659 | Microphone (-) (Optional) | 8 | WH | 1659 | Microphone (-) (Optional) | ||||||||
PK/BK | 1303 | Door Switch Signal (Except North America) | PK/BK | 1303 | Door Switch Signal (Except North America) | ||||||||||
|
| ||||||||||||||
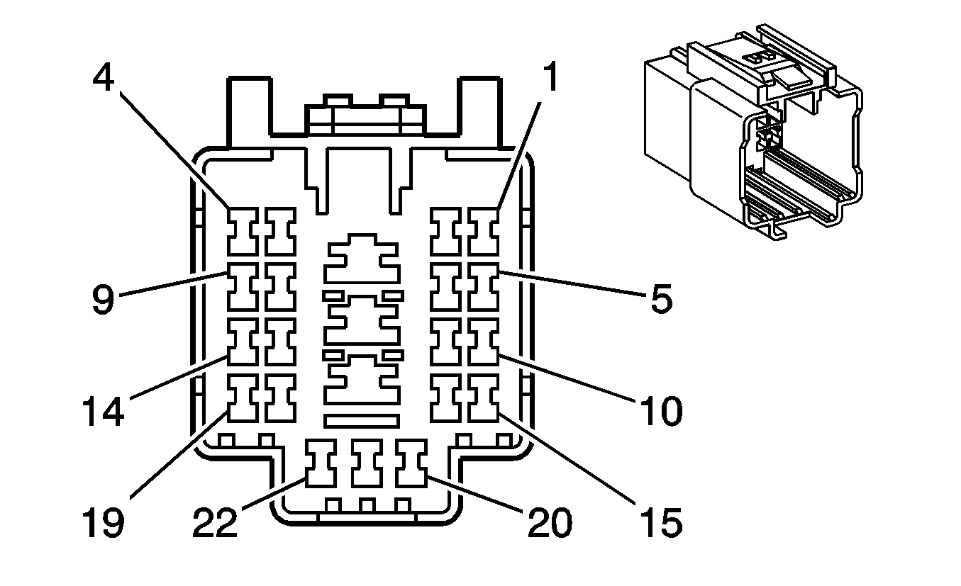
|---|---|---|---|---|---|---|---|---|---|---|---|---|---|---|---|
Connector Part Information |
| Connector Part Information |
| ||||||||||||
Pin | Wire Color | Circuit No. | Function | Pin | Wire Color | Circuit No. | Function | ||||||||
1 | D-GN/WH | 1135 | Transmission Hold Signal | 1 | D-GN/WH | 1135 | Transmission Hold Signal | ||||||||
2 | L-GN/BK | 3013 | Park/Neutral Position (PNP) Switch Drive Signal | 2 | WH | 2377 | Park/Neutral Position (PNP) Switch Drive Signal | ||||||||
3 | D-GN/WH | 817 | Vehicle Speed Signal | 3 | D-GN/WH | 817 | Vehicle Speed Signal | ||||||||
4 | YE | 710 | CAN Serial Data Low | 4 | YE | 710 | CAN Serial Data Low | ||||||||
5 | YE | 1481 | Hold Mode Indicator Control | 5 | YE | 1481 | Hold Mode Indicator Control | ||||||||
6 | L-GN/RD | 3012 | Park/Neutral Position (PNP) Switch Neutral Signal | 6 | YE | 2381 | Park/Neutral Position (PNP) Switch Neutral Signal | ||||||||
7 | BK | 250 | Ground | 7 | BK/WH | 51 | Ground | ||||||||
8 | OG/BK | 434 | Automatic Transmission Shift Lock Control | 8 | OG/BK | 434 | Automatic Transmission Shift Lock Control | ||||||||
9 | L-BU | 20 | Stop Lamp Supply Voltage/ Stop Lamp Switch Signal | 9 | L-BU | 20 | Stop Lamp Supply Voltage/ Stop Lamp Switch Signal | ||||||||
10 | -- | -- | Not Used | 10 | -- | -- | Not Used | ||||||||
11 | L-GN/RD | 3011 | Park/Neutral Position (PNP) Switch Reverse Signal | 11 | D-GN/WH | 2383 | Park/Neutral Position (PNP) Switch Reverse Signal | ||||||||
12 | PK | 539 | Ignition 1 Voltage | 12 | PK | 839 | Ignition 1 Voltage | ||||||||
13-14 | -- | -- | Not Used | 13-14 | -- | -- | Not Used | ||||||||
15 | D-GN | 2384 | Park/Neutral Position (PNP) Switch 2nd Gear Signal | 15 | PK | 2384 | Park/Neutral Position (PNP) Switch 2nd Gear Signal | ||||||||
16 | D-BU/RD | 3010 | Park/Neutral Position (PNP) Switch Park Signal | 16 | D-GN | 2382 | Park/Neutral Position (PNP) Switch Park Signal | ||||||||
17 | L-GN | 24 | Backup Lamp Supply Voltage | 17 | D-GN/WH | 24 | Backup Lamp Supply Voltage | ||||||||
18 | OG | 440 | Battery Positive Voltage | 18 | OG | 440 | Battery Positive Voltage | ||||||||
19 | PU | 2000 | Keyword Serial Data | 19 | D-BU | 2000 | Keyword Serial Data | ||||||||
20 | PK | 839 | Ignition 1 Voltage | 20 | -- | -- | Not Used | ||||||||
21 | GY | 2380 | Park/Neutral Position (PNP) Switch Low Gear Signal | 21 | GY | 2380 | Park/Neutral Position (PNP) Switch Low Gear Signal | ||||||||
22 | PU | 1807 | CAN Serial Data High | 22 | PU | 1807 | CAN Serial Data High | ||||||||
|
| ||||||||||||||
|---|---|---|---|---|---|---|---|---|---|---|---|---|---|---|---|
Connector Part Information |
| Connector Part Information |
| ||||||||||||
Pin | Wire Color | Circuit No. | Function | Pin | Wire Color | Circuit No. | Function | ||||||||
1 | D-GN/WH | 1135 | Transmission Hold Signal | 1 | D-GN/WH | 1135 | Transmission Hold Signal | ||||||||
2 | L-GN/BK | 3013 | Park/Neutral Position (PNP) Switch L4 Signal | 2 | L-GN/BK | 3013 | Park/Neutral Position (PNP) Switch L4 Signal | ||||||||
3 | D-GN/WH | 817 | Vehicle Speed Signal | 3 | D-GN/WH | 817 | Vehicle Speed Signal | ||||||||
4 | YE | 710 | CAN Serial Data Low | 4 | YE | 710 | CAN Serial Data Low | ||||||||
5 | YE | 1481 | Hold Mode Indicator Control | 5 | YE | 1481 | Hold Mode Indicator Control | ||||||||
6 | L-GN/RD | 3012 | Park/Neutral Position (PNP) Switch L3 Signal | 6 | RD/ D-BU | 3012 | Park/Neutral Position (PNP) Switch L3 Signal | ||||||||
7 | BK | 250 | Ground | 7 | BK/WH | 251 | Ground | ||||||||
8 | OG/BK | 434 | Automatic Transmission Shift Lock Control | 8 | OG/BK | 434 | Automatic Transmission Shift Lock Control | ||||||||
9 | L-BU | 20 | Stop Lamp Supply Voltage/ Stop Lamp Switch Signal | 9 | L-BU | 20 | Stop Lamp Supply Voltage/ Stop Lamp Switch Signal | ||||||||
10 | -- | -- | Not Used | 10 | -- | -- | Not Used | ||||||||
11 | L-GN/RD | 3011 | Park/Neutral Position (PNP) Switch L2 Signal | 11 | L-GN/RD | 3011 | Park/Neutral Position (PNP) Switch L2 Signal | ||||||||
12 | PK | 539 | Ignition 1 Voltage | 12 | PK | 439 | Ignition 1 Voltage | ||||||||
13-14 | -- | -- | Not Used | 13-14 | -- | -- | Not Used | ||||||||
15 | D-GN | 2384 | Park/Neutral Position (PNP) Switch 2nd Gear Signal (Except North America) | 15 | D-GN | 3017 | Transmission Mode Signal Power | ||||||||
16 | D-BU/RD | 3010 | Park/Neutral Position (PNP) Switch L1 Signal | 16 | D-BU/RD | 3010 | Park/Neutral Position (PNP) Switch L1 Signal | ||||||||
17 | L-GN | 24 | Backup Lamp Supply Voltage | 17 | L-GN | 24 | Backup Lamp Supply Voltage | ||||||||
18 | OG | 440 | Battery Positive Voltage | 18 | OG | 440 | Battery Positive Voltage | ||||||||
19 | PU | 2000 | Keyword Serial Data | 19 | BN | 2000 | Keyword Serial Data | ||||||||
20 | PK | 839 | Ignition 1 Voltage | 20 | PK | 839 | Ignition 1 Voltage | ||||||||
21 | GY | 2380 | Park/Neutral Position (PNP) Switch Low Gear Signal (Except North America) | 21 | -- | -- | Not Used | ||||||||
22 | PU | 1807 | CAN Serial Data High | 22 | PU | 1807 | CAN Serial Data High | ||||||||
|
| ||||||||||||||
|---|---|---|---|---|---|---|---|---|---|---|---|---|---|---|---|
Connector Part Information |
| Connector Part Information |
| ||||||||||||
Pin | Wire Color | Circuit No. | Function | Pin | Wire Color | Circuit No. | Function | ||||||||
1 | YE | 1139 | Ignition 1 Voltage | 1 | PK | 1139 | Ignition 1 Voltage | ||||||||
2 | BN/WH | 238 | Seat Belt Switch Left | 2 | BK/WH | 238 | Seat Belt Switch Left | ||||||||
3 | D-GN | 358 | Air Bag Indicator Control | 3 | BN | 358 | Air Bag Indicator Control | ||||||||
4 | L-BU | 327 | SIR Serial Data | 4 | L-BU | 327 | SIR Serial Data | ||||||||
5 | -- | -- | Not Used (RHD) | 5 | -- | -- | Not Used (RHD) | ||||||||
PK | 939 | Ignition 1 Voltage (LHD) | PK | 939 | Ignition 1 Voltage (LHD) | ||||||||||
6 | D-GN/WH | 1358 | Air Bag Indicator Control (North America Only) | 6 | D-GN/WH | 1358 | Air Bag Indicator Control (North America Only) | ||||||||
|
| ||||||||||||||
|---|---|---|---|---|---|---|---|---|---|---|---|---|---|---|---|
Connector Part Information |
| Connector Part Information |
| ||||||||||||
Pin | Wire Color | Circuit No. | Function | Pin | Wire Color | Circuit No. | Function | ||||||||
1 | YE | 61 | Low Reference | 1 | YE | 61 | Low Reference | ||||||||
2 | D-GN/WH | 762 | A/C Request Signal | 2 | D-GN/WH | 762 | A/C Request Signal | ||||||||
3 | D-GN | 44 | Instrument Panel Lamps Dimmer Switch Signal | 3 | D-GN | 44 | Instrument Panel Lamps Dimmer Switch Signal | ||||||||
4 | BN/WH | 309 | Right Park Lamp Supply Voltage | 4 | BN/WH | 309 | Right Park Lamp Supply Voltage | ||||||||
5 | D-GN/WH | 817 | Vehicle Speed Signal | 5 | D-GN/RD | 817 | Vehicle Speed Signal | ||||||||
6 | BN | 41 | Ignition 3 Voltage | 6 | BN | 41 | Ignition 3 Voltage | ||||||||
7 | -- | -- | Not Used | 7 | -- | -- | Not Used | ||||||||
8 | OG | 1140 | Battery Positive Voltage | 8 | OG | 1140 | Battery Positive Voltage | ||||||||
9 | L-GN/BK | 735 | Ambient Air Temperature Sensor | 9 | L-GN/BK | 735 | Ambient Air Temperature Sensor | ||||||||
10 | BN | 247 | High Speed Blower Relay Control | 10 | -- | -- | Not Used | ||||||||
11 | WH | 193 | Rear Defog Relay Control | 11 | WH | 193 | Rear Defog Relay Control | ||||||||
12 | PU | 65 | Blower Motor Feed | 12 | YE | 744 | Blower Motor Supply Voltage | ||||||||
13 | BK | 1050 | Ground | 13 | BK | 350 | Ground | ||||||||
14 | D-GN | 95 | Windshield Washer Switch Signal | 14 | D-GN | 95 | Windshield Washer Switch Signal | ||||||||
15 | -- | -- | Not Used | 15 | -- | -- | Not Used | ||||||||
|
| ||||||||||||||
|---|---|---|---|---|---|---|---|---|---|---|---|---|---|---|---|
Connector Part Information |
| Connector Part Information |
| ||||||||||||
Pin | Wire Color | Circuit No. | Function | Pin | Wire Color | Circuit No. | Function | ||||||||
1 | OG | 1140 | Battery Positive Voltage | 1 | OG | 1140 | Battery Positive Voltage | ||||||||
2 | PK/WH | 1648 | Recirculation Door Control A | 2 | PK/WH | 1648 | Recirculation Door Control A | ||||||||
3 | -- | -- | Not Used | 3 | -- | -- | Not Used | ||||||||
4 | D-GN/BK | 1647 | Recirculation Door Control B | 4 | D-GN/BK | 1647 | Recirculation Door Control B | ||||||||
5 | L-GN/BK | 735 | Ambient Air Temperature Sensor Signal | 5 | L-GN/BK | 735 | Ambient Air Temperature Sensor Signal | ||||||||
6 | D-BU/BK | 247 | High Speed Blower Relay Control | 6 | D-BU/BK | 247 | High Speed Blower Relay Control | ||||||||
7 | D-GN | 95 | Windshield Washer Switch Signal | 7 | D-GN | 95 | Windshield Washer Switch Signal | ||||||||
8 | D-GN/RD | 817 | Vehicle Speed Signal | 8 | D-GN/RD | 817 | Vehicle Speed Signal | ||||||||
9 | D-BU | 188 | Blower Motor Supply Voltage | 9 | D-BU | 188 | Blower Motor Supply Voltage | ||||||||
10 | WH | 193 | Rear Defog Relay Signal | 10 | WH | 193 | Rear Defog Relay Signal | ||||||||
11 | BN | 41 | Ignition 3 Voltage | 11 | BN | 41 | Ignition 3 Voltage | ||||||||
12 | BN/WH | 309 | Right Park Lamp Supply Voltage | 12 | BN/WH | 309 | Right Park Lamp Supply Voltage | ||||||||
13 | D-GN | 44 | Instrument Panel Lamps Dimming Control | 13 | D-GN | 44 | Instrument Panel Lamps Dimming Control | ||||||||
14 | BN/WH | 762 | A/C Request Signal | 14 | BN/WH | 762 | A/C Request Signal | ||||||||
15 | YE | 61 | Low Reference | 15 | YE | 61 | Low Reference | ||||||||
16-18 | -- | -- | Not Used | 16-18 | -- | -- | Not Used | ||||||||
19 | BK | 350 | Ground | 19 | BK | 350 | Ground | ||||||||
20 | GY/BK | 754 | Blower Motor Speed Control | 20 | GY/BK | 754 | Blower Motor Speed Control | ||||||||
|
| ||||||||||||||
|---|---|---|---|---|---|---|---|---|---|---|---|---|---|---|---|
Connector Part Information |
| Connector Part Information |
| ||||||||||||
Pin | Wire Color | Circuit No. | Function | Pin | Wire Color | Circuit No. | Function | ||||||||
1 | RD/YE | 753 | Side Impact Sensor - Driver Voltage | 1 | PK | 753 | Side Impact Sensor - Driver Voltage | ||||||||
2 | PK/WH | 714 | Side Impact Sensor - Passenger Voltage | 2 | PK/WH | 714 | Side Impact Sensor - Passenger Voltage | ||||||||
3 | PK | 1184 | Seat Belt Pretensioner - Driver Low Control | 3 | YE/D-BU | 1184 | Seat Belt Pretensioner - Driver Low Control | ||||||||
4 | BK | 754 | Side Impact Sensor - Driver Signal | 4 | BK/WH | 754 | Side Impact Sensor - Driver Signal | ||||||||
5 | BN/WH | 715 | Side Impact Sensor - Passenger Signal | 5 | BN/WH | 715 | Side Impact Sensor - Passenger Signal | ||||||||
6 | D-BU/WH | 1187 | Seat Belt Pretensioner - Passenger Low Control | 6 | RD/BK | 1187 | Seat Belt Pretensioner - Passenger Low Control | ||||||||
7 | PK/BK | 1186 | Seat Belt Pretensioner - Passenger High Control | 7 | D-BU/WH | 1186 | Seat Belt Pretensioner - Passenger High Control | ||||||||
8 | D-BU | 1185 | Seat Belt Pretensioner - Driver High Control | 8 | PU | 1185 | Seat Belt Pretensioner - Driver High Control | ||||||||
|
| ||||||||||||||
|---|---|---|---|---|---|---|---|---|---|---|---|---|---|---|---|
Connector Part Information |
| Connector Part Information |
| ||||||||||||
Pin | Wire Color | Circuit No. | Function | Pin | Wire Color | Circuit No. | Function | ||||||||
1 | PU | 2103 | Front End Sensor - Right - Voltage | 1 | PU | 2103 | Front End Sensor - Right - Voltage | ||||||||
2 | BN/BK | 2105 | Front End Sensor - Left - Voltage | 2 | BN/BK | 2105 | Front End Sensor - Left - Voltage | ||||||||
3 | RD-YE | 753 | Side Impact Sensor - Driver Voltage (w/Side Air Bags) | 3 | PK | 753 | Side Impact Sensor - Driver Voltage (w/Side Air Bags) | ||||||||
4 | PK/WH | 714 | Side Impact Sensor - Passenger Voltage (w/Side Air Bags | 4 | PK/WH | 714 | Side Impact Sensor - Passenger Voltage (w/Side Air Bags | ||||||||
5 | PK | 1184 | Seat Belt Pretensioner - Driver - Low Control | 5 | YE/D-BU | 1184 | Seat Belt Pretensioner - Driver - Low Control | ||||||||
6 | D-GN/WH | 2104 | Front End Sensor - Right - Signal | 6 | D-GN/WH | 2104 | Front End Sensor - Right - Signal | ||||||||
7 | L-GN/RD | 2106 | Front End Sensor - Left - Signal | 7 | L-GN/RD | 2106 | Front End Sensor - Left - Signal | ||||||||
8 | BK | 754 | Side Impact Sensor Driver Signal (w/Side Air Bags) | 8 | BK/WH | 754 | Side Impact Sensor Driver Signal (w/Side Air Bags) | ||||||||
9 | BN/WH | 715 | Side Impact Sensor Passenger Signal (w/Side Air Bags) | 9 | BN/WH | 715 | Side Impact Sensor Passenger Signal (w/Side Air Bags) | ||||||||
10 | D-BU/WH | 1187 | Seat Belt Pretensioner - Passenger - Low Control | 10 | RD/BK | 1187 | Seat Belt Pretensioner - Passenger - Low Control | ||||||||
11 | PK/BK | 1186 | Seat Belt Pretensioner - Passenger - High Control | 11 | D-BU/WH | 1186 | Seat Belt Pretensioner - Passenger - High Control | ||||||||
12 | D-BU | 1185 | Seat Belt Pretensioner - Driver - High Control | 12 | PU | 1185 | Seat Belt Pretensioner - Driver - High Control | ||||||||
|
| ||||||||||||||
|---|---|---|---|---|---|---|---|---|---|---|---|---|---|---|---|
Connector Part Information |
| Connector Part Information |
| ||||||||||||
Pin | Wire Color | Circuit No. | Function | Pin | Wire Color | Circuit No. | Function | ||||||||
1 | YE | 243 | Ignition 3 Voltage | 1 | YE | 243 | Ignition 3 Voltage | ||||||||
2 | BK | 1050 | Ground | 2 | BK | 1050 | Ground | ||||||||
3 | D-GN/WH | 1135 | Transmission Hold Signal | 3 | D-GN/WH | 1135 | Transmission Hold Signal | ||||||||
4 | BK | 1050 | Ground | 4 | BK | 1050 | Ground | ||||||||
5 | BN/WH | 309 | Right Park Lamp Supply Voltage | 5 | BN/WH | 309 | Right Park Lamp Supply Voltage | ||||||||
BN/WH | 309 | Right Park Lamp Supply Voltage | |||||||||||||
6 | D-GN | 44 | Instrument Panel Lamps Dimmer Switch Signal | 6 | D-GN | 44 | Instrument Panel Lamps Dimmer Switch Signal | ||||||||
D-GN | 44 | Instrument Panel Lamps Dimmer Switch Signal | |||||||||||||
|
| ||||||||||||||
|---|---|---|---|---|---|---|---|---|---|---|---|---|---|---|---|
Connector Part Information |
| Connector Part Information |
| ||||||||||||
Pin | Wire Color | Circuit No. | Function | Pin | Wire Color | Circuit No. | Function | ||||||||
1 | PU | 201 | Left Front Speaker Output (+) | 1 | PU | 201 | Left Front Speaker Output (+) | ||||||||
2 | GY/WH | 118 | Left Front Speaker Output (-) | 2 | GY/WH | 118 | Left Front Speaker Output (-) | ||||||||
3 | YE | 356 | Driver Door Lock Relay Unlock Control | 3 | WH | 356 | Driver Door Lock Relay Unlock Control | ||||||||
4 | WH | 194 | Door Unlock Control | 4 | WH | 194 | Door Unlock Control | ||||||||
5 | PU | 167 | Power Window Master Switch Passenger Front Down Signal | 5 | PU | 167 | Power Window Master Switch Passenger Front Down Signal | ||||||||
6 | L-BU | 166 | Power Window Master Switch Passenger Front Up Signal | 6 | L-BU | 166 | Power Window Master Switch Passenger Front Up Signal | ||||||||
7 | GY/BK | 90 | Passenger Mirror Motor Left Control | 7 | GY | 90 | Passenger Mirror Motor Left Control | ||||||||
8 | PU/WH | 889 | Passenger Mirror Motor Down Control | 8 | PU/WH | 889 | Passenger Mirror Motor Down Control | ||||||||
9 | RD/WH | 881 | Passenger Mirror Motor Right Control | 9 | RD/WH | 881 | Passenger Mirror Motor Right Control | ||||||||
10 | RD | 581 | Power Window Supply Voltage - Driver Door | 10 | RD | 581 | Power Window Supply Voltage - Driver Door | ||||||||
11 | L-GN/WH | 355 | Driver Door Lock Relay Lock Control | 11 | L-GN/WH | 355 | Driver Door Lock Relay Lock Control | ||||||||
12 | D-BU | 1307 | Power Window Master Switch Lockout Control | 12 | D-BU | 1307 | Power Window Master Switch Lockout Control | ||||||||
13 | L-BU | 195 | Door Lock Control | 13 | L-BU/BK | 195 | Door Lock Control | ||||||||
14 | PU/RD | 169 | Power Window Master Switch Left Rear Down Signal | 14 | PU/RD | 169 | Power Window Master Switch Left Rear Down Signal | ||||||||
15 | D-GN | 168 | Power Window Master Switch Left Rear Up Signal | 15 | D-GN | 168 | Power Window Master Switch Left Rear Up Signal | ||||||||
16 | BN | 253 | Trunk Release Relay Control | 16 | BN | 253 | Trunk Release Relay Control | ||||||||
17 | OG | 640 | Battery Positive Voltage | 17 | OG | 640 | Battery Positive Voltage | ||||||||
18 | BN/BK | 641 | Ignition 3 Voltage | 18 | BN | 141 | Ignition 3 Voltage | ||||||||
BN | |||||||||||||||
19 | BK | 1150 | Ground | 19 | BK | 1150 | Ground | ||||||||
20 | BK | 1150 | Ground | 20 | BK | 1150 | Ground | ||||||||
21 | OG | 580 | Power Window Supply Voltage | 21 | OG | 580 | Power Window Supply Voltage | ||||||||
22 | GY | 1118 | Left Speaker Output (+) Optional | 22 | D-GN | 1118 | Left Speaker Output (+) Optional | ||||||||
23 | PU/WH | 171 | Power Window Master Switch Right Rear Down Signal | 23 | PU/WH | 171 | Power Window Master Switch Right Rear Down Signal | ||||||||
24 | L-GN | 170 | Power Window Master Switch Right Rear Up Signal | 24 | L-GN | 170 | Power Window Master Switch Right Rear Up Signal | ||||||||
25 | L-GN/BK | 2231 | Folding Mirror Motor Extend Control (w/Folding Mirrors) | 25 | L-GN/BK | 2231 | Folding Mirror Motor Extend Control (w/Folding Mirrors) | ||||||||
26 | BN/WH | 2230 | Folding Mirror Motor Retract Control (w/Folding Mirrors) | 26 | BN/WH | 2230 | Folding Mirror Motor Retract Control (w/Folding Mirrors) | ||||||||
27 | OG | 267 | Heated Mirror/Rear Defog Relay Coil Supply Voltage | 27 | OG/WH | 267 | Heated Mirror/Rear Defog Relay Coil Supply Voltage | ||||||||
28 | GY | 295 | Door Lock Actuator Lock Control | 28 | GY | 295 | Door Lock Actuator Lock Control | ||||||||
29 | L-GN | 1370 | Driver Door Lock Switch Signal | 29 | L-GN | 1370 | Driver Door Lock Switch Signal | ||||||||
30 | PU/WH | 294 | Door Lock Actuator Unlock Control | 30 | PU/WH | 294 | Door Lock Actuator Unlock Control | ||||||||
31 | BN/WH | 1201 | Left Speaker Output (-) Optional | 31 | PU | 1201 | Left Speaker Output (-) Optional | ||||||||
32 | YE/GN | 749 | Security Indicator Control (w/Alarm) | 32 | YE | 749 | Security Indicator Control (w/Alarm) | ||||||||
33 | GY/RD | 2232 | Folding Mirror Switch Signal (w/Folding Mirrors) | 33 | GY/BK | 2232 | Folding Mirror Switch Signal (w/Folding Mirrors) | ||||||||
|
| ||||||||||||||
|---|---|---|---|---|---|---|---|---|---|---|---|---|---|---|---|
Connector Part Information |
| Connector Part Information |
| ||||||||||||
Pin | Wire Color | Circuit No. | Function | Pin | Wire Color | Circuit No. | Function | ||||||||
1 | PU | 201 | Left Front Speaker Output (+) | 1 | L-GN | 201 | Left Front Speaker Output (+) | ||||||||
2 | GY/WH | 118 | Left Front Speaker Output (-) | 2 | D-GN | 118 | Left Front Speaker Output (-) | ||||||||
3-4 | -- | -- | Not Used | 3 | -- | -- | Not Used | ||||||||
5 | PU | 167 | Power Window Master Switch Passenger Front Down Signal | 5 | PU | 167 | Power Window Master Switch Passenger Front Down Signal | ||||||||
6 | L-BU | 166 | Power Window Master Switch Passenger Front Up Signal | 6 | L-BU | 166 | Power Window Master Switch Passenger Front Up Signal | ||||||||
7 | GY/BK | 90 | Passenger Mirror Motor Left Control | 7 | GY/BK | 90 | Passenger Mirror Motor Left Control | ||||||||
8 | PU/WH | 889 | Passenger Mirror Motor Down Control | 8 | PU/WH | 889 | Passenger Mirror Motor Down Control | ||||||||
9 | RD/WH | 881 | Passenger Mirror Motor Right Control | 9 | RD/WH | 881 | Passenger Mirror Motor Right Control | ||||||||
10 | -- | -- | Not Used | 10 | -- | -- | Not Used | ||||||||
11 | BK | 350 | Ground (Hatchback) | 11 | BK | 350 | Ground (Hatchback) | ||||||||
BK | 1150 | Ground (Notchback) | BK | 1150 | Ground (Notchback) | ||||||||||
12 | D-BU | 1307 | Power Window Master Switch Lockout Control | 12 | D-BU | 1307 | Power Window Master Switch Lockout Control | ||||||||
13-24 | -- | -- | Not Used | 13-24 | -- | -- | Not Used | ||||||||
25 | L-GN/BK | 2231 | Folding Mirror Motor Extend Control (w/Folding Mirrors) | 25 | L-GN/BK | 2231 | Folding Mirror Motor Extend Control (w/Folding Mirrors) | ||||||||
26 | BN/WH | 2230 | Folding Mirror Motor Retract Control (w/Folding Mirrors) | 26 | BN/WH | 2230 | Folding Mirror Motor Retract Control (w/Folding Mirrors) | ||||||||
27 | OG | 267 | Heated Mirror/Rear Defog Relay Coil Supply Voltage | 27 | OG/WH | 267 | Heated Mirror/Rear Defog Relay Coil Supply Voltage | ||||||||
28 | GY | 295 | Door Lock Actuator Lock Control | 28 | GY | 295 | Door Lock Actuator Lock Control | ||||||||
29 | PU | 1371 | Passenger Door Lock Switch Signal | 29 | PU | 1371 | Passenger Door Lock Switch Signal | ||||||||
30 | PU/WH | 294 | Door Lock Actuator Unlock Control | 30 | PU/WH | 294 | Door Lock Actuator Unlock Control | ||||||||
31-33 | -- | -- | Not Used | 31-33 | -- | -- | Not Used | ||||||||
|
| ||||||||||||||
|---|---|---|---|---|---|---|---|---|---|---|---|---|---|---|---|
Connector Part Information |
| Connector Part Information |
| ||||||||||||
Pin | Wire Color | Circuit No. | Function | Pin | Wire Color | Circuit No. | Function | ||||||||
1 | L-GN | 200 | Right Front Speaker Output (+) | 1 | L-GN | 200 | Right Front Speaker Output (+) | ||||||||
2 | D-GN | 117 | Right Front Speaker Output (-) | 2 | D-GN | 117 | Right Front Speaker Output (-) | ||||||||
3-4 | -- | -- | Not Used | 3-4 | -- | -- | Not Used | ||||||||
5 | PU | 167 | Power Window Master Switch Passenger Front Down Signal | 5 | PU | 167 | Power Window Master Switch Passenger Front Down Signal | ||||||||
6 | L-BU | 166 | Power Window Master Switch Passenger Front Up Signal | 6 | L-BU | 166 | Power Window Master Switch Passenger Front Up Signal | ||||||||
7 | GY/BK | 90 | Passenger Mirror Motor Left Control | 7 | GY/BK | 90 | Passenger Mirror Motor Left Control | ||||||||
8 | PU/WH | 889 | Passenger Mirror Motor Down Control | 8 | PU/WH | 889 | Passenger Mirror Motor Down Control | ||||||||
9 | RD/WH | 881 | Passenger Mirror Motor Right Control | 9 | RD/WH | 881 | Passenger Mirror Motor Right Control | ||||||||
10 | -- | -- | Not Used | 10 | -- | -- | Not Used | ||||||||
11 | BK | 350 | Ground | 11 | BK | 350 | Ground | ||||||||
12 | D-BU | 1307 | Power Window Master Switch Lockout Control | 12 | D-BU | 1307 | Power Window Master Switch Lockout Control | ||||||||
13-24 | -- | -- | Not Used | 10 | -- | -- | Not Used | ||||||||
25 | L-GN/BK | 2231 | Folding Mirror Motor Extend Control (w/Folding Mirrors) | 25 | L-GN/BK | 2231 | Folding Mirror Motor Extend Control (w/Folding Mirrors) | ||||||||
26 | BN/WH | 2230 | Folding Mirror Motor Retract Control (w/Folding Mirrors) | 26 | BN/WH | 2230 | Folding Mirror Motor Retract Control (w/Folding Mirrors) | ||||||||
27 | OG | 267 | Heated Mirror/Rear Defog Relay Coil Supply Voltage | 27 | OG/WH | 267 | Heated Mirror/Rear Defog Relay Coil Supply Voltage | ||||||||
28 | GY | 295 | Door Lock Actuator Lock Control | 28 | GY | 295 | Door Lock Actuator Lock Control | ||||||||
29 | PU | 1371 | Driver Door Lock Switch Signal | 29 | PU | 1371 | Driver Door Lock Switch Signal | ||||||||
30 | PU/WH | 294 | Door Lock Actuator Unlock Control | 30 | PU/WH | 294 | Door Lock Actuator Unlock Control | ||||||||
31-33 | -- | -- | Not Used | 10 | -- | -- | Not Used | ||||||||
|
| ||||||||||||||
|---|---|---|---|---|---|---|---|---|---|---|---|---|---|---|---|
Connector Part Information |
| Connector Part Information |
| ||||||||||||
Pin | Wire Color | Circuit No. | Function | Pin | Wire Color | Circuit No. | Function | ||||||||
1 | PU | 200 | Right Front Speaker Output (+) | 1 | PU | 200 | Right Front Speaker Output (+) | ||||||||
2 | GY/WH | 117 | Right Front Speaker Output (-) | 2 | GY/WH | 117 | Right Front Speaker Output (-) | ||||||||
3 | YE | 356 | Driver Door Lock Relay Unlock Control | 3 | WH | 356 | Driver Door Lock Relay Unlock Control | ||||||||
4 | WH | 194 | Door Unlock Control | 4 | WH | 194 | Door Unlock Control | ||||||||
5 | PU | 167 | Power Window Master Switch Passenger Front Down Signal | 5 | PU | 167 | Power Window Master Switch Passenger Front Down Signal | ||||||||
6 | L-BU | 166 | Power Window Master Switch Passenger Front Up Signal | 6 | L-BU | 166 | Power Window Master Switch Passenger Front Up Signal | ||||||||
7 | GY/BK | 90 | Passenger Mirror Motor Left Control | 7 | GY/BK | 90 | Passenger Mirror Motor Left Control | ||||||||
8 | PU/WH | 889 | Passenger Mirror Motor Down Control | 8 | PU/WH | 889 | Passenger Mirror Motor Down Control | ||||||||
9 | RD/WH | 881 | Passenger Mirror Motor Right Control | 9 | RD/WH | 881 | Passenger Mirror Motor Right Control | ||||||||
10 | RD | 581 | Power Window Supply Voltage - Driver Door | 10 | RD | 581 | Power Window Supply Voltage - Driver Door | ||||||||
11 | L-GN/WH | 355 | Driver Door Lock Relay Lock Control | 11 | L-GN/WH | 355 | Driver Door Lock Relay Lock Control | ||||||||
BK | 350 | Ground | BK | 350 | Ground | ||||||||||
12 | D-BU | 1307 | Power Window Master Switch Lockout Control | 12 | D-BU | 1307 | Power Window Master Switch Lockout Control | ||||||||
13 | L-BU | 195 | Door Lock Control | 13 | L-BU | 195 | Door Lock Control | ||||||||
14 | PU/RD | 169 | Power Window Master Switch Left Rear Down Signal | 14 | PU/RD | 169 | Power Window Master Switch Left Rear Down Signal | ||||||||
15 | D-GN | 168 | Power Window Master Switch Left Rear Up Signal | 15 | D-GN | 168 | Power Window Master Switch Left Rear Up Signal | ||||||||
16 | BN | 253 | Trunk Release Relay Control | 16 | BN | 253 | Trunk Release Relay Control | ||||||||
17 | OG | 640 | Battery Positive Voltage | 17 | OG | 640 | Battery Positive Voltage | ||||||||
18 | BN/BK | 641 | Ignition 3 Voltage | 18 | BN | 641 | Ignition 3 Voltage | ||||||||
19 | BK | 350 | Ground | 19 | BK | 1150 | Ground | ||||||||
20 | BK | 350 | Ground | 20 | BK | 1150 | Ground | ||||||||
21 | OG | 580 | Power Window Supply Voltage | 21 | OG | 580 | Power Window Supply Voltage | ||||||||
22 | D-GN | 1118 | Left Speaker Output (+) Optional | 22 | D-GN | 1118 | Left Speaker Output (+) Optional | ||||||||
23 | PU/WH | 171 | Power Window Master Switch Right Rear Down Signal | 23 | PU/WH | 171 | Power Window Master Switch Right Rear Down Signal | ||||||||
24 | L-GN | 170 | Power Window Master Switch Right Rear Up Signal | 24 | L-GN | 170 | Power Window Master Switch Right Rear Up Signal | ||||||||
25 | L-GN/BK | 2231 | Folding Mirror Motor Extend Control (w/Folding Mirrors) | 25 | L-GN/BK | 2231 | Folding Mirror Motor Extend Control (w/Folding Mirrors) | ||||||||
26 | BN/WH | 2230 | Folding Mirror Motor Retract Control (w/Folding Mirrors) | 26 | BN/WH | 2230 | Folding Mirror Motor Retract Control (w/Folding Mirrors) | ||||||||
27 | OG | 267 | Heated Mirror/Rear Defog Relay Coil Supply Voltage | 27 | OG/WH | 267 | Heated Mirror/Rear Defog Relay Coil Supply Voltage | ||||||||
28 | GY | 295 | Door Lock Actuator Lock Control | 28 | GY | 295 | Door Lock Actuator Lock Control | ||||||||
29 | L-GN | 1370 | Driver Door Lock Switch Signal | 29 | L-GN | 1370 | Driver Door Lock Switch Signal | ||||||||
30 | PU/WH | 294 | Door Lock Actuator Unlock Control | 30 | PU/WH | 294 | Door Lock Actuator Unlock Control | ||||||||
31 | PU | 1201 | Left Speaker Output (-) Optional | 31 | PU | 1201 | Left Speaker Output (-) Optional | ||||||||
32 | YE/D-GN | 749 | Security Indicator Control (w/Alarm) | 32 | YE | 749 | Security Indicator Control (w/Alarm) | ||||||||
33 | GY/RD | 2232 | Folding Mirror Switch Signal (w/Folding Mirrors) | 33 | GY/BK | 2232 | Folding Mirror Switch Signal (w/Folding Mirrors) | ||||||||
|
| ||||||||||||||
|---|---|---|---|---|---|---|---|---|---|---|---|---|---|---|---|
Connector Part Information |
| Connector Part Information |
| ||||||||||||
Pin | Wire Color | Circuit No. | Function | Pin | Wire Color | Circuit No. | Function | ||||||||
1 | YE | 116 | Left Rear Speaker Output (-) | 1 | D-GN | 116 | Left Rear Speaker Output (-) | ||||||||
2-3 | -- | -- | Not Used | 2-3 | -- | -- | Not Used | ||||||||
4 | BN | 199 | Left Rear Speaker Output (+) | 4 | BN | 199 | Left Rear Speaker Output (+) | ||||||||
L-GN | 199 | Left Rear Speaker Output (+) (Except North America) | |||||||||||||
5 | D-GN | 168 | Power Window Master Switch Left Rear Up Signal (w/Power Windows) | 5 | D-GN | 168 | Power Window Master Switch Left Rear Up Signal (w/Power Windows) | ||||||||
6 | D-BU | 1307 | Power Window Master Switch Lockout Control (w/Power Windows) | 6 | D-BU | 1307 | Power Window Master Switch Lockout Control (w/Power Windows) | ||||||||
7 | PU/RD | 169 | Power Window Master Switch Left Rear Down Signal (w/Power Windows) | 7 | PU | 169 | Power Window Master Switch Left Rear Down Signal (w/Power Windows) | ||||||||
8 | GY | 295 | Door Lock Actuator Lock Control | 8 | GY | 295 | Door Lock Actuator Lock Control | ||||||||
9 | BK | 1250 | Ground (w/Power Windows) | 9 | BK | 1250 | Ground (w/Power Windows) | ||||||||
10 | -- | -- | Not Used | 10 | -- | -- | Not Used | ||||||||
11 | PU/WH | 294 | Door Lock Actuator Unlock Control | 11 | PU | 294 | Door Lock Actuator Unlock Control | ||||||||
PU | 294 | Door Lock Actuator Unlock Control (Except North America) | |||||||||||||
|
| ||||||||||||||
|---|---|---|---|---|---|---|---|---|---|---|---|---|---|---|---|
Connector Part Information |
| Connector Part Information |
| ||||||||||||
Pin | Wire Color | Circuit No. | Function | Pin | Wire Color | Circuit No. | Function | ||||||||
1 | L-BU | 115 | Right Rear Speaker Output (-) | 1 | D-GN | 115 | Right Rear Speaker Output (-) | ||||||||
2-3 | -- | -- | Not Used | 2-3 | -- | -- | Not Used | ||||||||
4 | D-BU/WH | 46 | Right Rear Speaker Output (+) | 4 | BN | 199 | Right Rear Speaker Output (+) | ||||||||
5 | L-GN | 170 | Power Window Master Switch Right Rear Up Signal (w/Power Windows) | 5 | D-GN | 168 | Power Window Master Switch Right Rear Up Signal (w/Power Windows) | ||||||||
6 | D-BU | 1307 | Power Window Master Switch Lockout Control (w/Power Windows) | 6 | D-BU | 1307 | Power Window Master Switch Lockout Control (w/Power Windows) | ||||||||
7 | PU/WH | 171 | Power Window Master Switch Right Rear Down Signal (w/Power Windows) | 7 | PU | 169 | Power Window Master Switch Right Rear Down Signal (w/Power Windows) | ||||||||
8 | GY | 295 | Door Lock Actuator Lock Control | 8 | GY | 295 | Door Lock Actuator Lock Control | ||||||||
9 | BK | 350 | Ground (w/Power Windows) | 9 | BK | 1250 | Ground (w/Power Windows) | ||||||||
10 | -- | -- | Not Used | 10 | -- | -- | Not Used | ||||||||
11 | PU/WH | 294 | Door Lock Actuator Unlock Control | 11 | PU | 294 | Door Lock Actuator Unlock Control | ||||||||
|
| ||||||||||||||
|---|---|---|---|---|---|---|---|---|---|---|---|---|---|---|---|
Connector Part Information |
| Connector Part Information |
| ||||||||||||
Pin | Wire Color | Circuit No. | Function | Pin | Wire Color | Circuit No. | Function | ||||||||
1 | WH | 885 | Left Rear Wheel Speed Sensor Signal | 1 | WH | 885 | Left Rear Wheel Speed Sensor Signal | ||||||||
2 | GY | 884 | Left Rear Wheel Speed Sensor Low Reference | 2 | BK | 884 | Left Rear Wheel Speed Sensor Return | ||||||||
|
| ||||||||||||||
|---|---|---|---|---|---|---|---|---|---|---|---|---|---|---|---|
Connector Part Information |
| Connector Part Information |
| ||||||||||||
Pin | Wire Color | Circuit No. | Function | Pin | Wire Color | Circuit No. | Function | ||||||||
1 | WH | 883 | Right Rear Wheel Speed Sensor Signal | 1 | WH | 883 | Right Rear Wheel Speed Sensor Signal | ||||||||
2 | GY | 882 | Right Rear Wheel Speed Sensor Low Reference | 2 | BK | 882 | Right Rear Wheel Speed Sensor Return | ||||||||
|
| ||||||||||||||
|---|---|---|---|---|---|---|---|---|---|---|---|---|---|---|---|
Connector Part Information |
| Connector Part Information |
| ||||||||||||
Pin | Wire Color | Circuit No. | Function | Pin | Wire Color | Circuit No. | Function | ||||||||
1 | L-BU/PU | 1986 | EVAP Canister Vent Solenoid Control (North America) | 1 | L-BU/PU | 1986 | EVAP Canister Vent Solenoid Control | ||||||||
2 | -- | -- | Not Used | 2 | -- | -- | Not Used | ||||||||
3 | YE | 20 | Stop Lamp Supply Voltage | 3 | L-BU | 20 | Stop Lamp Supply Voltage | ||||||||
4 | PK/BK | 1846 | Ignition 1 Voltage (North America) | 4 | PK/BK | 1846 | Ignition 1 Voltage | ||||||||
5 | D-BU | 15 | Right Turn Signal Lamp Supply Voltage | 5 | D-BU | 15 | Right Turn Signal Lamp Supply Voltage | ||||||||
6 | L-BU | 14 | Left Turn Signal Lamp Supply Voltage | 6 | L-BU/BK | 14 | Left Turn Signal Lamp Supply Voltage | ||||||||
7 | PU | 709 | Left Park Lamp Supply Voltage | 7 | PU/BK | 709 | Left Park Lamp Supply Voltage | ||||||||
PU | 709 | Left Park Lamp Supply Voltage | |||||||||||||
8 | BN/WH | 309 | Right Park Lamp Supply Voltage | 8 | BN/WH | 309 | Right Park Lamp Supply Voltage | ||||||||
BN/WH | 309 | Right Park Lamp Supply Voltage | |||||||||||||
|
| ||||||||||||||
|---|---|---|---|---|---|---|---|---|---|---|---|---|---|---|---|
Connector Part Information |
| Connector Part Information |
| ||||||||||||
Pin | Wire Color | Circuit No. | Function | Pin | Wire Color | Circuit No. | Function | ||||||||
1 | D-BU | 15 | Right Turn Signal Lamp Supply Voltage | 1 | D-BU | 15 | Right Turn Signal Lamp Supply Voltage | ||||||||
2 | BN/WH | 309 | Right Park Lamp Supply Voltage | 2 | BN/WH | 309 | Right Park Lamp Supply Voltage | ||||||||
3 | YE | 20 | Stop Lamp Supply Voltage/Stop Lamp Switch Signal | 3 | L-BU | 20 | Stop Lamp Supply Voltage/Stop Lamp Switch Signal | ||||||||
4 | PU | 709 | Left Park Lamp Supply Voltage | 4 | PU/WH | 709 | Left Park Lamp Supply Voltage | ||||||||
5 | L-BU | 14 | Left Turn Signal Lamp Supply Voltage | 5 | L-BU | 14 | Left Turn Signal Lamp Supply Voltage | ||||||||
L-BU/BK | |||||||||||||||
6 | RD | 122 | Rear Fog Lamp Supply Voltage (w/Rear Fog Lamps) | 6 | RD | 122 | Rear Fog Lamp Supply Voltage (w/Rear Fog Lamps) | ||||||||
L-BU/PU | 1986 | EVAP Canister Vent Solenoid Control (North America) | L-BU/PU | 1986 | EVAP Canister Vent Solenoid Control (North America) | ||||||||||
7 | L-GN | 24 | Backup Lamp Supply Voltage | 7 | L-GN | 24 | Backup Lamp Supply Voltage | ||||||||
8 | PK/BK | 1846 | Ignition 1 Voltage (North America) | 8 | PK/BK | 1846 | Ignition 1 Voltage (North America) | ||||||||
YE/BK | 2001 | GPS (Optional) | YE/BK | 2001 | GPS (Optional) | ||||||||||
|
| ||||||||||||||
|---|---|---|---|---|---|---|---|---|---|---|---|---|---|---|---|
Connector Part Information |
| Connector Part Information |
| ||||||||||||
Pin | Wire Color | Circuit No. | Function | Pin | Wire Color | Circuit No. | Function | ||||||||
1 | -- | -- | Not Used | 1 | -- | -- | Not Used | ||||||||
2 | L-BU | 20 | Stop Lamp Supply Voltage/Stop Lamp Switch Signal | 2 | L-BU | 20 | Stop Lamp Supply Voltage/Stop Lamp Switch Signal | ||||||||
3 | D-BU | 15 | Right Turn Signal Lamp Supply Voltage | 3 | D-BU | 15 | Right Turn Signal Lamp Supply Voltage | ||||||||
4 | L-BU | 14 | Left Turn Signal Lamp Supply Voltage | 4 | L-BU | 14 | Left Turn Signal Lamp Supply Voltage | ||||||||
5 | PU/BK | 709 | Left Park Lamp Supply Voltage | 5 | PU/BK | 709 | Left Park Lamp Supply Voltage | ||||||||
6 | BN/WH | 309 | Right Park Lamp Supply Voltage | 6 | BN/WH | 309 | Right Park Lamp Supply Voltage | ||||||||
|
| ||||||||||||||
|---|---|---|---|---|---|---|---|---|---|---|---|---|---|---|---|
Connector Part Information |
| Connector Part Information |
| ||||||||||||
Pin | Wire Color | Circuit No. | Function | Pin | Wire Color | Circuit No. | Function | ||||||||
1 | D-BU | 15 | Right Turn Signal Lamp Supply Voltage | 1 | D-BU | 15 | Right Turn Signal Lamp Supply Voltage | ||||||||
2 | BN/WH | 309 | Right Park Lamp Supply Voltage | 2 | BN/WH | 309 | Right Park Lamp Supply Voltage | ||||||||
3 | YE | 20 | Stop Lamp Supply Voltage/Stop Lamp Switch Signal | 3 | L-BU | 20 | Stop Lamp Supply Voltage/Stop Lamp Switch Signal | ||||||||
4 | PU | 709 | Left Park Lamp Supply Voltage | 4 | PU/WH | 709 | Left Park Lamp Supply Voltage | ||||||||
5 | L-BU | 14 | Left Turn Signal Lamp Supply Voltage | 5 | L-BU/BK | 14 | Left Turn Signal Lamp Supply Voltage | ||||||||
6 | RD | 122 | Rear Fog Lamp Supply Voltage (w/Rear Fog Lamps) | 6 | RD | 122 | Rear Fog Lamp Supply Voltage (w/Rear Fog Lamps) | ||||||||
7 | L-GN | 24 | Backup Lamp Supply Voltage | 7 | L-GN | 24 | Backup Lamp Supply Voltage | ||||||||
8 | L-BU/PU | 1986 | EVAP Canister Vent Solenoid Control (North America) | 8 | L-BU/PU | 1986 | EVAP Canister Vent Solenoid Control (North America) | ||||||||
9 | PK/BK | 1846 | Ignition 1 Voltage (North America) | 9 | PK/BK | 1846 | Ignition 1 Voltage (North America) | ||||||||
10 | -- | -- | Not Used | 10 | -- | -- | Not Used | ||||||||
|
| ||||||||||||||
|---|---|---|---|---|---|---|---|---|---|---|---|---|---|---|---|
Connector Part Information |
| Connector Part Information |
| ||||||||||||
Pin | Wire Color | Circuit No. | Function | Pin | Wire Color | Circuit No. | Function | ||||||||
1 | L-BU | 263 | Rear Compartment Lid Ajar Switch Signal (w/RKE) | 1 | L-BU | 263 | Rear Compartment Lid Ajar Switch Signal (w/RKE) | ||||||||
2 | L-BU | 20 | Stop Lamp Supply Voltage/Stop Lamp Switch Signal | 2 | L-BU | 20 | Stop Lamp Supply Voltage/Stop Lamp Switch Signal | ||||||||
3 | BK | 1250 | Ground | 3 | BK | 1250 | Ground | ||||||||
4 | PU | 709 | Left Park Lamp Supply Voltage | 4 | PU/BK | 709 | Left Park Lamp Supply Voltage | ||||||||
PU/WH | |||||||||||||||
5 | BN | 253 | Trunk Release Relay Control | 5 | BN | 253 | Trunk Release Relay Control | ||||||||
6 | PK/BK | 1303 | Rear Compartment Lid Ajar Switch Signal (w/RKE) | 6 | PK/BK | 1303 | Rear Compartment Lid Ajar Switch Signal (w/RKE) | ||||||||
|
| ||||||||||||||
|---|---|---|---|---|---|---|---|---|---|---|---|---|---|---|---|
Connector Part Information |
| Connector Part Information |
| ||||||||||||
Pin | Wire Color | Circuit No. | Function | Pin | Wire Color | Circuit No. | Function | ||||||||
1 | BK | 750 | Ground | 1 | BK | 750 | Ground | ||||||||
2 | BK | 750 | Ground | 2 | BK | 750 | Ground | ||||||||
3 | PU | 293 | Rear Compartment Lid Ajar Switch Signal (w/RKE) | 3 | PU | 293 | Rear Compartment Lid Ajar Switch Signal (w/RKE) | ||||||||
4 | -- | -- | Not Used | 4 | -- | -- | Not Used | ||||||||
|
| ||||||||||||||
|---|---|---|---|---|---|---|---|---|---|---|---|---|---|---|---|
Connector Part Information |
| Connector Part Information |
| ||||||||||||
Pin | Wire Color | Circuit No. | Function | Pin | Wire Color | Circuit No. | Function | ||||||||
1 | PU | 709 | Left Park Lamp Supply Voltage | 1 | PU/WH | 709 | Left Park Lamp Supply Voltage | ||||||||
2 | -- | -- | Not Used | 2 | -- | -- | Not Used | ||||||||
3 | L-GN | 24 | Backup Lamp Supply Voltage | 3 | L-GN | 24 | Backup Lamp Supply Voltage | ||||||||
L-GN | 24 | Backup Lamp Supply Voltage | |||||||||||||
4 | -- | -- | Not Used | 4 | -- | -- | Not Used | ||||||||
5 | L-BU | 20 | Stop Lamp Supply Voltage/Stop Lamp Switch Signal | 5 | L-BU | 20 | Stop Lamp Supply Voltage/Stop Lamp Switch Signal | ||||||||
6 | RD | 122 | Rear Fog Lamp Supply Voltage (w/Rear Fog Lamps) | 6 | RD | 122 | Rear Fog Lamp Supply Voltage (w/Rear Fog Lamps) | ||||||||
|
| ||||||||||||||
|---|---|---|---|---|---|---|---|---|---|---|---|---|---|---|---|
Connector Part Information |
| Connector Part Information |
| ||||||||||||
Pin | Wire Color | Circuit No. | Function | Pin | Wire Color | Circuit No. | Function | ||||||||
1 | WH | 393 | Rear Window Wiper Motor Control | 1 | WH | 393 | Rear Window Wiper Motor Control | ||||||||
2 | BN | 441 | Ignition 3 Voltage | 2 | RD/D-BU | 441 | Ignition 3 Voltage | ||||||||
3 | L-BU | 20 | Stop Lamp Supply Voltage/Stop Lamp Switch Signal | 3 | L-BU | 20 | Stop Lamp Supply Voltage/Stop Lamp Switch Signal | ||||||||
4 | PK/BK | 1303 | Liftgate Switch Signal (w/RKE) | 4 | PK/BK | 1303 | Liftgate Switch Signal (w/RKE) | ||||||||
5 | L-BU | 263 | Rear Compartment Lid Ajar Switch (w/RKE) | 5 | L-BU | 263 | Rear Compartment Lid Ajar Switch (w/RKE) | ||||||||
6 | PU | 294 | Door Lock Actuator Unlock Control | 6 | PU | 294 | Door Lock Actuator Unlock Control | ||||||||
7 | GY | 295 | Door Lock Actuator Lock Control | 7 | GY | 295 | Door Lock Actuator Lock Control | ||||||||
8 | PU | 709 | Left Park Lamp Supply Voltage | 8 | PU | 709 | Left Park Lamp Supply Voltage | ||||||||
|
| ||||||||||||||
|---|---|---|---|---|---|---|---|---|---|---|---|---|---|---|---|
Connector Part Information |
| Connector Part Information |
| ||||||||||||
Pin | Wire Color | Circuit No. | Function | Pin | Wire Color | Circuit No. | Function | ||||||||
1 | PU | 294 | Door Lock Actuator Unlock Control | 1 | PU/WH | 294 | Door Lock Actuator Unlock Control | ||||||||
2 | GY | 295 | Door Lock Actuator Lock Control | 2 | GY | 295 | Door Lock Actuator Lock Control | ||||||||
3 | L-BU | 263 | Rear Compartment Lid Ajar Switch (w/RKE) | 3 | L-BU | 263 | Rear Compartment Lid Ajar Switch (w/RKE) | ||||||||
4 | PK/BK | 1303 | Liftgate Switch Signal (w/RKE) | 4 | PK/BK | 1303 | Liftgate Switch Signal (w/RKE) | ||||||||
5 | BN | 441 | Ignition 3 Voltage | 5 | RD/D-BU | 441 | Ignition 3 Voltage | ||||||||
6 | WH | 393 | Rear Window Wiper Motor Control | 6 | WH | 393 | Rear Window Wiper Motor Control | ||||||||
7 | PU | 293 | Rear Defog Element Supply Voltage | 7 | PU | 293 | Rear Defog Element Supply Voltage | ||||||||
D-GN | |||||||||||||||
8 | -- | -- | Not Used | 8 | -- | -- | Not Used | ||||||||
|
| ||||||||||||||
|---|---|---|---|---|---|---|---|---|---|---|---|---|---|---|---|
Connector Part Information |
| Connector Part Information |
| ||||||||||||
Pin | Wire Color | Circuit No. | Function | Pin | Wire Color | Circuit No. | Function | ||||||||
1 | PU | 709 | Left Park Lamp Supply Voltage | 1 | PU | 709 | Left Park Lamp Supply Voltage | ||||||||
2 | BK | 750 | Ground | 2 | BK | 750 | Ground | ||||||||
3 | BK | 750 | Ground | 3 | BK | 750 | Ground | ||||||||
4 | L-GN | 24 | Backup Lamp Supply Voltage | 4 | L-GN | 24 | Backup Lamp Supply Voltage | ||||||||
L-GN | 24 | Backup Lamp Supply Voltage | |||||||||||||
5 | L-BU | 20 | Stop Lamp Supply Voltage | 5 | L-BU | 20 | Stop Lamp Supply Voltage | ||||||||
6 | BN | 441 | Ignition 3 Voltage | 6 | PK | 441 | Ignition 3 Voltage | ||||||||
7 | WH | 393 | Rear Window Wiper Motor Control | 7 | WH | 393 | Rear Window Wiper Motor Control | ||||||||
8 | BK | 750 | Ground | 8 | BK | 750 | Ground | ||||||||
|
| ||||||||||||||
|---|---|---|---|---|---|---|---|---|---|---|---|---|---|---|---|
Connector Part Information |
| Connector Part Information |
| ||||||||||||
Pin | Wire Color | Circuit No. | Function | Pin | Wire Color | Circuit No. | Function | ||||||||
1 | WH | 393 | Rear Window Wiper Motor Control | 1 | WH | 393 | Rear Window Wiper Motor Control | ||||||||
2 | BN | 441 | Ignition 3 Voltage | 2 | RD/BU | 441 | Ignition 3 Voltage | ||||||||
3 | L-BU | 20 | Stop Lamp Supply Voltage | 3 | L-BU | 20 | Stop Lamp Supply Voltage | ||||||||
4 | PK/BK | 1303 | Liftgate Switch Signal | 4 | PK/BK | 1303 | Liftgate Switch Signal | ||||||||
5 | L-BU | 263 | Rear Compartment Lid Ajar Switch | 5 | L-BU | 263 | Rear Compartment Lid Ajar Switch | ||||||||
6 | PU | 294 | Door Lock Actuator Unlock Control | 6 | PU | 294 | Door Lock Actuator Unlock Control | ||||||||
7 | GY | 295 | Door Lock Actuator Lock Control | 7 | GY | 295 | Door Lock Actuator Lock Control | ||||||||
8 | PU | 709 | Left Park Lamp Supply Voltage | 8 | PU | 709 | Left Park Lamp Supply Voltage | ||||||||
|
| ||||||||||||||
|---|---|---|---|---|---|---|---|---|---|---|---|---|---|---|---|
Connector Part Information |
| Connector Part Information |
| ||||||||||||
Pin | Wire Color | Circuit No. | Function | Pin | Wire Color | Circuit No. | Function | ||||||||
1 | RD | 122 | Rear Fog Lamp Supply Voltage (w/Rear Fog Lamps) | 1 | RD | 122 | Rear Fog Lamp Supply Voltage (w/Rear Fog Lamps) | ||||||||
2 | PK/BK | 1303 | Rear Compartment Lid Ajar Switch Signal (w/RKE) | 2 | PK/BK | 1303 | Rear Compartment Lid Ajar Switch Signal (w/RKE) | ||||||||
3 | D-GN | 293 | Rear Defog Element Supply Voltage | 3 | D-GN | 293 | Rear Defog Element Supply Voltage | ||||||||
PU (North America) | |||||||||||||||
4 | L-BU | 263 | Rear Compartment Lid Ajar Switch Signal (w/RKE) | 4 | L-BU | 263 | Rear Compartment Lid Ajar Switch Signal (w/RKE) | ||||||||
5 | PU | 294 | Door Unlock Actuator Control | 1 | PU | 294 | Door Unlock Actuator Control | ||||||||
6 | GY | 295 | Door Lock Actuator Control | 2 | GY | 295 | Door Lock Actuator Control | ||||||||
|
| ||||||||||||||
|---|---|---|---|---|---|---|---|---|---|---|---|---|---|---|---|
Connector Part Information |
| Connector Part Information |
| ||||||||||||
Pin | Wire Color | Circuit No. | Function | Pin | Wire Color | Circuit No. | Function | ||||||||
1 | BK | 750 | Ground | 1 | BK | 750 | Ground | ||||||||
2 | BK | 750 | Ground | 2 | BK | 750 | Ground | ||||||||
3 | PU | 293 | Rear Defog Element Supply Voltage | 3 | PU | 293 | Rear Defog Element Supply Voltage | ||||||||
4 | -- | -- | Not Used | 4 | -- | -- | Not Used | ||||||||
|
| ||||||||||||||
|---|---|---|---|---|---|---|---|---|---|---|---|---|---|---|---|
Connector Part Information |
| Connector Part Information |
| ||||||||||||
Pin | Wire Color | Circuit No. | Function | Pin | Wire Color | Circuit No. | Function | ||||||||
1 | PU | 709 | Left Park Lamp Supply Voltage | 1 | PU | 709 | Left Park Lamp Supply Voltage | ||||||||
WH/D-BU (North America) | |||||||||||||||
2 | YE | 20 | Stop Lamp Switch Signal | 2 | YE | 20 | Stop Lamp Switch Signal | ||||||||
RD (North America) | |||||||||||||||
3 | BK | 550 | Ground | 3 | BK | 550 | Ground | ||||||||
BK | 550 | Ground | |||||||||||||
4 | L-BU | 14 | Left Turn Signal Lamps Supply Voltage | 4 | YE | 14 | Left Turn Signal Lamps Supply Voltage | ||||||||
|
| ||||||||||||||
|---|---|---|---|---|---|---|---|---|---|---|---|---|---|---|---|
Connector Part Information |
| Connector Part Information |
| ||||||||||||
Pin | Wire Color | Circuit No. | Function | Pin | Wire Color | Circuit No. | Function | ||||||||
1 | BN/WH | 309 | Right Park Lamp Supply Voltage | 1 | WH/D-GN | 309 | Right Park Lamp Supply Voltage | ||||||||
2 | YE | 20 | Stop Lamp Switch Signal | 2 | RD | 20 | Stop Lamp Switch Signal | ||||||||
3 | BK | 550 | Ground | 3 | BK | 550 | Ground | ||||||||
BK/WH (North America) | 550 | Ground | |||||||||||||
4 | D-BU | 15 | Right Turn Signal Lamps Supply Voltage | 4 | YE | 15 | Right Turn Signal Lamps Supply Voltage | ||||||||
|
| ||||||||||||||
|---|---|---|---|---|---|---|---|---|---|---|---|---|---|---|---|
Connector Part Information |
| Connector Part Information |
| ||||||||||||
Pin | Wire Color | Circuit No. | Function | Pin | Wire Color | Circuit No. | Function | ||||||||
1 | PU | 709 | Left Park Lamp Supply Voltage | 1 | WH | 709 | Left Park Lamp Supply Voltage | ||||||||
2 | BK | 550 | Ground | 2 | BK | 550 | Ground | ||||||||
|
| ||||||||||||||
|---|---|---|---|---|---|---|---|---|---|---|---|---|---|---|---|
Connector Part Information |
| Connector Part Information |
| ||||||||||||
Pin | Wire Color | Circuit No. | Function | Pin | Wire Color | Circuit No. | Function | ||||||||
1 | BN/WH | 309 | Right Park Lamp Supply Voltage | 1 | WH | 309 | Right Park Lamp Supply Voltage | ||||||||
2 | BK | 550 | Ground | 2 | BK | 550 | Ground | ||||||||
|
| ||||||||||||||
|---|---|---|---|---|---|---|---|---|---|---|---|---|---|---|---|
Connector Part Information |
| Connector Part Information |
| ||||||||||||
Pin | Wire Color | Circuit No. | Function | Pin | Wire Color | Circuit No. | Function | ||||||||
1 | BK | 750 | Ground | 1 | BK/WH | 550 | Ground | ||||||||
2 | BK | 750 | Ground | 2 | BK | 550 | Ground | ||||||||
3 | L-GN | 24 | Backup Lamp Supply Voltage | 3 | WH | 24 | Backup Lamp Supply Voltage | ||||||||
4 | RD | 122 | Rear Fog Lamp Supply Voltage (Except North America) | 4 | RD | 122 | Rear Fog Lamp Supply Voltage (Except North America) | ||||||||
5 | L-BU | 20 | Stop Lamp Switch Signal | 5 | RD | 20 | Stop Lamp Switch Signal | ||||||||
6 | PU | 709 | Park Lamp | 6 | WH/D-GN | 709 | Park Lamp | ||||||||
|
| ||||||||||||||
|---|---|---|---|---|---|---|---|---|---|---|---|---|---|---|---|
Connector Part Information |
| Connector Part Information |
| ||||||||||||
Pin | Wire Color | Circuit No. | Function | Pin | Wire Color | Circuit No. | Function | ||||||||
1 | RD | 122 | Rear Fog Lamp Supply Voltage | 1 | WH | 122 | Rear Fog Lamp Supply Voltage | ||||||||
2 | BK | 550 | Ground | 2 | BK | 550 | Ground | ||||||||
BK | 550 | Ground | |||||||||||||
3 | L-GN | 24 | Backup Lamp Supply Voltage | 3 | WH | 24 | Backup Lamp Supply Voltage | ||||||||
4 | D-BU | 15 | Left Turn Signal Lamps Supply Voltage | 4 | YE | 15 | Left Turn Signal Lamps Supply Voltage | ||||||||
5 | BN/WH | 309 | Left Park Lamp Supply Voltage | 5 | WH/BK | 309 | Left Park Lamp Supply Voltage | ||||||||
6 | YE | 20 | Stop Lamp Switch Signal | 6 | RD | 20 | Stop Lamp Switch Signal | ||||||||
|
| ||||||||||||||
|---|---|---|---|---|---|---|---|---|---|---|---|---|---|---|---|
Connector Part Information |
| Connector Part Information |
| ||||||||||||
Pin | Wire Color | Circuit No. | Function | Pin | Wire Color | Circuit No. | Function | ||||||||
1 | RD | 122 | Rear Fog Lamp Supply Voltage | 1 | RD | 122 | Rear Fog Lamp Supply Voltage | ||||||||
2 | BK | 550 | Ground | 2 | BK | 550 | Ground | ||||||||
3 | L-GN | 24 | Backup Lamp Supply Voltage | 3 | WH | 24 | Backup Lamp Supply Voltage | ||||||||
4 | L-BU | 14 | Left Turn Signal Lamps Supply Voltage | 4 | L-BU | 14 | Left Turn Signal Lamps Supply Voltage | ||||||||
5 | PU | 709 | Left Park Lamp Supply Voltage | 5 | WH/D-GN | 709 | Left Park Lamp Supply Voltage | ||||||||
6 | YE | 20 | Stop Lamp Switch Signal | 6 | YE | 20 | Stop Lamp Switch Signal | ||||||||
|
| ||||||||||||||
|---|---|---|---|---|---|---|---|---|---|---|---|---|---|---|---|
Connector Part Information |
| Connector Part Information |
| ||||||||||||
Pin | Wire Color | Circuit No. | Function | Pin | Wire Color | Circuit No. | Function | ||||||||
1 | BK | 750 | Ground | 1 | BK/WH | 550 | Ground | ||||||||
2 | BK | 750 | Ground | 2 | BK | 550 | Ground | ||||||||
3 | L-GN | 24 | Backup Lamp Supply Voltage | 3 | WH | 24 | Backup Lamp Supply Voltage | ||||||||
4 | RD | 122 | Rear Fog Lamp Supply Voltage (w/Rear Fog Lamps) | 4 | RD | 122 | Rear Fog Lamp Supply Voltage (w/Rear Fog Lamps) | ||||||||
5 | L-BU | 20 | Stop Lamp Switch Signal | 5 | RD | 20 | Stop Lamp Switch Signal | ||||||||
6 | PU | 709 | Park Lamp | 6 | WH/D-GN | 709 | Park Lamp | ||||||||
|
| ||||||||||||||
|---|---|---|---|---|---|---|---|---|---|---|---|---|---|---|---|
Connector Part Information |
| Connector Part Information |
| ||||||||||||
Pin | Wire Color | Circuit No. | Function | Pin | Wire Color | Circuit No. | Function | ||||||||
1 | BK | 750 | Ground | 1 | WH | 750 | Ground | ||||||||
2 | PU | 709 | Left Park Lamp Supply Voltage | 2 | BK | 709 | Left Park Lamp Supply Voltage | ||||||||
|
| ||||||||||||||
|---|---|---|---|---|---|---|---|---|---|---|---|---|---|---|---|
Connector Part Information |
| Connector Part Information |
| ||||||||||||
Pin | Wire Color | Circuit No. | Function | Pin | Wire Color | Circuit No. | Function | ||||||||
1 | PU | 709 | Left Park Lamp Supply Voltage | 1 | BK | 709 | Left Park Lamp Supply Voltage | ||||||||
2 | BK | 1250 | Ground | 2 | WH | 1250 | Ground | ||||||||
|
| ||||||||||||||
|---|---|---|---|---|---|---|---|---|---|---|---|---|---|---|---|
Connector Part Information |
| Connector Part Information |
| ||||||||||||
Pin | Wire Color | Circuit No. | Function | Pin | Wire Color | Circuit No. | Function | ||||||||
1 | BK | 650 | Ground | 1 | BK | 650 | Ground | ||||||||
2 | BK | 650 | Ground | 2 | BK | 650 | Ground | ||||||||
3 | BK | 650 | Ground | 3 | BK | 650 | Ground | ||||||||
4 | PU | 709 | Left Park Lamp Supply Voltage | 4 | PU | 709 | Left Park Lamp Supply Voltage | ||||||||
5 | L-BU | 20 | Stop Lamp Switch Signal | 5 | L-BU | 20 | Stop Lamp Switch Signal | ||||||||
6 | L-GN | 24 | Backup Lamp Supply Voltage | 6 | L-GN | 24 | Backup Lamp Supply Voltage | ||||||||
7 | L-BU | 14 | Left Turn Signal Lamp Supply Voltage | 7 | L-BU | 14 | Left Turn Signal Lamp Supply Voltage | ||||||||
8 | RD | 122 | Rear Fog Lamp Supply Voltage | 8 | RD | 122 | Rear Fog Lamp Supply Voltage | ||||||||
|
| ||||||||||||||
|---|---|---|---|---|---|---|---|---|---|---|---|---|---|---|---|
Connector Part Information |
| Connector Part Information |
| ||||||||||||
Pin | Wire Color | Circuit No. | Function | Pin | Wire Color | Circuit No. | Function | ||||||||
1 | BK | 550 | Ground | 1 | BK | 550 | Ground | ||||||||
2 | BK | 550 | Ground | 2 | BK | 550 | Ground | ||||||||
3 | BK | 550 | Ground | 3 | BK | 550 | Ground | ||||||||
4 | BN/WH | 309 | Left Park Lamp Supply Voltage | 4 | BN/WH | 309 | Left Park Lamp Supply Voltage | ||||||||
5 | L-BU | 20 | Stop Lamp Switch Signal | 5 | L-BU | 20 | Stop Lamp Switch Signal | ||||||||
6 | L-GN | 24 | Backup Lamp Supply Voltage | 6 | L-GN | 24 | Backup Lamp Supply Voltage | ||||||||
7 | D-BU | 15 | Left Turn Signal Lamp Supply Voltage | 7 | D-BU | 15 | Left Turn Signal Lamp Supply Voltage | ||||||||
8 | RD | 122 | Rear Fog Lamp Supply Voltage | 8 | RD | 122 | Rear Fog Lamp Supply Voltage | ||||||||
|
| ||||||||||||||
|---|---|---|---|---|---|---|---|---|---|---|---|---|---|---|---|
Connector Part Information |
| Connector Part Information |
| ||||||||||||
Pin | Wire Color | Circuit No. | Function | Pin | Wire Color | Circuit No. | Function | ||||||||
1 | PU | 709 | Left Park Lamp Supply Voltage | 1 | WH | 709 | Left Park Lamp Supply Voltage | ||||||||
2 | BK | 650 | Ground | 2 | BK | 650 | Ground | ||||||||
|
| ||||||||||||||
|---|---|---|---|---|---|---|---|---|---|---|---|---|---|---|---|
Connector Part Information |
| Connector Part Information |
| ||||||||||||
Pin | Wire Color | Circuit No. | Function | Pin | Wire Color | Circuit No. | Function | ||||||||
1 | BN/WH | 309 | Right Park Lamp Supply Voltage | 1 | WH | 309 | Right Park Lamp Supply Voltage | ||||||||
2 | BK | 550 | Ground | 2 | BK | 550 | Ground | ||||||||