GM Service Manual Online
For 1990-2009 cars only

Info - Removal Of The PWM Filter From The Spacer Plate - 4T40E/4T45E Auto Trans.

Subject:Removal Of The PWM Filter From The Spacer Plate - 4T40E/4T45E Automatic Transmission

Models:1998-2000 Chevrolet Cavalier, Malibu
1998-1999 Oldsmobile Cutlass
1999-2000 Oldsmobile Alero
1998-2000 Pontiac Sunfire
1999-2000 Pontiac Grand Am
1999-2000 Daewoo Lanos, Nubira
1999-2000 Toyota Cavalier
with 4T40E or 4T45E Automatic Transmission (RPOs MN4, MN5)



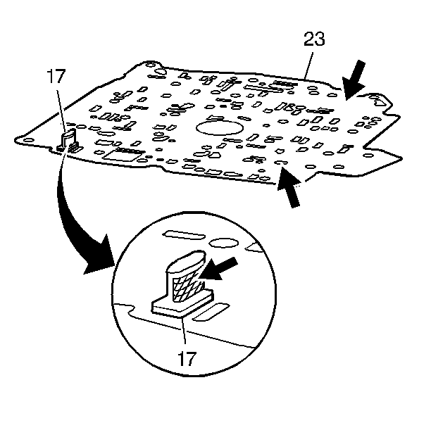
The PWM filter (Item 17), which snaps into the spacer plate, has been eliminated. The use of a filter in this location is redundant. The PWM has its own filter located on the solenoid. Below are pictures of the spacer plate and the filter location on the spacer plate.


Object Number: 25528  Size: SH

The PWM filter which was located in the spacer plate has been removed from GM SPO inventory and is no longer available.