GM Service Manual Online
For 1990-2009 cars only
Figure 1:

Right Side of the Instrument Panel


Object Number: 602076  Size: LF
(1)Wiper Switch Connector
(2)Turn Signal/Headlamp Switch connectors
(3)Passlock Sensor Connector
(4)Turn Signal/Headlamp Switch Assembly
(5)Wiper Switch Assembly
Figure 2:

Behind the Left Side of the Instrument Panel


Object Number: 617957  Size: LF
(1)Body Control Module (BCM)
(2)Inverter Module
(3)IP Fuse Block
Figure 3:

Right Side of the Instrument Panel


Object Number: 602075  Size: LF
(1)Power Mirror Switch Connector
(2)Instrument Cluster Connector
(3)Dimmer Switch, Fog Lamp Switch and Rear Defog Switch Assembly
(4)Hazard Switch Assembly
Figure 4:

Headliner


Object Number: 577931  Size: LF
(1)Courtesy Reading Lamp - Right
(2)Courtesy Reading Lamp Switch - Right
(3)C202
(4)Courtesy Reading Lamp Switch -- Left
(5)Coutesy Reading Lamp -- Left
(6)Dome Lamp Assembly
Figure 5:

Rearview Mirror Lamps


Object Number: 577933  Size: LF
(1)Rearview Mirror Reading Lamps
Figure 6:

Rear Package Shelf


Object Number: 545622  Size: LF
(1)Speaker -- LR
(2)Rear Compartment Lamp Switch
(3)Speaker -- RR
(4)Center High Mounted Stop Lamps (CHMSL)
Figure 7:

Rear Package Shelf


Object Number: 600091  Size: LF
(1)Rear Compartment Lamp
(2)Rear Compartment Lamp/Switch Connector
Figure 8:

In Front of the Engine Compartment


Object Number: 600088  Size: LF
(1)Headlamp Bulb Connector
(2)Headlamp Assembly
Figure 9:

Under Center Console


Object Number: 600094  Size: LF
(1)Shift Indicator Lamp
Figure 10:

Left Side of the Instrument Panel


Object Number: 602079  Size: LF
(1)C202
(2)Instrument Panel Compartment Striker Plate
(3)Instrument Panel Compartment Lamp/Switch Assembly
Figure 11:

License Lamp


Object Number: 619753  Size: LF
Figure 12:

Backup Lamps


Object Number: 619755  Size: LF
Figure 13:

Fog Lamp Relay


Object Number: 619812  Size: LF
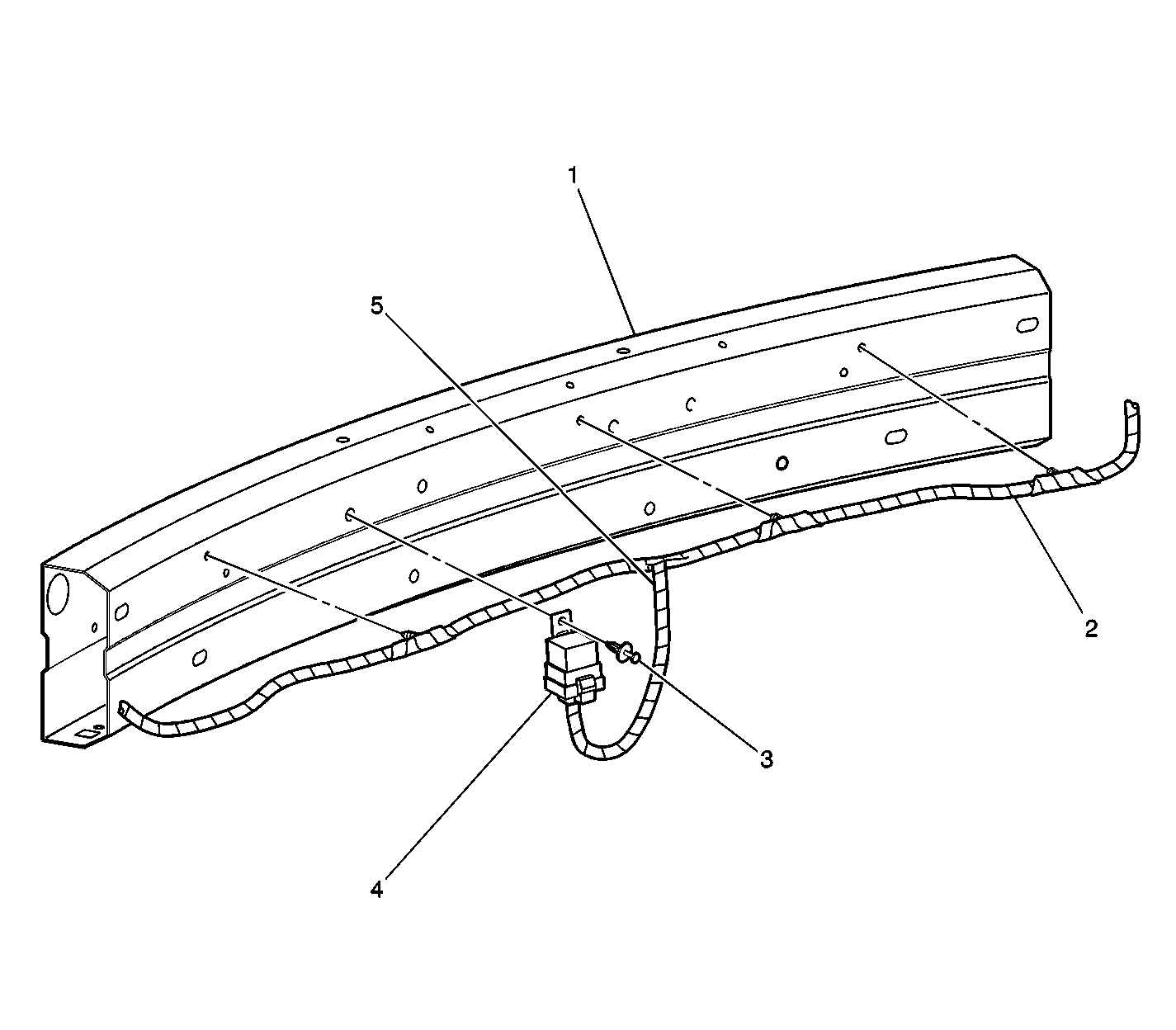
Figure 14:

Park/Fog Lamp Connectors


Object Number: 619828  Size: LF
Figure 15:

Auxiliary Side Marker


Object Number: 591184  Size: SH