GM Service Manual Online
For 1990-2009 cars only
Figure 1:

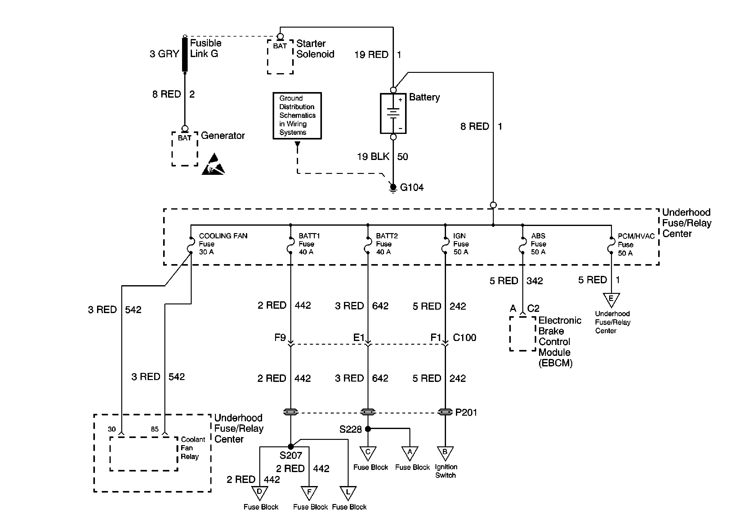
Cooling Fan, BATT1, BATT2, IGN, PCM/HVAC and ABS Fuses


Object Number: 574019  Size: FS
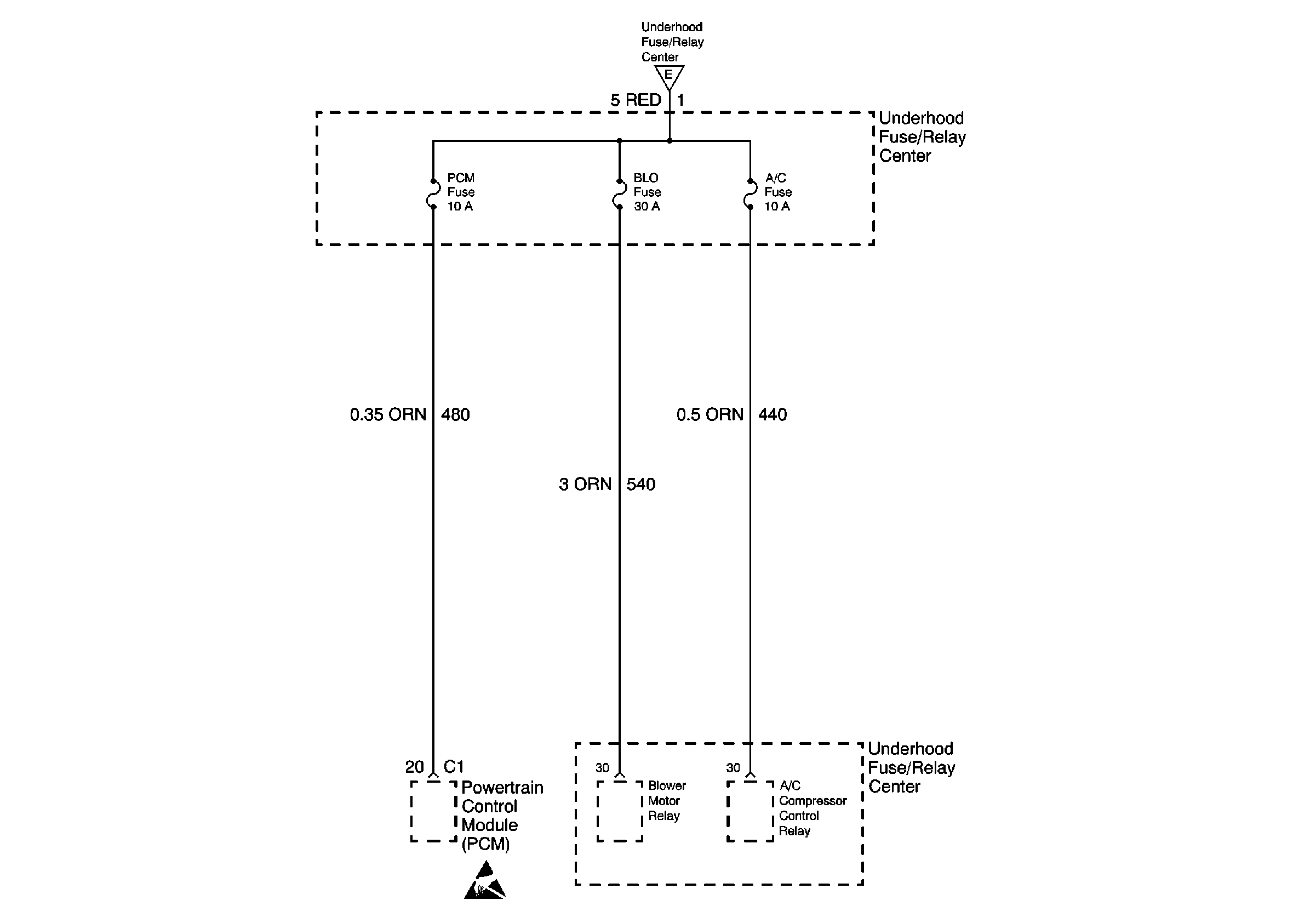
Figure 2:

PCM, BLO and A/C Fuses


Object Number: 574021  Size: FS
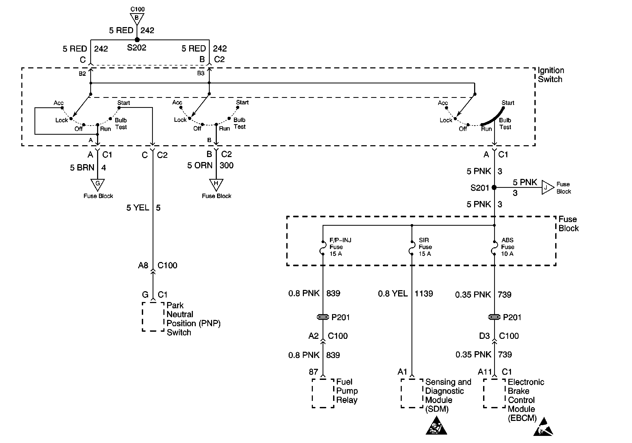
Figure 3:

F/P-INJ, SIR, ABS Fuses and Ignition Switch


Object Number: 574022  Size: FS
Figure 4:

TURN-B/U, IGN, PCM/IGN and BCM/CLSTR Fuses


Object Number: 574024  Size: FS
Figure 5:

ERLS Fuse


Object Number: 574028  Size: FS
Figure 6:

BCM and WIPER Fuses


Object Number: 574030  Size: FS
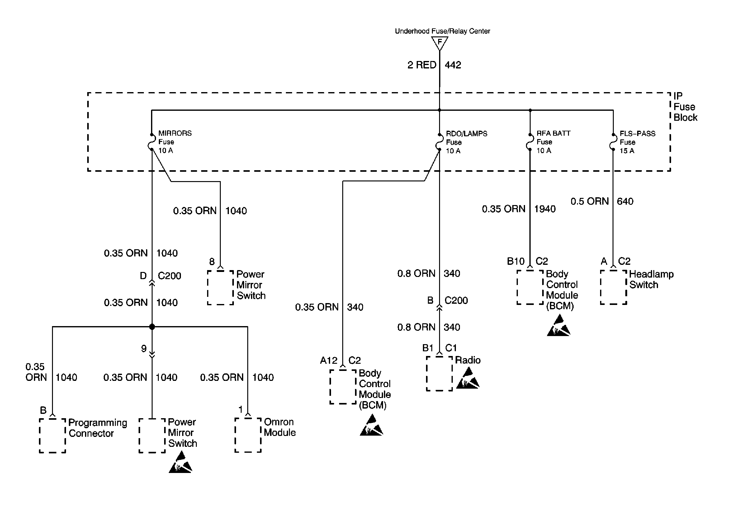
Figure 7:

MIRRORS, RDO/LAMPS, RFA BATT and FLS--PASS Fuses


Object Number: 574033  Size: FS
Figure 8:

CB HDLP, CIG, HORN, CLU BATT, EXT LP and FOG LP Fuses


Object Number: 574041  Size: FS
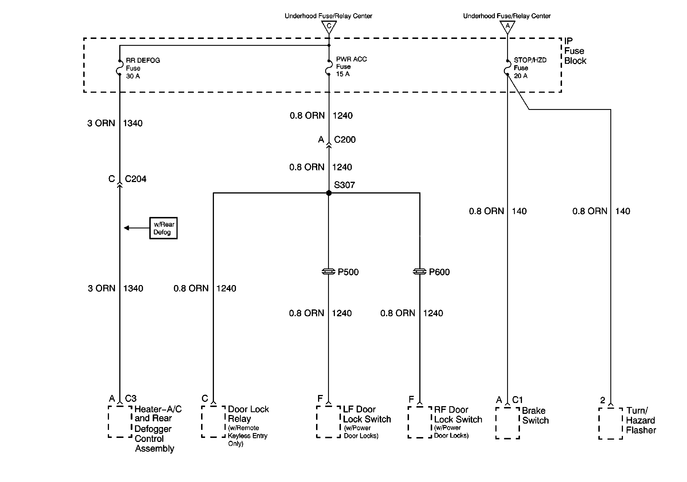
Figure 9:

RR DEFOG, PWR ACC and STOP/HAZ Fuses


Object Number: 574043  Size: FS
Figure 10:

HVAC, O2 HTR and PWR WDO/SUNROOF Fuses


Object Number: 574048  Size: FS