GM Service Manual Online
For 1990-2009 cars only

Removal Procedure


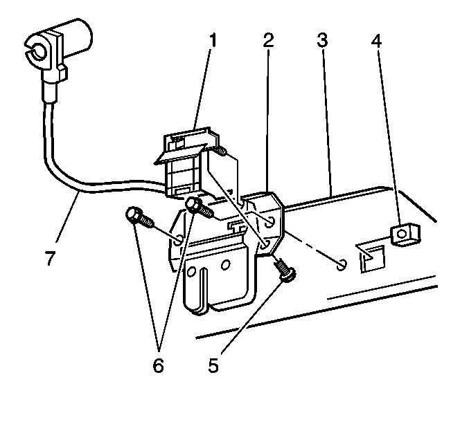
    Object Number: 581950  Size: SH
  1. Remove the rear compartment lid latch assembly mounting screws (6).

  2. Object Number: 283998  Size: SH
  3. Remove the rear compartment lid lock cylinder retainer (4) from the lock cylinder (1).
  4. Remove the rear compartment lid lock cylinder (1).

  5. Object Number: 581950  Size: SH
  6. Remove the rear compartment lid latch assembly (2) from the vehicle.

Installation Procedure


    Object Number: 581950  Size: SH
  1. Install the rear compartment lid latch assembly  (2) to the vehicle.
  2. Notice: Use the correct fastener in the correct location. Replacement fasteners must be the correct part number for that application. Fasteners requiring replacement or fasteners requiring the use of thread locking compound or sealant are identified in the service procedure. Do not use paints, lubricants, or corrosion inhibitors on fasteners or fastener joint surfaces unless specified. These coatings affect fastener torque and joint clamping force and may damage the fastener. Use the correct tightening sequence and specifications when installing fasteners in order to avoid damage to parts and systems.

  3. Install the rear compartment lid assembly mounting screws (6).
  4. Tighten
    Tighten the screws to 2 N·m (24 lb in).


    Object Number: 283998  Size: SH
  5. Install the rear compartment lid lock cylinder (1).
  6. Install the rear compartment lid lock cylinder retainer (4) to the lock cylinder (1).
  7. Inspect the operation of the latch assembly.